Котел ATON АОГВ-25ЕМ - инструкция пользователя по применению, эксплуатации и установке на русском языке. Мы надеемся, она поможет вам решить возникшие у вас вопросы при эксплуатации техники.
Если остались вопросы, задайте их в комментариях после инструкции.
"Загружаем инструкцию", означает, что нужно подождать пока файл загрузится и можно будет его читать онлайн. Некоторые инструкции очень большие и время их появления зависит от вашей скорости интернета.

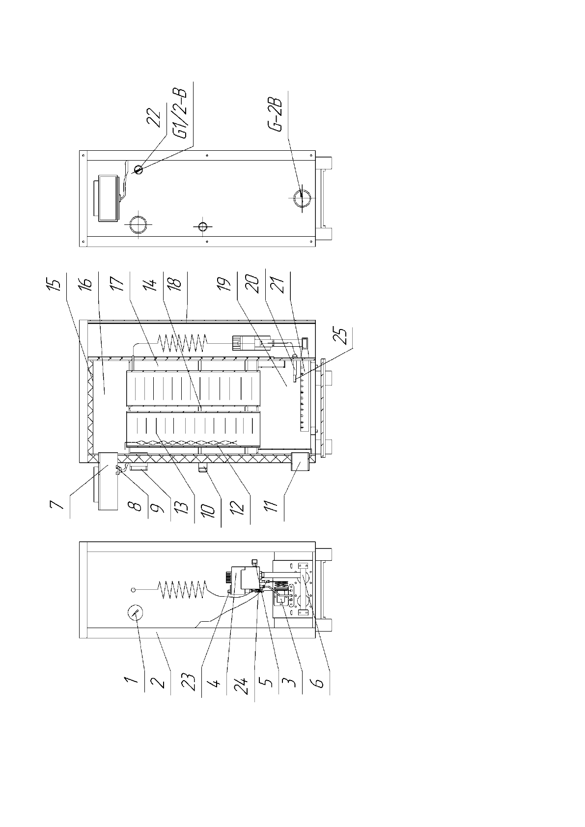
17
-
те
пл
оо
бм
ен
ни
к;
18
-
двер
ка;
19
-к
ам
ер
а
сг
ор
ан
ие
;
20
-п
ил
от
на
я
горе
лка
;
21
-ос
нов
на
я
горе
лка
;
22
-от
вод
ны
й
па
труб
ок
горя
че
го
во
до
сн
аб
ж
ен
ия
;
23
-
пъ
ез
окн
оп
ка
;
24
-
тер
мо
пар
а;
25
-и
скров
ой
эл
ект
род
.
Ри
сун
ок
1
-
С
хе
ма
кот
ла
А
О
ГВ
-**Е
В
9
-в
од
оот
вод
ны
й
па
труб
ок;
10
-
под
вод
ящ
ий
п
ат
руб
ок
горя
че
го
во
до
сн
аб
ж
ен
ия
;
11
-
вод
оп
од
вод
ящ
ий
п
ат
руб
ок;
12
-н
асад
ки
;
13
-к
ан
ал
ы
теп
ло
об
мен
ни
ка;
14
-
зм
ееви
к;
15
-
те
пл
ои
зо
ля
ци
я;
16
-кол
ект
ор
прод
укт
ов
с
гора
ни
я;
1
-
ук
аз
ат
ел
я
тем
пер
ат
ур
ы;
2
-
кож
ух
с
де
кора
ти
вн
ы
м
покры
ти
ем
;
3
-с
мот
ров
ое
е
окн
о;
4
-г
аз
овый
к
лап
ан
;
5
-
га
зоп
од
вод
ящ
ий
п
ат
руб
ок;
6
-кол
ект
ор
с
форс
ун
ка
ми
;
7
-
па
труб
ок
дл
я
от
вод
а
прод
укт
ов
сг
ор
ан
ия
;
8
-д
атч
ик
тя
ги
;
19
Содержание
- 7 ТЕХНИЧЕСКИЕ ХАРАКТЕРИСТИКИ
- 8 КОМПЛЕКТ ПОСТАВКИ
- 9 УКАЗАНИЯ МЕР БЕЗОПАСНОСТИ
- 10 КОНСТРУКЦИЯ И РАБОТА КОТЛА
- 11 ПОРЯДОК УСТАНОВКИ
- 12 ПОДГОТОВКА К РАБОТЕ
- 14 ВОЗМОЖНЫЕ НЕИСПРАВНОСТИ И МЕТОДЫ ИХ УСТРАНЕНИЯ
- 19 СВИДЕТЕЛЬСТВО О ПРИЕМКЕ; Дата изготовления
- 30 Приложение А
- 31 Приложение Б
- 34 Приложение В; История оборудования в течение всего срока эксплуатации.; Этот лист заполняется инженером Сервисного центра. Он является; Дата
- 35 Республика Беларусь













