Котел Arderia S40 - инструкция пользователя по применению, эксплуатации и установке на русском языке. Мы надеемся, она поможет вам решить возникшие у вас вопросы при эксплуатации техники.
Если остались вопросы, задайте их в комментариях после инструкции.
"Загружаем инструкцию", означает, что нужно подождать пока файл загрузится и можно будет его читать онлайн. Некоторые инструкции очень большие и время их появления зависит от вашей скорости интернета.

12
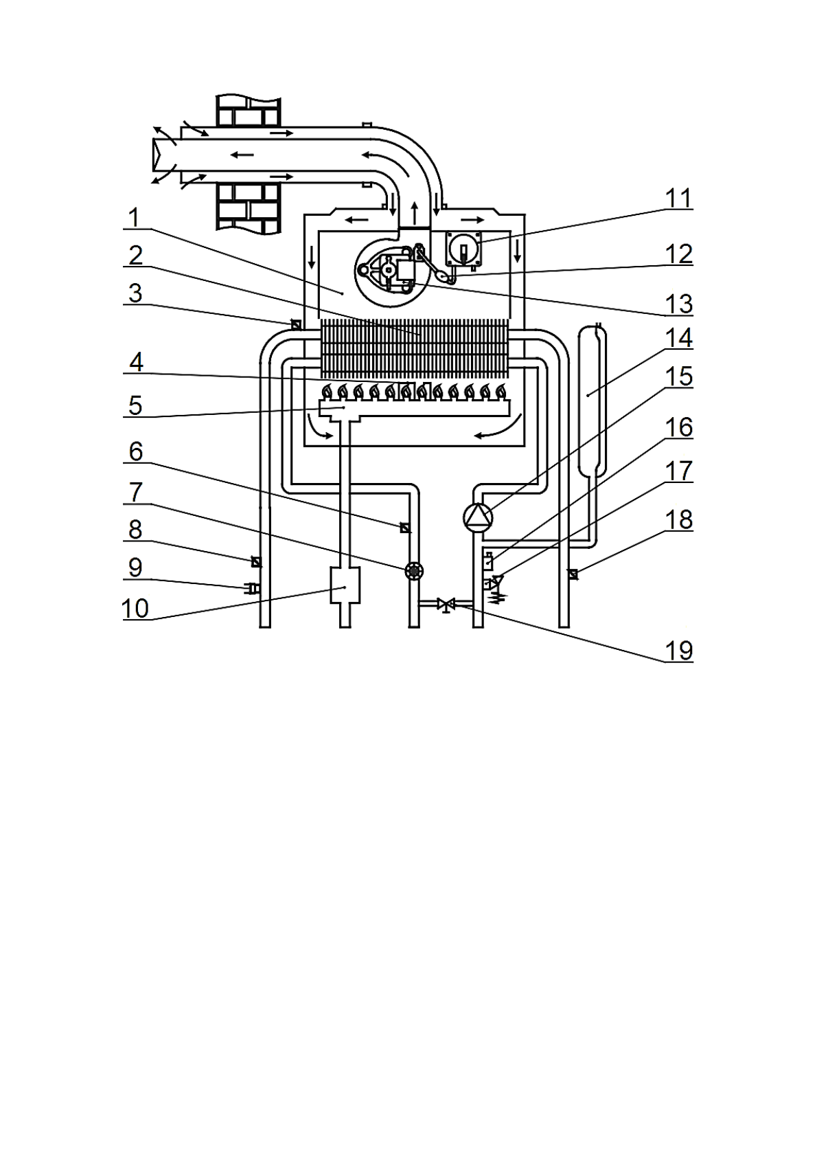
4.2 Устройство и основные элементы котла.
Рис. 1 Функциональная схема котла серии Arderia B.
1.
Камера сгорания (закрытого типа)
11.
Датчик давления воздуха (APS),
маностат
2.
Битермический теплообменник
«два в одном»
12.
Конденсатосборник
3.
Датчик по перегреву ОВ (STB),
предохранительный термостат
13.
Вентилятор (дымосос)
4.
Электроды розжига и ионизации
14.
Расширительный бак (экспанзомат)
5.
Горелка
15.
Циркуляционный насос
6.
Датчик температуры ХВС (NTC)
16.
Автоматический воздухоотводчик
7.
Датчик расхода ГВС «турбинка»
17.
Автоматический предохранительный
клапан сброса давления ОВ (3 бара)
8.
Датчик температуры ОВ (NTC)
18.
Датчик температуры ГВС (NTC)
9.
Датчик давления ОВ (0,5 бар)
19.
Кран подпитки СО
10.
Газовая арматура (газовые клапана)
Выход ОВ
(подача)
Газ
Выход
ГВС
Вход
ХВС
Вход ОВ
(обратка)