Котел Arderia D32 - инструкция пользователя по применению, эксплуатации и установке на русском языке. Мы надеемся, она поможет вам решить возникшие у вас вопросы при эксплуатации техники.
Если остались вопросы, задайте их в комментариях после инструкции.
"Загружаем инструкцию", означает, что нужно подождать пока файл загрузится и можно будет его читать онлайн. Некоторые инструкции очень большие и время их появления зависит от вашей скорости интернета.

14
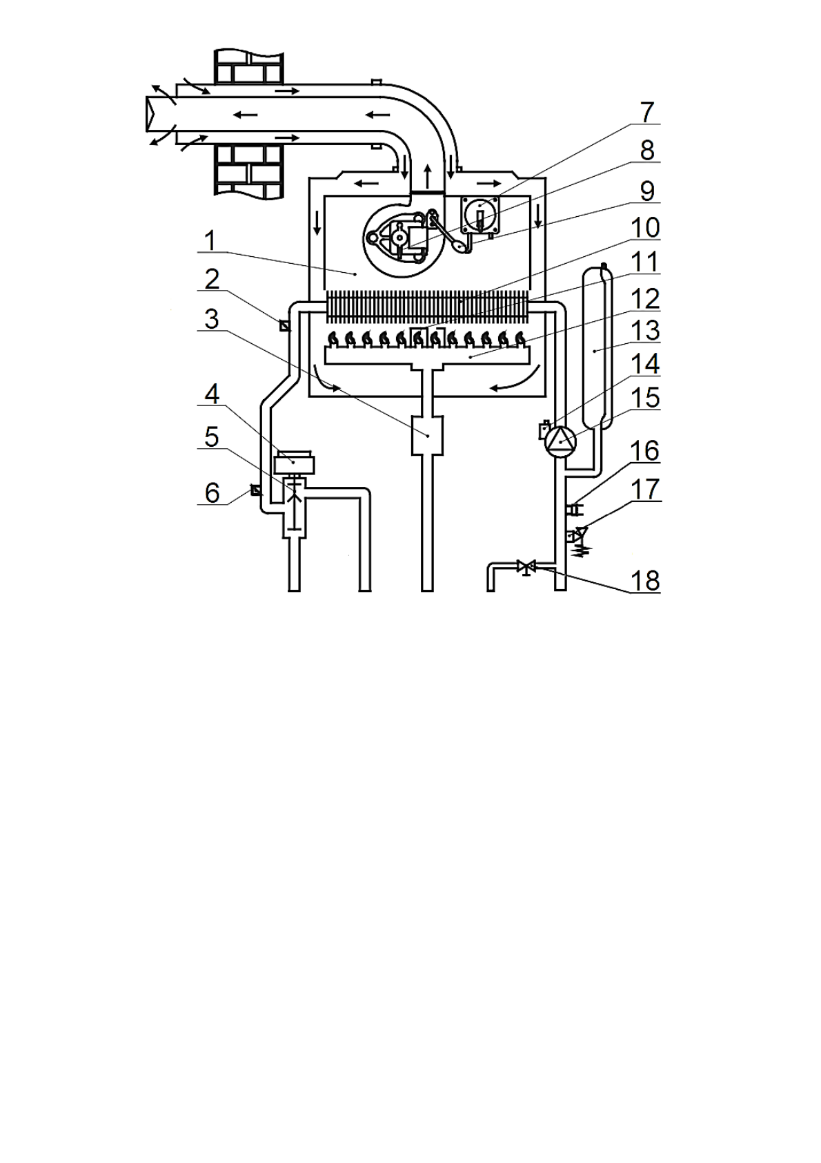
Рис. 3 Функциональная схема котла серии Arderia S.
1.
Камера сгорания (закрытого типа)
10.
Теплообменник ОВ
2.
Датчик по перегреву ОВ (STB),
предохранительный термостат
11.
Электроды розжига и ионизации
3.
Газовая арматура (газовые клапана)
12.
Горелка
4.
Сервопривод (мотор)
трёхходового крана
13.
Расширительный бак (экспанзомат)
5.
Трёхходовой кран
14.
Автоматический воздухоотводчик
6.
Датчик температуры ОВ (NTC)
15.
Циркуляционный насос
7.
Датчик давления воздуха (APS)
маностат
16.
Датчик давления ОВ (0,5 бар)
8.
Вентилятор (дымосос)
17.
Автоматический предохранительный
клапан сброса давления ОВ (3 бара)
9.
Конденсатосборник
18.
Кран подпитки СО
Выход ОВ
(подача)
Газ
Выход ОВ
(бойлер)
Вход
ХВС
Вход ОВ
(обратка)