Котел Arderia B16 - инструкция пользователя по применению, эксплуатации и установке на русском языке. Мы надеемся, она поможет вам решить возникшие у вас вопросы при эксплуатации техники.
Если остались вопросы, задайте их в комментариях после инструкции.
"Загружаем инструкцию", означает, что нужно подождать пока файл загрузится и можно будет его читать онлайн. Некоторые инструкции очень большие и время их появления зависит от вашей скорости интернета.

11
4.2
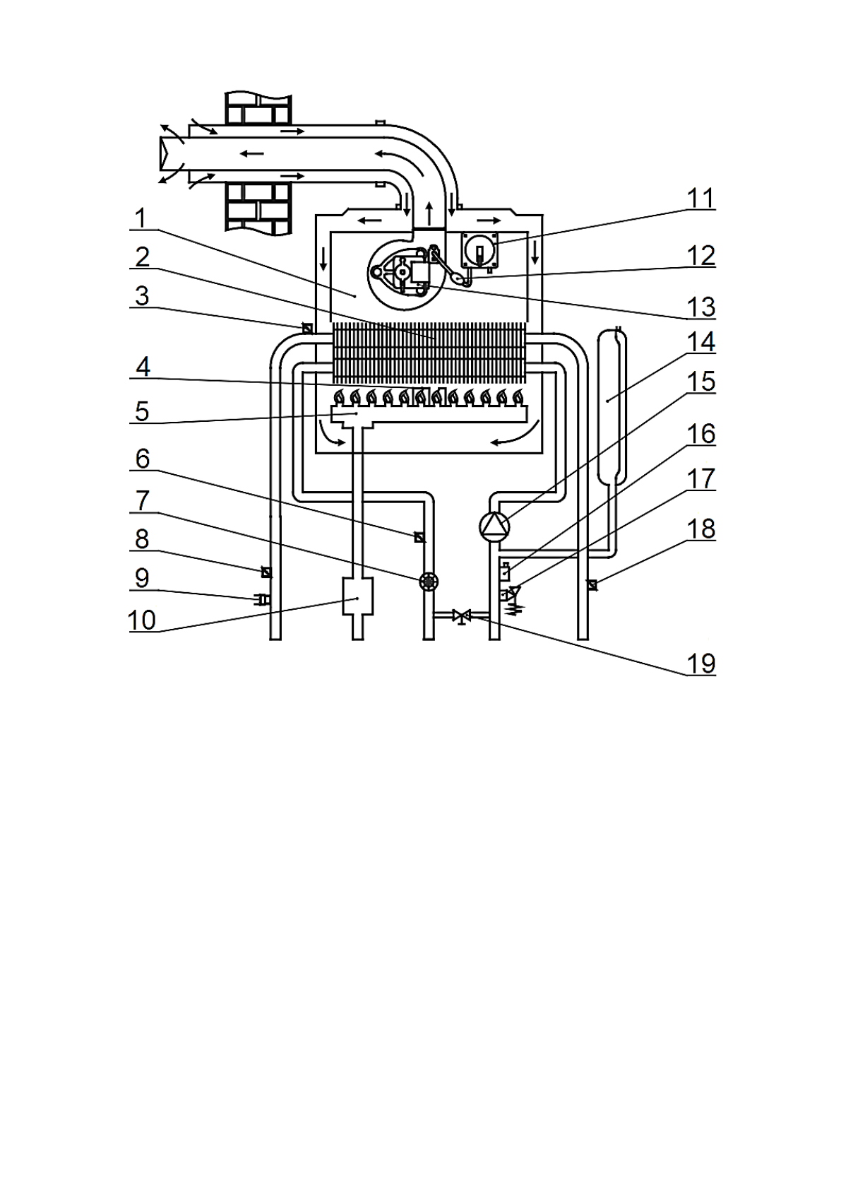
Устройство и основные элементы котла.
Рис. 1 Функциональная схема котла серии Arderia B
1.
Камера сгорания (закрытого типа)
11.
Датчик давления воздуха (маностат)
2.
Битермический теплообменник
«два в одном»
12.
Конденсатосборник
3.
Датчик по перегреву ОВ
(предохранительный термостат)
13.
Вентилятор (дымосос)
4.
Электроды розжига и ионизации
14.
Расширительный бак (экспанзомат)
5.
Горелка
15.
Циркуляционный насос
6.
Датчик температуры ХВС
16.
Автоматический воздухоотводчик
7.
Датчик расхода ГВС «турбинка»
17.
Автоматический предохранительный
клапан сброса давления ОВ (3 бара)
8.
Датчик температуры ОВ
18.
Датчик температуры ГВС
9.
Датчик давления ОВ
19.
Кран подпитки СО
10.
Газовая арматура (газовые клапана)
Выход ОВ
(подача)
Газ
Выход
ГВС
Вход
ХВС
Вход ОВ
(обратка)
Содержание
- 3 Уважаемый покупатель!
- 4 Содержание
- 5 Введение; собственной разработки и собственного производства
- 7 Меры безопасности
- 9 устройство и основные элементы; Назначение и принцип работы котла; «Turbo»; котла с битермическим теплообменником (ТО)
- 10 Котѐл с раздельными теплообменниками (ТО); Одноконтурный котѐл; Настенные газовые котлы Arderia работают с приоритетом по ГВС.
- 11 Устройство и основные элементы котла.
- 15 . Технические характеристики котлов Arderia; Модель «Turbo»
- 16 Модель «Atmo»
- 21 Комплект поставки
- 22 . Серийный номер котла; Дата изготовления Серия котла Мощность Номер
- 23 Руководство по эксплуатации котла; Общие рекомендации; должно; необходимо; должен; Панель управления котлом
- 26 Включение и эксплуатация котла; Включение котла; Перед включением котла; MOD; Режимы работы котла; Режим «; Режим «; ЗИМА; Режим «; ЛЕТО
- 27 ОЖИДАНИЕ; Функция «Таймер». Установка временных интервалов
- 28 Включение подсветки ЖК-дисплея
- 29 Защита от замерзания; Длительный простой котла
- 30 Коды ошибок и описание неисправностей котла
- 31 . Правила хранения и транспортировки
- 32 Срок службы, демонтаж и утилизация котла
- 33 Гарантийный талон; ГАРАНТИЙНЫЙ ТАЛОН; Условия предоставления и сохранения гарантии
- 34 Гарантийные обязательства
- 36 Отказ от гарантийных обязательств
- 37 Заполняется торгующей организации при продаже; Отметки о прохождении сервисного тех. обслуживания
- 38 Для заметок
- 39 Уважаемый пользователь!; или на сайте