Кондиционеры General Climate GC/GU-FS24ARN1 - инструкция пользователя по применению, эксплуатации и установке на русском языке. Мы надеемся, она поможет вам решить возникшие у вас вопросы при эксплуатации техники.
Если остались вопросы, задайте их в комментариях после инструкции.
"Загружаем инструкцию", означает, что нужно подождать пока файл загрузится и можно будет его читать онлайн. Некоторые инструкции очень большие и время их появления зависит от вашей скорости интернета.

15
Руководство по эксплуатации
●
Функции кнопок панели управления
Кнопка выбора
РЕЖИМА РАБОТЫ
кондиционера(
MODE
).
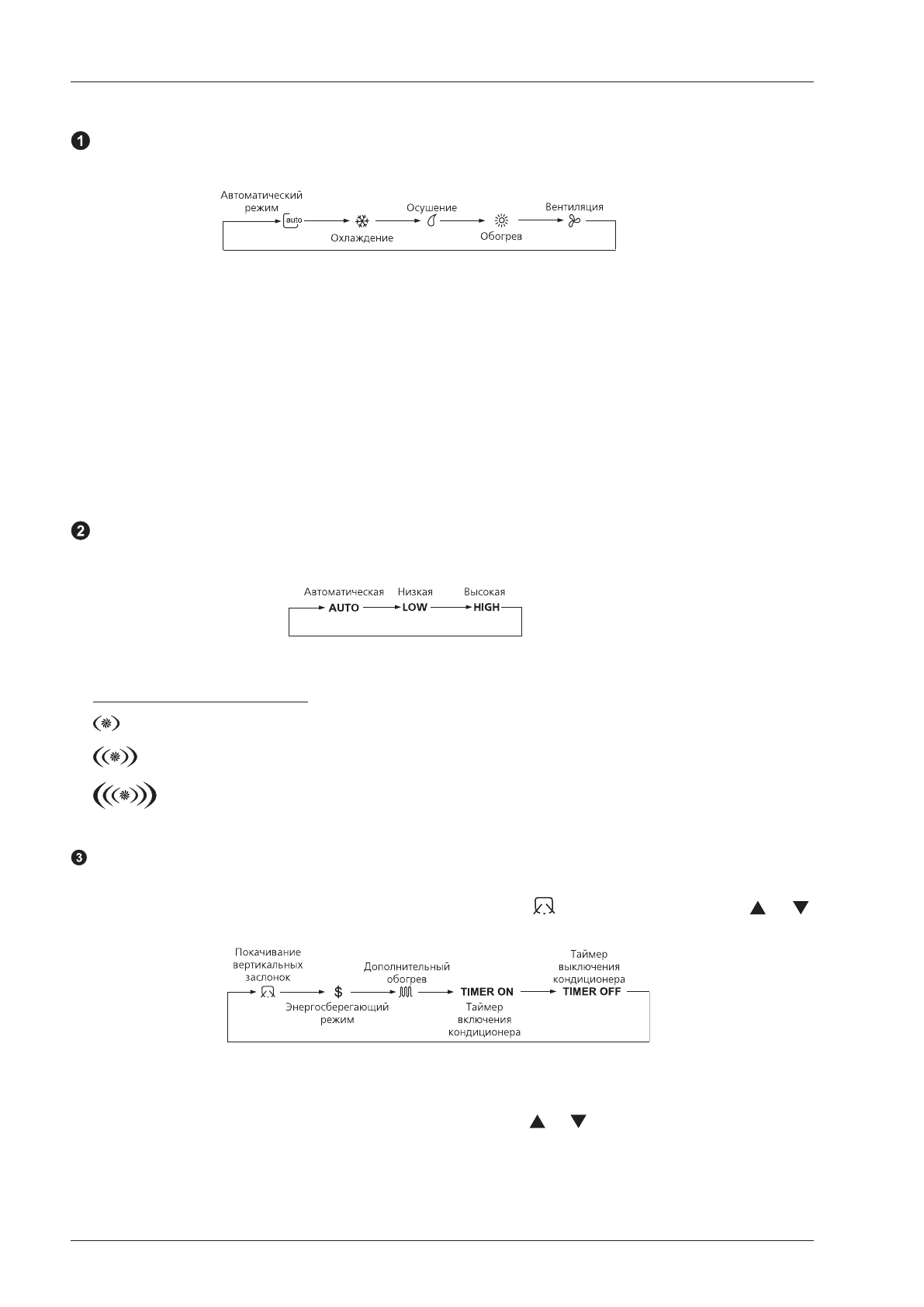
Режим выбирается нажатием кнопку в указанной ниже последовательности:
Автоматический режим.
В этом режиме кондиционер автоматически выбирает режим работы в зависимости от
температуры воздуха в помещении. Скорость вентилятора регулируется автоматически.
Охлаждение.
В этом режиме кондиционер охлаждает воздух в помещении в диапазоне температур от 17°С до 30°С
при температуре наружного воздуха от 18°С до 43°С.
Осушение.
В этом режиме имеется возможность установки желаемой температуры (в диапазоне от 17°С до 30°С)
при низкой скорости вентилятора, что позволяет выполнять осушение воздуха в помещении. В данном режиме нет
возможности установки желаемой скорости вентилятора и выбора спящего режима.
Обогрев.
Данный режим работы кондиционера предназначен для обогрева воздуха помещения с помощью
теплового насоса в диапазоне температур от 17°С до 30°C при температуре наружного воздуха от -7°C до 24°C.
Вентиляция.
В этом режиме работает только вентилятор внутреннего блока без охлаждения и обогрева. В этом
режиме нет возможности устанавливать температуру.
Кнопка выбора
СКОРОСТИ ВЕНТИЛЯТОРА
(
FAN SPEED
).
Кнопка предназначена для выбора скорости вентилятора. Скорость выбирается нажатием на кнопку в указанной
ниже последовательности:
В автоматическом режиме и режиме осушения выбор скорости вентилятора невозможен. В автоматическом режиме
скорость вентилятора автоматическая (AUTO), в режиме осушения - низкая (LOW).
Индикация скорости вентилятора:
- низкая скорость вентилятора (
LOW
).
- автоматическая скорость вентилятора (AUTO).
- высокая скорость вентилятора (HIGH).
После остановки вентилятора индикатор исчезает с дисплея.
Кнопка выбора
ДОПОЛНИТЕЛЬНЫХ ФУНКЦИЙ
(
ASSIST FUNCTION
).
Для входа в режим выбора дополнительных функций нажмите на кнопку “
ASSIST FUNCTION”
. При этом начнет
мигать первая имеющаяся дополнительная функция (в данном случае,
). Далее при помощи кнопок “
” и”
”
выберите нужную дополнительную функцию.
При выборе дополнительной функции мигает соответствующий индикатор.
Для подтверждения выбора нужной функции нажмите кнопку “
ASSIST FUNCTION”,
для отмены - повторно нажмите
на кнопку “
ASSIST FUNCTION”
.
Если в течение 10 секунд не нажимать кнопки “
ASSIST FUNCTION”
или “
“ и “
”, то автоматически будет выполнен
выход из режима выбора дополнительных функций.
Если кондиционер находится в режиме ожидания, при нажатии кнопки “
ASSIST FUNCTION
” доступна только функция
установки таймера.
Внимание.
Иллюстрация к выбору дополнительных функций дана для примера. У разных моделей набор
дополнительных функций отличается.