Кондиционеры Daikin FVQ-C - инструкция пользователя по применению, эксплуатации и установке на русском языке. Мы надеемся, она поможет вам решить возникшие у вас вопросы при эксплуатации техники.
Если остались вопросы, задайте их в комментариях после инструкции.
"Загружаем инструкцию", означает, что нужно подождать пока файл загрузится и можно будет его читать онлайн. Некоторые инструкции очень большие и время их появления зависит от вашей скорости интернета.

Русский
13
ПРЕДОСТЕРЕЖЕНИЕ
Обязательно
изолируйте
все
проложенные
по
месту
трубопроводы
до
самого
подключения
трубопровода
внутри
блока
.
Неизолированный
трубопровод
может
вызвать
конденсацию
,
а
при
прикосновении
–
ожоги
,
а
также
поражение
электрическим
током
.
ПРЕДОСТЕРЕЖЕНИЕ
•
ПРИ
ПАЙКЕ
ТРУБОПРОВОДА
ДЛЯ
ХЛАДАГЕНТА
ТВЕРДЫМ
ПРИПОЕМ
СЛЕДУЕТ
СОБЛЮДАТЬ
ОСТОРОЖНОСТЬ
•
Не
выполняйте
пайку
внутри
блока
,
поскольку
поддон
и
корпус
вентилятора
изготовлены
из
полимерных
материалов
.
Они
могут
расплавиться
или
вызвать
возгорание
от
брызг
.
•
Паяйте
трубопроводы
хладагента
только
с
потоком
азота
через
трубку
и
заменой
воздуха
азотом
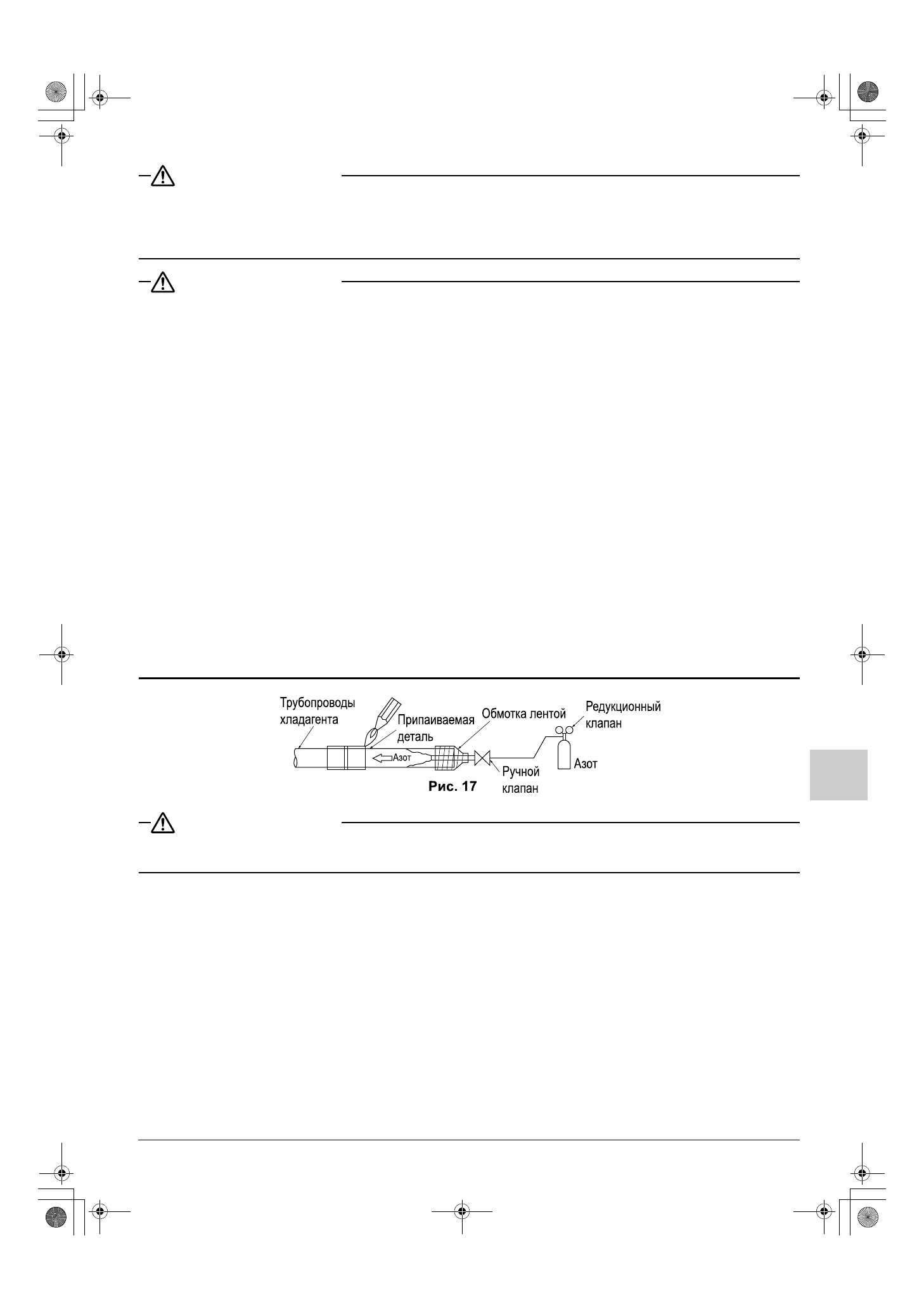
(
См
.
рис
. 17)
.
По
окончании
присоедините
внутренний
блок
коническими
соединениями
(
См
.
Рис
. 13)
.
1.
При
пайке
после
направления
потока
азота
через
трубку
и
замены
воздуха
азотом
следует
установить
давление
азота
около
0,02
МПа
редукционным
клапаном
.
(
См
.
рис
. 17)
2.
При
пайке
трубопровода
для
хладагента
твердым
припоем
не
используйте
флюс
.
Используйте
в качестве
твердого
припоя
фосфорную
медь
(BCuP-2: JIS Z 3264/B-Cu93P-710/795: ISO 3677),
которая
не
требует
флюса
.
(
Флюс
на
основе
хлора
оказывает
чрезвычайно
вредное
влияния
на
системы
трубопроводов
для хладагента
.
Он
вызывает
коррозию
трубопроводов
для
хладагента
и
портит
масло
для
холодильных
машин
).
3.
При
проведении
контроля
на
утечки
внутреннего
блока
и
трубопроводов
между
блоками
,
см
.
руководство
по
монтажу
внутреннего
блока
или
руководство
по
проведению
испытаний
под
давлением
и
установке
трубопроводов
хладагента
.
4.
Недостаток
хладагента
вследствие
выдувания
воздухом
или
недостаточной
зарядки
хладагентом
может
вызвать
неправильную
работу
блока
(
недостаточное
охлаждение
или
нагрев
).
При
установке
трубопроводов
между
блоками
,
см
.
руководство
по
монтажу
внутреннего
блока
или
техническое
руководство
.
ПРЕДОСТЕРЕЖЕНИЕ
•
Не
используйте
при
пайке
ингибитор
окисления
и
т
.
п
. (
Его
остатки
могут
вызвать
забивание
труб
или
повреждение
деталей
).
3P249378-4D_FM6.book Page 13 Thursday, December 15, 2011 11:36 AM