Компрессоры DEFORT DCC-252-Lt 93728335 - инструкция пользователя по применению, эксплуатации и установке на русском языке. Мы надеемся, она поможет вам решить возникшие у вас вопросы при эксплуатации техники.
Если остались вопросы, задайте их в комментариях после инструкции.
"Загружаем инструкцию", означает, что нужно подождать пока файл загрузится и можно будет его читать онлайн. Некоторые инструкции очень большие и время их появления зависит от вашей скорости интернета.

ОЗНАКОМЛЕНИЕ СО ШТАБЕЛЕРОМ
28-74
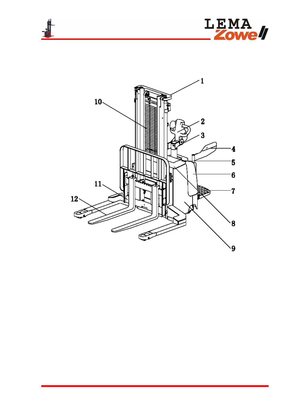
Ознакомление со штабелером
Общий вид
1.
Мачта
2.
Ручка управления
3.
Рулевая стойка
4.
Поручни защиты оператора (не для всех комплектаций)
5.
Индикатор АКБ и счетчик моточасов
6.
Крышка отсека электрооборудования
7.
Подножка оператора
8.
Крышка отсека АКБ
9.
Рама
10.
Защитная сетка
11.
Фронт вил (для некоторых комплектаций предусмотрена установка
дополнительной решетки)
12.
Вилы
Содержание
- 5 Поздравляем с покупкой самоходного штабелера; Обслуживание клиентов
- 6 Введение – Основные инструкции; Введение; Основные обозначения; Внимательно прочитайте следующие предупреждения
- 7 Служба сервиса клиентов; ОПАСНО ДЛЯ ЛЮДЕЙ; Зоны с опасностью взрыва
- 8 Ограничения применения; Штабелер должен эксплуатироваться в следующих условиях:
- 9 Ограничения в эксплуатации и обслуживании; При невозможности соблюдения нижеописанных процедур; Описание штабелера
- 10 Дополнительное оборудование; Доставка штабелера
- 11 Инструкции по технике безопасности; Общие правила техники безопасности
- 13 Масло гидравлической системы:
- 18 Устройства для обеспечения безопасности
- 20 Технические данные штабелера STR-15
- 21 Таблица мачт
- 22 Технические данные штабелера STR-20
- 24 Уровень шума; Шильда
- 25 Грузоподъемность – График кривой нагрузки; При загрузке руководствуйтесь графиком кривой нагрузки на
- 26 Погрузка и транспортировка штабелера; Транспортировка
- 27 Выполните следующие действия, чтобы поднять штабелер:
- 28 Ознакомление со штабелером; Общий вид
- 29 Определение направления движения; Ручка управления
- 30 Кнопка противоотката
- 31 Выполняйте следующие действия во время разгрузки:; Позиции ручки управления
- 32 Панель управления
- 33 Замковый выключатель; Эксплуатация
- 34 Индикатор ошибок; Доступ к внутреннему оборудованию
- 35 Подножка оператора
- 36 Ежедневная проверка перед использованием; Подъем грузов
- 37 Запуск штабелера
- 38 Остановка штабелера; Подъем груза; Подъем и опускание вил
- 39 Зарядка АКБ с помощью внешнего зарядного
- 40 Использование штабелера с подготовкой для
- 41 Поиск и устранение неисправностей штабелеров; Неисправность
- 42 Обслуживание; Техническое обслуживание; Существует два вида технического обслуживания:; Предварительные операции по техническому; При работе под поднятыми вилами или поднятым
- 43 Обслуживание по необходимости; Чистка штабелера
- 45 Снятие кожуха
- 46 Замена предохранителей; Характеристики предохранителей; Снятие ведущего колеса
- 47 Замена/Регулировка опорных колес; Плановое техническое обслуживание
- 48 Периодичность технического обслуживания:; Проверка затяжки колес
- 50 Карта смазки; Порядок проведения; Позиция Область применения
- 51 Консервация и утилизация; Общие характеристики; Временная консервация; Выполните следующие действия, если штабелер не будет
- 52 Проверка и осмотр после длительного хранения
- 59 Эксплуатация АКБ; ударов или вибрации.
- 61 Ввод в эксплуатацию; Действия, описанные в главах «Подготовка к использованию»,; Подготовка к использованию
- 62 Подготовка для электролита
- 63 Зарядка; Поставляемый аккумулятор всегда имеет начальную; Начальная зарядка; Для банок без начальной зарядки.
- 64 Регулировка плотности и уровня электролита.; Обычная зарядка
- 65 Компенсационная зарядка; Цель уравнительной зарядки; Уравнительная зарядка должна проводиться в следующих; Метод уравнительной зарядки
- 66 B: Зарядное устройство с микропроцессорным управлением; Требования к записи измерений зарядки; Недостаточная зарядка
- 67 Чрезмерная разрядка; Поиск и исправление неисправностей
- 68 Особенности причин неисправностей и методы устранения:; Внутреннее короткое замыкание
- 69 Обслуживание банок; Замена электролита; Транспортировка и хранение
- 70 Обратите внимание
- 71 Гарантийная политика; Определения
- 72 Порядок предоставления гарантии; В случае возникновения неисправности Покупатель должен:; Ограничения в рамках гарантийного
- 73 Претензии по гарантии