Abac MICRON.E 2.208-200 4152012026 - Инструкция по эксплуатации - Страница 34

Компрессоры Abac MICRON.E 2.208-200 4152012026 - инструкция пользователя по применению, эксплуатации и установке на русском языке. Мы надеемся, она поможет вам решить возникшие у вас вопросы при эксплуатации техники.

Если остались вопросы, задайте их в комментариях после инструкции.

"Загружаем инструкцию", означает, что нужно подождать пока файл загрузится и можно будет его читать онлайн. Некоторые инструкции очень большие и время их появления зависит от вашей скорости интернета.
Страница:
/ 36
Загружаем инструкцию
background image

34 - 

  08/2011 

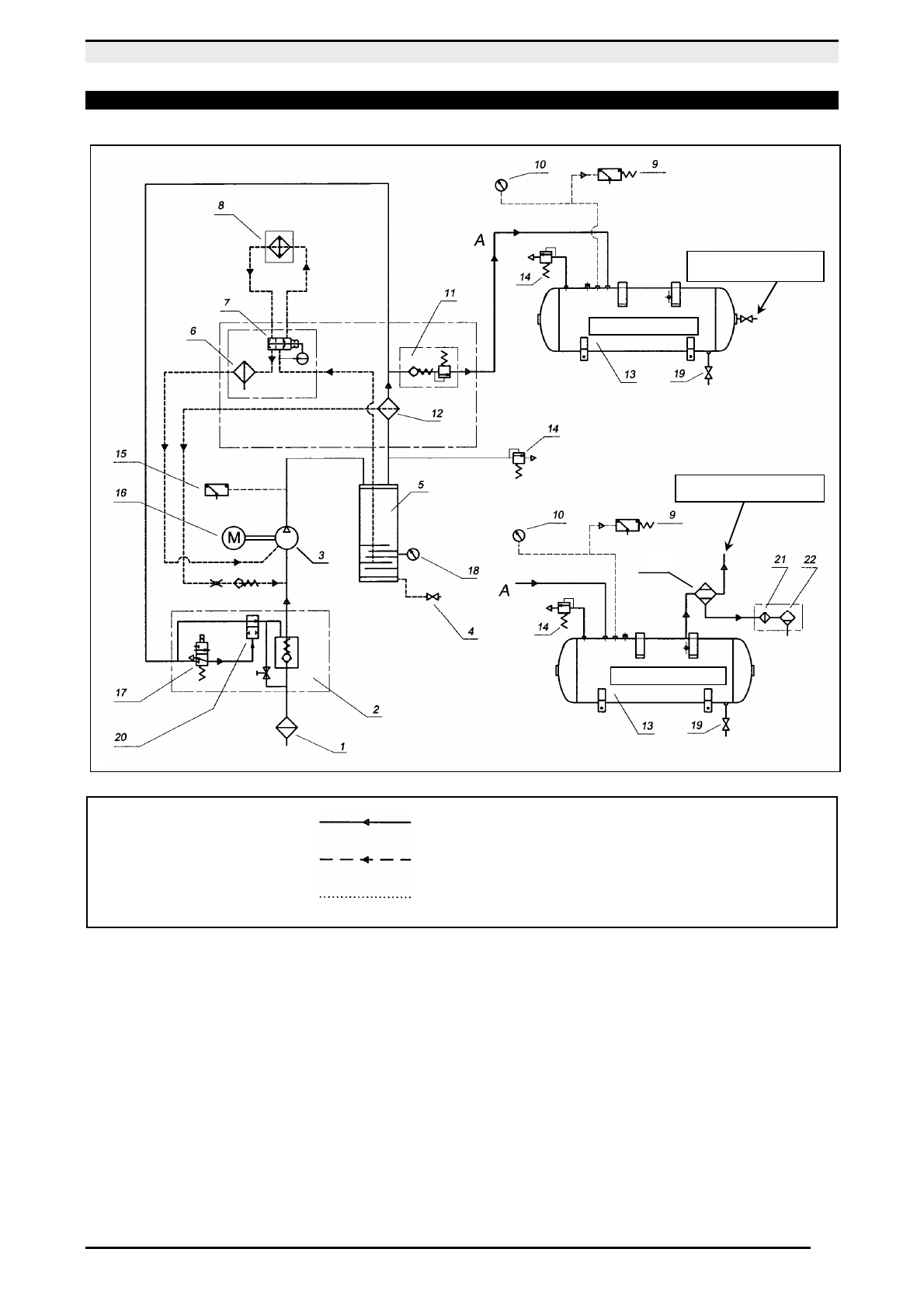
. 2200780040  00 -

26.1 

 

 

   

 (

. . 

10-15-20 / 

кВт

 7,5-11-15)

 

    1   

 

 

  

   13   

 

 

    2   

 

 

   14   

 

 

    3   

 

 

   15   

 

 

 

    4   

 

 

 

   16   

 

    5   

 

 

   17   

 

 

 

 

 

    6   

 

 

   18   

 

 

    7   

 

  

   19   

 

 

 

    8   

-

 

 

   20   

 

 

 

    9   

 

 

 

   21   

 

 

  10   

  

 

   22   

 

 

  

          

 

  11   

 

 

 

  23   

 

  12   

-

 

 

 

 

 

 

 

 

 

 

 

 

 

23 

Полезные видео

Характеристики

Оцените статью
tehnopanorama.ru
Остались вопросы?

Не нашли свой ответ в руководстве или возникли другие проблемы? Задайте свой вопрос в форме ниже с подробным описанием вашей ситуации, чтобы другие люди и специалисты смогли дать на него ответ. Если вы знаете как решить проблему другого человека, пожалуйста, подскажите ему :)

Задать вопрос

Часто задаваемые вопросы
Как посмотреть инструкцию к Abac MICRON.E 2.208-200 4152012026?
Необходимо подождать полной загрузки инструкции в сером окне на данной странице
Руководство на русском языке?
Все наши руководства представлены на русском языке или схематично, поэтому вы без труда сможете разобраться с вашей моделью
Как скопировать текст из PDF?
Чтобы скопировать текст со страницы инструкции воспользуйтесь вкладкой "HTML"