Inforce DH 30 D - Инструкция по эксплуатации

Inforce DH 30 D

Обогреватель Inforce DH 30 D - инструкция пользователя по применению, эксплуатации и установке на русском языке. Мы надеемся, она поможет вам решить возникшие у вас вопросы при эксплуатации техники.

Если остались дополнительные вопросы — свяжитесь с нами через контактную форму.

1 Страница 1
2 Страница 2
3 Страница 3
4 Страница 4
5 Страница 5
6 Страница 6
7 Страница 7
8 Страница 8
9 Страница 9
10 Страница 10
11 Страница 11
12 Страница 12
13 Страница 13
14 Страница 14
15 Страница 15
16 Страница 16
17 Страница 17
18 Страница 18
19 Страница 19
20 Страница 20
Страница: / 20

Содержание:

  • Страница 3 – его правильной эксплуатацией.
  • Страница 4 – Описание и работа дизельного теплогенератора; Таблица 1 - Основные параметры дизельных теплогенераторов
  • Страница 5 – Указания по технике безопасности; Внимательно прочитайте инструкции перед началом эксплуатации
  • Страница 6 – Эксплуатация теплогенератора; Подготовка к эксплуатации
  • Страница 7 – Техническое обслуживание; Каждые 500 часов эксплуатации заменяйте топливный фильтр.
  • Страница 9 – Возможные неисправности и методы их устранения; Таблица 2
  • Страница 10 – Таблица 3
  • Страница 11 – исчисляется со дня выпуска теплогенератора.
  • Страница 12 – деформации корпуса или любых других элементов конструкции).
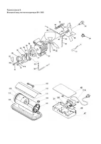
  • Страница 15 – Условные обозначения:; Упаковочный лист для DH-30D
  • Страница 17 – Свидетельство о приемке
Загрузка инструкции

Промышленный дизельный
генератор горячего воздуха
прямого нагрева

Модель

DH-30D

www.inforce.ru

Руководство
по эксплуатации

"Загрузка инструкции" означает, что нужно подождать пока файл загрузится и можно будет его читать онлайн. Некоторые инструкции очень большие и время их появления зависит от вашей скорости интернета.

Краткое содержание

Страница 3 - его правильной эксплуатацией.

Данный дизельный генератор горячего воздуха предназначен только для промышлен- ного использования. Предупреждение: при несоблюдении инструкций по безопасности и инструкций по экс- плуатации данного оборудования фирма-производитель снимает с себя ответственность за несчастные случаи и повреждения, на...

Страница 4 - Описание и работа дизельного теплогенератора; Таблица 1 - Основные параметры дизельных теплогенераторов

1. Описание и работа дизельного теплогенератора 1.1. Назначение теплогенератора Дизельные теплогенераторы DH-30D – серия переносных теплогенераторов прямого горения, предназначенных для безопасного, надежного и эффективного обогрева по-мещений при четком выполнении правил эксплуатации и технического...

Страница 5 - Указания по технике безопасности; Внимательно прочитайте инструкции перед началом эксплуатации

2. Указания по технике безопасности 2.1 Внимательно прочитайте инструкции перед началом эксплуатации 2.2 Выясните, где находятся кнопки включения и выключения теплогенератора. Ознакомьтесь со способами управления теплогенератором. 2.3 Следуйте инструкциям по техническому обслуживанию и таблице неисп...

Характеристики

Другие модели - Обогреватели Inforce

Все обогреватели Inforce