Hyundai HY7000SE - Инструкция по эксплуатации

Hyundai HY7000SE

Генератор Hyundai HY7000SE - инструкция пользователя по применению, эксплуатации и установке на русском языке. Мы надеемся, она поможет вам решить возникшие у вас вопросы при эксплуатации техники.

Если остались дополнительные вопросы — свяжитесь с нами через контактную форму.

1 Страница 1
2 Страница 2
3 Страница 3
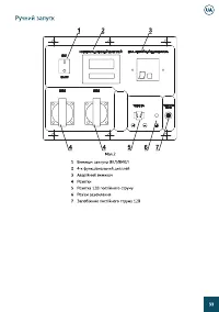
4 Страница 4
5 Страница 5
6 Страница 6
7 Страница 7
8 Страница 8
9 Страница 9
10 Страница 10
11 Страница 11
12 Страница 12
13 Страница 13
14 Страница 14
15 Страница 15
16 Страница 16
17 Страница 17
18 Страница 18
19 Страница 19
20 Страница 20
21 Страница 21
22 Страница 22
23 Страница 23
24 Страница 24
25 Страница 25
26 Страница 26
27 Страница 27
28 Страница 28
29 Страница 29
30 Страница 30
31 Страница 31
32 Страница 32
33 Страница 33
34 Страница 34
35 Страница 35
36 Страница 36
37 Страница 37
38 Страница 38
39 Страница 39
40 Страница 40
41 Страница 41
42 Страница 42
43 Страница 43
44 Страница 44
45 Страница 45
46 Страница 46
47 Страница 47
48 Страница 48
Страница: / 48
Загрузка инструкции

Licensed by

HYUNDAI Corporation

Korea

Owners manual

Gasoline Generator

Rental

HYW 190AC
HY 2500L
HY 3100L(E)
HY 3200
HY 7000
HY 7000L(E)
HY 7000LE-3
HY 7000LER
HY 7000S(E)
HY 7000SE-3
HY 7000SER

HY 9000
HY 9000L(E)
HY 9000LE-3
HY 9000LER
HY 9000S(E)
HY 9000SE-3
HY 9000SER
HY 9000SER-3
HY 12000LE-3
HY 12000LE

Руководство пользователя

Бензиновый генератор

Інструкція з експлуатації

Бензиновий генератор

Gasoline Genera-

tor

Gasoline Genera-

tor

"Загрузка инструкции" означает, что нужно подождать пока файл загрузится и можно будет его читать онлайн. Некоторые инструкции очень большие и время их появления зависит от вашей скорости интернета.

Характеристики

Другие модели - Генераторы Hyundai

Все генераторы Hyundai