Страница 3 - О ГЛ А В Л Е Н И Е
3 Pirms iekārtas lietošanas uzmanīgi izlasiet instrukcijuPrieš pradėdami naudoti įranga, būtinai atidžiai perskaitykite šį žinyną Enne seadmete kasutamist tuleb lugeda hoolikalt kasutusjuhendit О ГЛ А В Л Е Н И Е 1. Предисловие 3 2. Описание изделия 3 3. Комплектность 3 4. Технические характеристики ...
Страница 4 - Т Е Х Н И Ч Е С К И Е Х А рА КТ Е р И СТ И К И
4 Pirms iekārtas lietošanas uzmanīgi izlasiet instrukcijuPrieš pradėdami naudoti įranga, būtinai atidžiai perskaitykite šį žinyną Enne seadmete kasutamist tuleb lugeda hoolikalt kasutusjuhendit Т Е Х Н И Ч Е С К И Е Х А рА КТ Е р И СТ И К И Генератор DHY 6000LE 6000LE-3 8000LE 8000LE-3 8500LE 8500LE-...
Страница 6 - О б щ И й В И Д И СО СТА В Н ы Е Ч АСТ И
6 Pirms iekārtas lietošanas uzmanīgi izlasiet instrukcijuPrieš pradėdami naudoti įranga, būtinai atidžiai perskaitykite šį žinyną Enne seadmete kasutamist tuleb lugeda hoolikalt kasutusjuhendit О б щ И й В И Д И СО СТА В Н ы Е Ч АСТ И 1 Рама/Шумозащитный корпус 2 Крышка топливного бака 3 Воздушный фи...
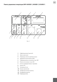
Страница 10 - панель управления генераторов DHY 8500SE-T
10 Pirms iekārtas lietošanas uzmanīgi izlasiet instrukcijuPrieš pradėdami naudoti įranga, būtinai atidžiai perskaitykite šį žinyną Enne seadmete kasutamist tuleb lugeda hoolikalt kasutusjuhendit 1 Информационный дисплей 2 Замок зажигания 3 Индикатор низкого давления масла 4 Аварийный выключатель (УЗО...
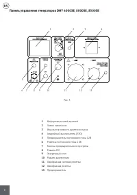
Страница 11 - панель управления генераторов DHY 8500LE-T
11 Pirms iekārtas lietošanas uzmanīgi izlasiet instrukcijuPrieš pradėdami naudoti įranga, būtinai atidžiai perskaitykite šį žinyną Enne seadmete kasutamist tuleb lugeda hoolikalt kasutusjuhendit 1 Информационный дисплей 2 Блок запуска генератораа 3 Индикатор низкого давления масла 4 Аварийный выключа...
Страница 12 - И Н ф О р М А ц И Я п О б Е З О п АС Н О СТ И; транспортировке и эксплуатации.; п ОД ГОТО В КА К рА б ОТ Е
12 Pirms iekārtas lietošanas uzmanīgi izlasiet instrukcijuPrieš pradėdami naudoti įranga, būtinai atidžiai perskaitykite šį žinyną Enne seadmete kasutamist tuleb lugeda hoolikalt kasutusjuhendit И Н ф О р М А ц И Я п О б Е З О п АС Н О СТ И Внимание! Категорически запрещается переворачивать генератор...
Страница 13 - Уровень топлива; До запуска двигателя
13 Pirms iekārtas lietošanas uzmanīgi izlasiet instrukcijuPrieš pradėdami naudoti įranga, būtinai atidžiai perskaitykite šį žinyną Enne seadmete kasutamist tuleb lugeda hoolikalt kasutusjuhendit Уровень топлива • Открыть крышку топливного бака (рис.8, А ). • Проверить уровень топлива в баке. • Залить...
Страница 14 - Э КС п Л УАТА ц И Я Г Е Н Е рАТО рА; Запуск двигателя
14 Pirms iekārtas lietošanas uzmanīgi izlasiet instrukcijuPrieš pradėdami naudoti įranga, būtinai atidžiai perskaitykite šį žinyną Enne seadmete kasutamist tuleb lugeda hoolikalt kasutusjuhendit Э КС п Л УАТА ц И Я Г Е Н Е рАТО рА Важно! Генераторы с функцией электро запуска укомплектованы кислотными...
Страница 15 - Остановка двигателя; функция подключения АТS; только квалифицированным специалистом.
15 Pirms iekārtas lietošanas uzmanīgi izlasiet instrukcijuPrieš pradėdami naudoti įranga, būtinai atidžiai perskaitykite šį žinyną Enne seadmete kasutamist tuleb lugeda hoolikalt kasutusjuhendit Остановка двигателя • Установите автомат защиты (аварийный выключатель) в положение ВЫКЛ (рис.12, А ). • Д...
Страница 16 - Т Е Х Н И Ч Е С КО Е О б С Л УЖ И В А Н И Е; рекомендованные масла
16 Pirms iekārtas lietošanas uzmanīgi izlasiet instrukcijuPrieš pradėdami naudoti įranga, būtinai atidžiai perskaitykite šį žinyną Enne seadmete kasutamist tuleb lugeda hoolikalt kasutusjuhendit Т Е Х Н И Ч Е С КО Е О б С Л УЖ И В А Н И Е Замена/добавление масла в картер двигателя Необходимо проверят...
Страница 17 - Обслуживание воздушного фильтра; Топливный фильтр грубой очистки
17 Pirms iekārtas lietošanas uzmanīgi izlasiet instrukcijuPrieš pradėdami naudoti įranga, būtinai atidžiai perskaitykite šį žinyną Enne seadmete kasutamist tuleb lugeda hoolikalt kasutusjuhendit Обслуживание воздушного фильтра Регулярное техническое обслуживание воздушного фильтра позволяет сохранить...
Страница 18 - проверка электролита и зарядка аккумулятора
18 Pirms iekārtas lietošanas uzmanīgi izlasiet instrukcijuPrieš pradėdami naudoti įranga, būtinai atidžiai perskaitykite šį žinyną Enne seadmete kasutamist tuleb lugeda hoolikalt kasutusjuhendit ! проверка электролита и зарядка аккумулятора • В моделях генератора с электрозапуском необходимо выполнят...
Страница 19 - р Е КО М Е Н ДУ Е М ы й Г рАф И К Т Е Х Н И Ч Е С КО ГО
19 Pirms iekārtas lietošanas uzmanīgi izlasiet instrukcijuPrieš pradėdami naudoti įranga, būtinai atidžiai perskaitykite šį žinyną Enne seadmete kasutamist tuleb lugeda hoolikalt kasutusjuhendit р Е КО М Е Н ДУ Е М ы й Г рАф И К Т Е Х Н И Ч Е С КО ГО О б С Л УЖ И В А Н И Я Узел Действие При каждом за...
Страница 20 - В О З М ОЖ Н ы Е п р И Ч И Н ы Н Е И С п рА В Н О СТ Е й; п р И М Е Ч А Н И Е
20 Pirms iekārtas lietošanas uzmanīgi izlasiet instrukcijuPrieš pradėdami naudoti įranga, būtinai atidžiai perskaitykite šį žinyną Enne seadmete kasutamist tuleb lugeda hoolikalt kasutusjuhendit В О З М ОЖ Н ы Е п р И Ч И Н ы Н Е И С п рА В Н О СТ Е й Неисправность Возможная причина Устранение неиспр...
Страница 21 - С п И СО К п ОТ р Е б И Т Е Л Е й
21 Pirms iekārtas lietošanas uzmanīgi izlasiet instrukcijuPrieš pradėdami naudoti įranga, būtinai atidžiai perskaitykite šį žinyną Enne seadmete kasutamist tuleb lugeda hoolikalt kasutusjuhendit С п И СО К п ОТ р Е б И Т Е Л Е й потребитель Мощность Фен для волос 450-1200 Утюг 500-1100 Электроплита 8...