Hintek IO-10 IP 54 1 кВт 04.07.01.214376 - Инструкция по эксплуатации

Hintek IO-10 IP 54 1 кВт 04.07.01.214376

Обогреватель Hintek IO-10 IP 54 1 кВт 04.07.01.214376 - инструкция пользователя по применению, эксплуатации и установке на русском языке. Мы надеемся, она поможет вам решить возникшие у вас вопросы при эксплуатации техники.

Если остались дополнительные вопросы — свяжитесь с нами через контактную форму.

1 Страница 1
2 Страница 2
3 Страница 3
4 Страница 4
5 Страница 5
6 Страница 6
7 Страница 7
8 Страница 8
9 Страница 9
10 Страница 10
11 Страница 11
12 Страница 12
13 Страница 13
14 Страница 14
15 Страница 15
16 Страница 16
17 Страница 17
18 Страница 18
19 Страница 19
20 Страница 20
21 Страница 21
22 Страница 22
23 Страница 23
24 Страница 24
Страница: / 24

Содержание:

  • Страница 3 – СОДЕРЖАНИЕ; Примерная площадь обогрева инфракрасных
  • Страница 4 – Используемые обозначения
  • Страница 5 – ТРЕБОВАНИЯ БЕЗОПАСНОСТИ
  • Страница 7 – УСТРОЙСТВО ИНФРАКРАСНОГО
  • Страница 8 – ПРИМЕРНАЯ ПЛОЩАДЬ ОБОГРЕВА; Модель
  • Страница 9 – ХАРАКТЕРИСТИКА И ПАРАМЕТРЫ; Правила и условия монтажа
  • Страница 10 – Минимальные расстояния от прибора до других поверхностей.; ИНТЕНСИВНОСТЬ ТЕПЛОВОГО ОБЛУЧЕНИЯ; Интенсивность теплового облучения на человека не должна
  • Страница 11 – ПОДГОТОВКА К РАБОТЕ; Монтаж обогревателей
  • Страница 16 – ТРАНСПОРТИРОВАНИЕ И ХРАНЕНИЕ
  • Страница 17 – изготовлен и принят в соответствии с обязательными требо-
  • Страница 18 – ГАРАНТИИ ИЗГОТОВИТЕЛЯ
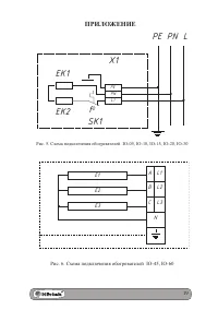
  • Страница 19 – ПРИЛОЖЕНИЕ; PE PN
Загрузка инструкции

ИНФРАКРАСНЫЙ ОБОГРЕВАТЕЛЬ

ПАСПОРТ И РУКОВОДСТВО

ПО ЭКСПЛУАТАЦИИ

IO-05, IO-10, IO-15, IO-20,

IO-30, IO-45, IO-60

"Загрузка инструкции" означает, что нужно подождать пока файл загрузится и можно будет его читать онлайн. Некоторые инструкции очень большие и время их появления зависит от вашей скорости интернета.

Краткое содержание

Страница 3 - СОДЕРЖАНИЕ; Примерная площадь обогрева инфракрасных

3 СОДЕРЖАНИЕ 1. Общие указания .................................................................. 4 2. Требования безопасности .................................................... 5 3. Комплектность поставки ........................................................ 7 4. Устройство инфракрасного обогр...

Страница 4 - Используемые обозначения

4 Используемые обозначения Внимание! Требования, несоблюдение которых может привести к тяжелой травме или серьезному повреждению оборудования. Осторожно! Требования, несоблюдение которых может привести к серьез- ной травме или летальному исходу. Примечание: 1. В тексте данной инструкции инфракрасные...

Страница 5 - ТРЕБОВАНИЯ БЕЗОПАСНОСТИ

5 редь, нагревается воздух. Нагретый воздух, поднимаясь к потолку, постепенно остывает, при этом на уровне головы стоящего челове- ка температура воздуха оказывается на 1-2 °С ниже температуры пола. 1.3 В отличиe от систем конвективного отоплении (электро- радиаторы, стационарные батареи), при испол...

Характеристики

Другие модели - Обогреватели Hintek

Все обогреватели Hintek