Страница 3 - соДерЖАние
3 соДерЖАние 1. Общие сведения ................................................................... 42. Инструкция по технике безопасности ................................ 53. Технические характеристики ............................................... 64. Комплектность ...................................
Страница 5 - инстрУкЦиЯ По теХнике БеЗоПАсности
5 2. инстрУкЦиЯ По теХнике БеЗоПАсности 2.1 При эксплуатации конвектора соблюдайте общие правила безопасности при пользовании электроприборами. 2.2 Конвектор по типу защиты от поражения электрическим током отно- сится к классу I по ГОСТ IeC 60335-1-2015 (защита от поражения электричес- ким током обе...
Страница 6 - теХнические ХАрАктеристики; технические характеристики
6 - расстояние от лицевой панели конвектора до ближайших предметов должно быть не менее 0,5 м; - не накрывайте конвектор, не кладите на него посторонние предметы, шторы и одежду и не ограничивайте движение воздушного потока на входе и выходе воздуха; - не эксплуатируйте конвектор при появлении искре...
Страница 7 - Комплектность конвектора должна соответствовать таблице 2.; Устройство и ПорЯДок рАБотЫ; Подготовка к работе:; Убедитесь, что конвектор находится в положении «ВЫКЛ», прежде чем
7 4. коМПлектностЬ 4.1 Комплектность конвектора должна соответствовать таблице 2. Таблица 2. Наименование Количество Примечание Конвектор электрический 1 Комплект монтажных деталей 1 Руководство по эксплуатации 1 Упаковка 1 5. Устройство и ПорЯДок рАБотЫ 5.1 Схема конвектора представлена на рис. 1. ...
Страница 8 - теХническое оБслУЖивАние
8 Если температура окружающего воздуха ниже установленной, конвектор начинает работать, если температура окружающего воздуха становится выше установленной, прибор автоматически выключается и переходит в режим ожи- дания, а затем снова включается, когда температура воздуха в помещении по- нижается. У...
Страница 9 - Установка на полу для моделей SW:
9 Освободить настенный кронштейн от конвектора необходимо следующим образом: • нажмите на защелки и потяните кронштейн на себя; • отметить и просверлить отверстия; • поместить кронштейн на стену и закрепить его. Закрепить прибор на кронштейне необходимо следующим образом: • наденьте на кронштейн ниж...
Страница 10 - и УтилиЗАЦиЯ
10 • закрепите опорную ножку с помощью специального пластикового полу- оборотного крепления, которое входит в комплект; • тоже повторить со второй опорной ножкой. 6.2 При правильной эксплуатации конвектор не требует специального тех- нического обслуживания. 6.3 Для нормальной работы конвектора необх...
Страница 12 - ГАрАнтиЯ иЗГотовителЯ
12 9. ГАрАнтиЯ иЗГотовителЯ 9.1 Изготовитель гарантирует надежную и безотказную работу конвектора при соблюдении условий эксплуатации, хранения и транспортирования. Гарантийный срок эксплуатации - 1 год со дня продажи конвектора через розничную торговую сеть, но не более 3 лет с момента изготовления...
Страница 13 - Конвектор электрический имеет сертификат соответствия.
13 10. свиДетелЬство о ПриеМке и УПАковЫвАнии 10.1 Конвектор электрический Hintek _______________________________ заводской №____________, изготовлен и принят в соответствии с обязатель- ными требованиями: ГОСТ IeC 60335-2-30-2013, ГОСТ IeC 60335-1-2015 и технических условий ТУ 3468-003-81254366-201...
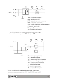
Страница 15 - Рис. 4. Схема электрическая принципиальная конвекторов
15 Рис. 3. Схема электрическая принципиальная конвекторов со стич элементом мощностью 1000 Вт модель SW. L PE SK1 SK2 EK1 N SQ1 SA1 ~ 230 В SA1 L PE SQ1 SK1 N EK1.1 EK1.2 SK2 ~ 230 В ek1 - электронагреватель; Sk1 - терморегулятор; SA1 - двухпозиционная клавиша; Sk2 - защитный термостат; SQ1 - датчик...
Страница 17 - О гарантийных мастерских Вы можете узнать у поставщика.; ООО «Элком»; Изготовлено в России
талон на гарантийный ремонт конвектора электрического конвектор электрический _______________________________ зав № __________________________________________________ продан _________________________________________________ ________________________________________________________ « ______» _________...