Hintek SW 1000M 04.05.01.214551 - Инструкция по эксплуатации

Hintek SW 1000M 04.05.01.214551

Обогреватель Hintek SW 1000M 04.05.01.214551 - инструкция пользователя по применению, эксплуатации и установке на русском языке. Мы надеемся, она поможет вам решить возникшие у вас вопросы при эксплуатации техники.

Если остались дополнительные вопросы — свяжитесь с нами через контактную форму.

1 Страница 1
2 Страница 2
3 Страница 3
4 Страница 4
5 Страница 5
6 Страница 6
7 Страница 7
8 Страница 8
9 Страница 9
10 Страница 10
11 Страница 11
12 Страница 12
13 Страница 13
14 Страница 14
15 Страница 15
16 Страница 16
17 Страница 17
18 Страница 18
19 Страница 19
20 Страница 20
Страница: / 20

Содержание:

  • Страница 3 – соДерЖАние
  • Страница 5 – инстрУкЦиЯ По теХнике БеЗоПАсности
  • Страница 6 – теХнические ХАрАктеристики; технические характеристики
  • Страница 7 – Комплектность конвектора должна соответствовать таблице 2.; Устройство и ПорЯДок рАБотЫ; Подготовка к работе:; Убедитесь, что конвектор находится в положении «ВЫКЛ», прежде чем
  • Страница 8 – теХническое оБслУЖивАние
  • Страница 9 – Установка на полу для моделей SW:
  • Страница 10 – и УтилиЗАЦиЯ
  • Страница 12 – ГАрАнтиЯ иЗГотовителЯ
  • Страница 13 – Конвектор электрический имеет сертификат соответствия.
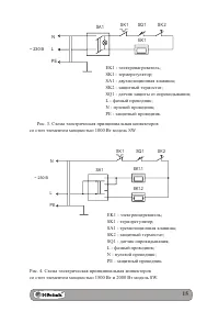
  • Страница 15 – Рис. 4. Схема электрическая принципиальная конвекторов
  • Страница 17 – О гарантийных мастерских Вы можете узнать у поставщика.; ООО «Элком»; Изготовлено в России
Загрузка инструкции

конвектор

электрический

Hintek SW 1000M, SW 1500M, SW 2000M

рУковоДство

По эксПлУАтАЦии

®

®

®

"Загрузка инструкции" означает, что нужно подождать пока файл загрузится и можно будет его читать онлайн. Некоторые инструкции очень большие и время их появления зависит от вашей скорости интернета.

Краткое содержание

Страница 3 - соДерЖАние

3 соДерЖАние 1. Общие сведения ................................................................... 42. Инструкция по технике безопасности ................................ 53. Технические характеристики ............................................... 64. Комплектность ...................................

Страница 5 - инстрУкЦиЯ По теХнике БеЗоПАсности

5 2. инстрУкЦиЯ По теХнике БеЗоПАсности 2.1 При эксплуатации конвектора соблюдайте общие правила безопасности при пользовании электроприборами. 2.2 Конвектор по типу защиты от поражения электрическим током отно- сится к классу I по ГОСТ IeC 60335-1-2015 (защита от поражения электричес- ким током обе...

Страница 6 - теХнические ХАрАктеристики; технические характеристики

6 - расстояние от лицевой панели конвектора до ближайших предметов должно быть не менее 0,5 м; - не накрывайте конвектор, не кладите на него посторонние предметы, шторы и одежду и не ограничивайте движение воздушного потока на входе и выходе воздуха; - не эксплуатируйте конвектор при появлении искре...

Характеристики

Другие модели - Обогреватели Hintek

Все обогреватели Hintek