Гидроциклы и катера Yamarin Cross 63BR 2012 - инструкция пользователя по применению, эксплуатации и установке на русском языке. Мы надеемся, она поможет вам решить возникшие у вас вопросы при эксплуатации техники.
Если остались вопросы, задайте их в комментариях после инструкции.
"Загружаем инструкцию", означает, что нужно подождать пока файл загрузится и можно будет его читать онлайн. Некоторые инструкции очень большие и время их появления зависит от вашей скорости интернета.

Yamarin Cross 63 Bow Rider
33 (46)
прочными
,
чтобы
выдерживать
также
вес
мотора
.
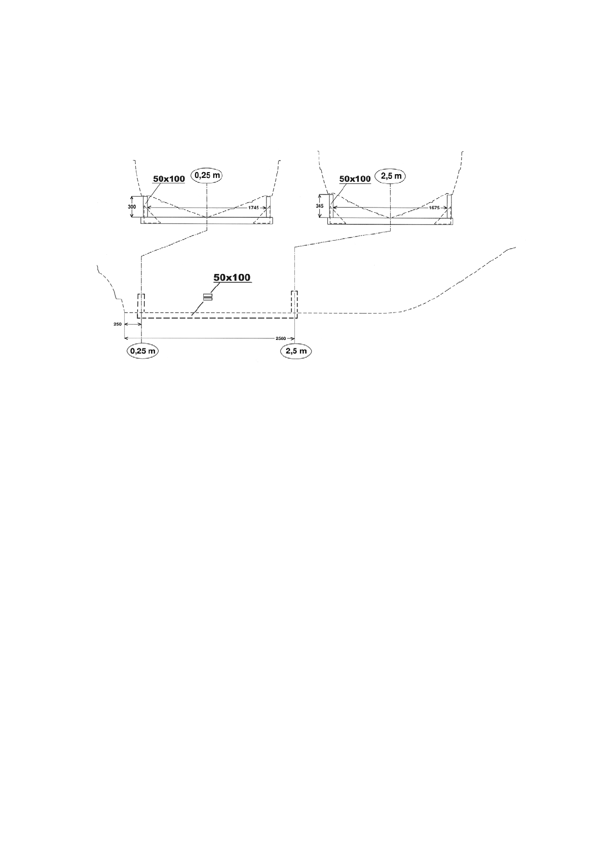
Размеры
шлюпочного
кильблока
для
хранения
приведены
на
следующем
рисунке
.
Размеры
шлюпочного
кильблока
для
хранения
:
Пользуйтесь
только
услугами
пользующихся
хорошей
репутацией
грузоподъемными
компаниями
или
площадками
для
хранения
катеров
с
достаточной
грузоподъемностью
.
Помимо
собственной
массы
катера
(
смотрите
раздел
"
Технические
характеристики
"),
также
учитывайте
вспомогательное
оборудование
и
другие
грузы
,
которые
могут
находиться
на
катере
.
При
подъеме
катера
канаты
необходимо
поместить
под
катером
,
а
во
время
подъема
катер
должен
оставаться
горизонтальным
.
ПРИМЕЧАНИЕ
!
Катер
запрещается
поднимать
за
кнехты
для
постановки
на
якорь
/
усиленные
точки
.
ОСТОРОЖНО
!
Не
стойте
под
катером
,
подвешенным
на
кране
.
6
Ремонт
и
техническое
обслуживание
Содержите
катер
и
его
детали
в
чистоте
.
Это
сделает
более
комфортабельной
эксплуатацию
катера
и
увеличить
реальную
продажную
стоимость
катера
.
Ознакомьтесь
с
процедурами
технического
обслуживания
,
указанными
в
инструкции
по
эксплуатации
мотора
(
см
.
приложение
).
Аккуратно
выполняйте
техническое
обслуживание
или
обратитесь
для
его
выполнения
в
уполномоченную
сервисную
компанию
.