Генераторы Кратон GG-5500EM 3 08 01 037 - инструкция пользователя по применению, эксплуатации и установке на русском языке. Мы надеемся, она поможет вам решить возникшие у вас вопросы при эксплуатации техники.
Если остались вопросы, задайте их в комментариях после инструкции.
"Загружаем инструкцию", означает, что нужно подождать пока файл загрузится и можно будет его читать онлайн. Некоторые инструкции очень большие и время их появления зависит от вашей скорости интернета.

www.kraton.ru
Генератор бензиновый GG-5500EM, GG-6500EM
артикул 3 08 01 037, 3 08 01 038
20
37
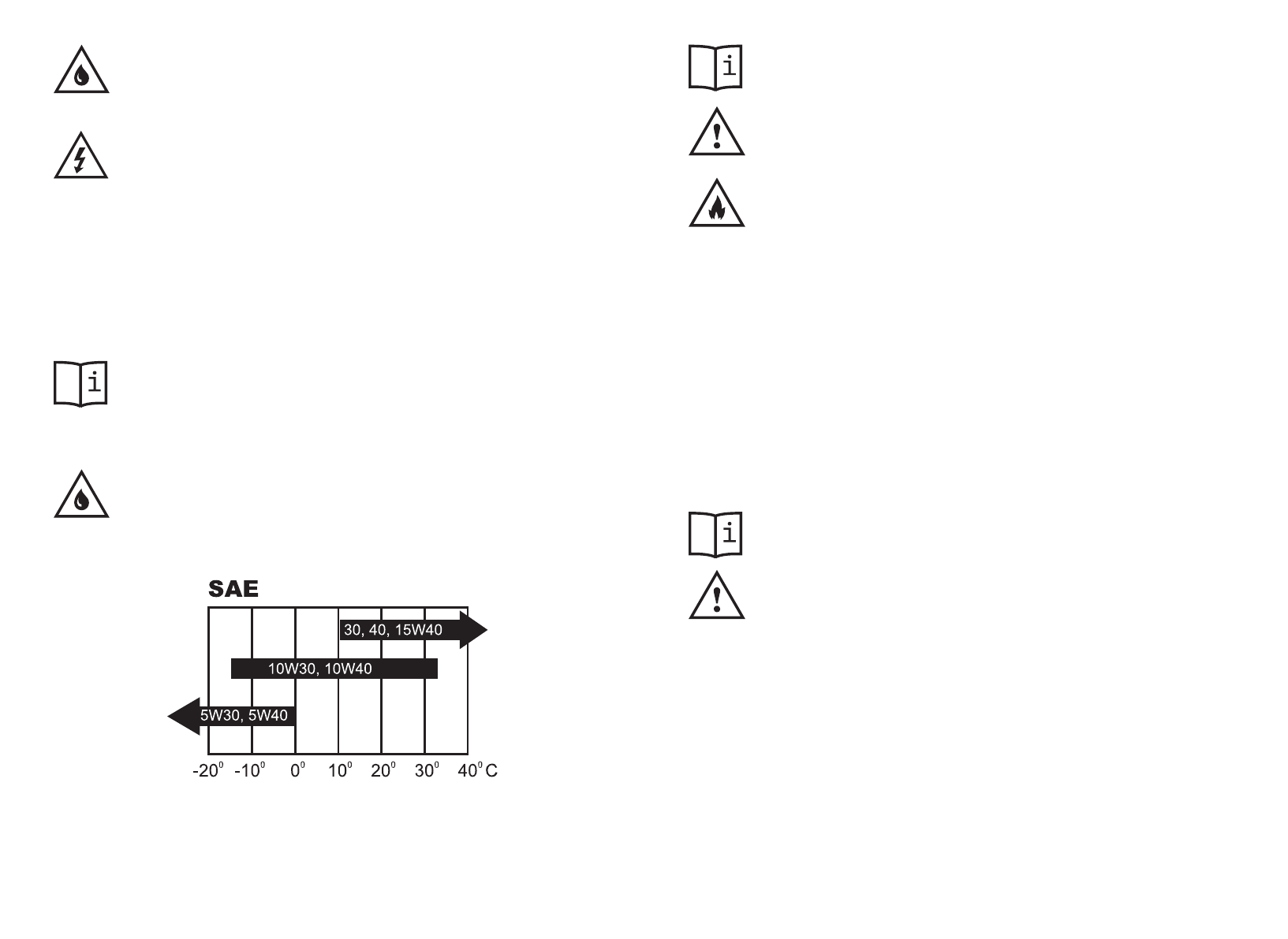
Рисунок 3
— Схема выбора марки масла в зависимости от температуры окружаю-
щего воздуха
Генератор поставляется без масла в двигате-
ле. Перед первым запуском генератора залей-
те масло в картер двигателя. Не заливайте в
картер двигателя масло выше максимальной
отметки на щупе пробки. Во время заливки
масла и проверки его уровня генератор дол-
жен быть размещен на устойчивой горизон-
тальной поверхности и не должен работать.
Заливка (замена) масла и про-
верка его уровня
(см. рис. 2), затем зажимы зарядного кабеля к клеммам аккуму-
ляторной батареи с соблюдением полярности. Отключение про-
изводите в обратной последовательности.
•
Во время зарядки аккумуляторной батареи большой емкости
не следует допускать превышения тока зарядки и коротких за-
мыканий. При перегорании плавкого предохранителя 23 необ-
ходимо произвести его замену.
• ПОМНИТЕ!
Аккумуляторная батарея в процессе зарядки вы-
деляет взрывоопасные газы.
В процессе подготовки и при за-
рядке соблюдайте правила безопасности, установленные из-
готовителем аккумуляторной батареи. Зарядку аккумуляторной
батареи следует выполнять в местах с хорошей вентиляцией.
Если температура электролита превышает + 45
°С, процесс за-
рядки следует прекратить.
•
При зарядке автомобильной аккумуляторной батареи всегда
снимайте клемму заземления «на массу». Это позволит избе-
жать случайного образования искры при соприкосновении за-
рядного кабеля с кузовом автомобиля.
•
Не заводите автомобиль, если генератор подключен к аккуму-
ляторной батарее. Это может повредить генератор.
•
Убедитесь, что зарядный кабель подключен к аккумуляторной
батарее согласно полярности. Не допускайте неправильного
подключения, так как это может повредить генератор.
Важные указания
•
Приобретенный Вами генератор вырабатывает однофазный
переменный ток напряжением 220 В и частотой 50 Гц и постоян-
ный ток напряжением 12 В. К розеткам переменного тока 22 (см.
рис. 2) генератора Вы можете подключать только однофазные
электроприемники потребителей нагрузки. Клеммы постоянно-
го тока 25 и 26 (см. рис. 2) предназначены для зарядки аккуму-
лятора напряжением 12 В.
•
Электроприемники потребителей подразделяются на актив-
ные и индуктивные (реактивные) нагрузки. К активным нагруз-
кам относятся потребители, у которых практически вся потре-
бляемая энергия преобразуется в тепло (лампы накаливания,
утюги, обогреватели, электроплиты и т.п.). Для расчета суммар-
ной мощности таких потребителей достаточно сложить мощно-
сти, которые указаны в их паспортных технических характери-
стиках.
•
К индуктивным нагрузкам относятся потребители, имеющие
электродвигатель, где энергия дополнительно расходуется на
• ВНИМАНИЕ! Залейте масло в картер двигателя!
Проверьте
уровень масла в картере двигателя и в случае необходимости
долейте его.
•
Проверьте затяжку всех резьбовых соединений и при необхо-
димости подтяните их.
•
Проверьте исправность электрических розеток и клемм гене-
ратора.
•
Соблюдая полярность, подключите электрические провода от
аккумуляторной батареи к электростартеру генератора.
Содержание
- 3 Содержание
- 4 Срок гарантии — 36 месяцев или; Гарантийный случай No2
- 5 Комплектность; Гарантия изготовителя; Гарантия производителя не распространяется:
- 6 Назначение и общие указания
- 7 Сведения о действиях при об-
- 9 Правила безопасности; Неисправности и методы их
- 16 Устройство генератора
- 18 Техническое обслуживание
- 20 верка его уровня
- 24 Заправка топливного бака; Эксплуатация генератора