Факсы Panasonic UF-895 - инструкция пользователя по применению, эксплуатации и установке на русском языке. Мы надеемся, она поможет вам решить возникшие у вас вопросы при эксплуатации техники.
Если остались вопросы, задайте их в комментариях после инструкции.
"Загружаем инструкцию", означает, что нужно подождать пока файл загрузится и можно будет его читать онлайн. Некоторые инструкции очень большие и время их появления зависит от вашей скорости интернета.

21
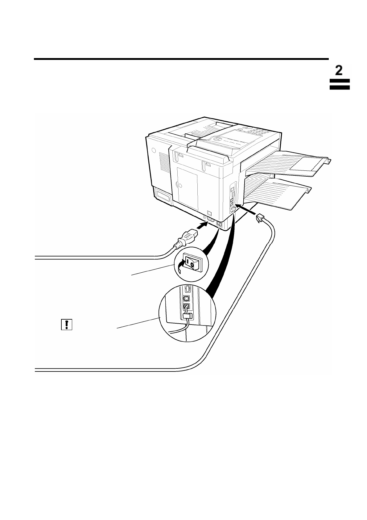
Подсоединение
телефонного
провода
и
шнура
электропитания◄
■
Выключатель
питания
После
подсоединения
всех
шнуров
включите
электропитание
этим
выключателем
.
Внимание
Заправьте
провод
под
захват
,
чтобы
предотвратить
замятие
бумаги
.
Содержание
- 3 Содержание
- 7 ПРИЛОЖЕНИЕ; Установка
- 8 WARNING
- 9 ВАЖНОЕ
- 10 CAUTION
- 11 Введение◄; Panafax
- 12 Примечание
- 17 ADF
- 20 LGL
- 21 Предупреждение
- 23 Выключатель; Внимание
- 26 Пример
- 29 Примечания
- 31 Ввод
- 35 Распечатка
- 37 Таблица
- 42 Как
- 43 Контрастность; RESOLUTION=Standard RESOLUTION=Fine RESOLUTION=Super Fine
- 44 Полутон
- 45 Журнал; OFF; Примечани
- 46 Сохранение; Передача
- 48 Ручной; MEMORY
- 49 Сенсорный
- 50 Сокращенный
- 51 Набор
- 52 Многостанционная
- 53 Прямая
- 57 Речевой
- 59 Резервирование
- 61 Повторный
- 62 Автоматический; Для
- 63 Уменьшение; Автоматическое; Выбор; 4 Print Reduction; ПРИМЕР; Letter
- 64 Прием; Переданный
- 65 5 PRINT COLLATION
- 66 ►Копирование
- 68 Отсроченная
- 69 Отсроченный
- 71 Подготовка; 7 (POLLED FILE SAVE –
- 72 Запрос
- 73 ABBR
- 79 Печать; “INCOMP”
- 80 Просмотр
- 83 Удаление
- 85 Добавление
- 86 Повторное
- 91 “DRD”
- 92 Общие
- 93 PANASONIC
- 95 Запоминание
- 96 Отправка
- 99 Описание
- 101 Изменение
- 114 “ON”; Совместимость; Модель
- 118 XMT; Использование
- 121 Конфиденц; почтовый; ящик
- 131 Ретрансляционная; Рис
- 133 “Yes”
- 138 Распечатки
- 140 ►Подадресация
- 141 Подадресация◄
- 144 Индивидуальный
- 146 Пояснения
- 147 Образец
- 152 Список
- 155 Режим
- 157 Информационные; Инф
- 162 Очистка
- 164 Регулировка; Положение
- 165 Штамп
- 166 Замена; ЗАМЕНИТЕ
- 167 Проверка
- 169 Legal
- 173 Flash
- 175 Panasonic
- 176 ►Словарь
- 177 Словарь◄
- 184 Название
- 185 Matsushita Graphic Communication Systems, Inc.
- 187 ПРАВОЧНОЕ












