Факсы Panasonic UF-895 - инструкция пользователя по применению, эксплуатации и установке на русском языке. Мы надеемся, она поможет вам решить возникшие у вас вопросы при эксплуатации техники.
Если остались вопросы, задайте их в комментариях после инструкции.
"Загружаем инструкцию", означает, что нужно подождать пока файл загрузится и можно будет его читать онлайн. Некоторые инструкции очень большие и время их появления зависит от вашей скорости интернета.

173
Дополнительное
оборудование
и
принадлежности◄
Установка
карты
памяти
(
карты
Flash
памяти
и
/
или
DRAM
карты
)
Перед
началом
установки
убедитесь
в
том
,
что
в
памяти
аппарата
не
хранятся
документы
.
Вы
можете
распечатать
для
этого
список
файлов
(
См
.
стр
. 77).
Когда
карта
памяти
будет
установлена
,
аппарат
автоматически
инициализирует
память
документов
и
все
содержимое
памяти
будет
утрачено
.
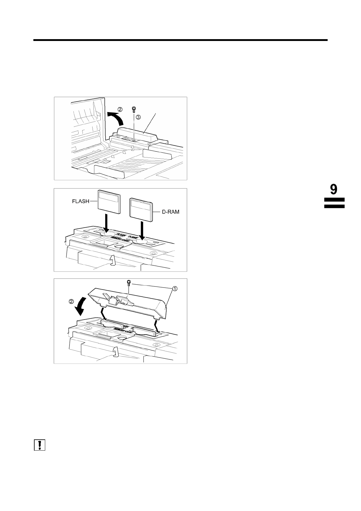
1
(1)
Установите
выключатель
питания
в
положение
"O" (OFF –
отключено
).
(2)
Откройте
крышку
устройства
автоматической
подачи
документов
(ADF).
(3)
Вывинтите
винт
.
(4)
Снимите
крышку
отсека
карт
памяти
.
2
Аккуратно
вставьте
карту
(
карты
)
памяти
так
,
чтобы
логотип
Panasonic
был
обращен
назад
.
Внимание
:
Неправильная
ориентация
при
вставке
карты
может
привести
к
повреждению
контактов
разъемов
внутри
аппарата
.
3
(1)
Вставьте
на
место
крышку
отсека
карт
памяти
и
завинтите
винт
..
(2)
Закройте
крышку
устройства
автоматической
подачи
документов
(ADF).
4
Включите
питание
аппарата
.
Распечатайте
список
параметров
телефакса
(
см
.
стр
. 151)
и
проверьте
значение
параметра
№
99 –
размер
памяти
. (
См
.
стр
. 38
и
Примечание
2
ниже
)
Примечания
:
1.
При
удалении
карты
памяти
документ
(
или
документы
),
хранящийся
в
памяти
,
будет
утрачен
.
2.
Параметр
№
99
отображает
только
размер
Flash
памяти
.
Крышка
отсека
карт
памяти
Содержание
- 3 Содержание
- 7 ПРИЛОЖЕНИЕ; Установка
- 8 WARNING
- 9 ВАЖНОЕ
- 10 CAUTION
- 11 Введение◄; Panafax
- 12 Примечание
- 17 ADF
- 20 LGL
- 21 Предупреждение
- 23 Выключатель; Внимание
- 26 Пример
- 29 Примечания
- 31 Ввод
- 35 Распечатка
- 37 Таблица
- 42 Как
- 43 Контрастность; RESOLUTION=Standard RESOLUTION=Fine RESOLUTION=Super Fine
- 44 Полутон
- 45 Журнал; OFF; Примечани
- 46 Сохранение; Передача
- 48 Ручной; MEMORY
- 49 Сенсорный
- 50 Сокращенный
- 51 Набор
- 52 Многостанционная
- 53 Прямая
- 57 Речевой
- 59 Резервирование
- 61 Повторный
- 62 Автоматический; Для
- 63 Уменьшение; Автоматическое; Выбор; 4 Print Reduction; ПРИМЕР; Letter
- 64 Прием; Переданный
- 65 5 PRINT COLLATION
- 66 ►Копирование
- 68 Отсроченная
- 69 Отсроченный
- 71 Подготовка; 7 (POLLED FILE SAVE –
- 72 Запрос
- 73 ABBR
- 79 Печать; “INCOMP”
- 80 Просмотр
- 83 Удаление
- 85 Добавление
- 86 Повторное
- 91 “DRD”
- 92 Общие
- 93 PANASONIC
- 95 Запоминание
- 96 Отправка
- 99 Описание
- 101 Изменение
- 114 “ON”; Совместимость; Модель
- 118 XMT; Использование
- 121 Конфиденц; почтовый; ящик
- 131 Ретрансляционная; Рис
- 133 “Yes”
- 138 Распечатки
- 140 ►Подадресация
- 141 Подадресация◄
- 144 Индивидуальный
- 146 Пояснения
- 147 Образец
- 152 Список
- 155 Режим
- 157 Информационные; Инф
- 162 Очистка
- 164 Регулировка; Положение
- 165 Штамп
- 166 Замена; ЗАМЕНИТЕ
- 167 Проверка
- 169 Legal
- 173 Flash
- 175 Panasonic
- 176 ►Словарь
- 177 Словарь◄
- 184 Название
- 185 Matsushita Graphic Communication Systems, Inc.
- 187 ПРАВОЧНОЕ












