Духовые шкафы Zanussi ZOB 482 XQ - инструкция пользователя по применению, эксплуатации и установке на русском языке. Мы надеемся, она поможет вам решить возникшие у вас вопросы при эксплуатации техники.
Если остались вопросы, задайте их в комментариях после инструкции.
"Загружаем инструкцию", означает, что нужно подождать пока файл загрузится и можно будет его читать онлайн. Некоторые инструкции очень большие и время их появления зависит от вашей скорости интернета.

electrolux
46
Комбинированное
использование режимов
“Продолжительность
приготовления”
и
“Время
окончания приготовления”
Функции “Продолжительность
приготовления” и “Время окончания
приготовления” можно использовать
одновременно в тех случаях, когда
необходимо задать режим
автоматического включения и
выключения духового шкафа в
процессе работы.
1.
В режиме “Продолжительность
приготовления”
(об установке
этого режима читайте в
соответствующем разделе буклета)
задайте нужную продолжительность
приготовления продукта. Затем
нажмите кнопку
: заданное
время приготовления отобразится
на дисплее.
2.
В режиме “Время окончания
приготовления”
(об установке
этого режима читайте в
соответствующем разделе буклета)
задайте время окончания
приготовления продукта.
Загорится соответствующий
индикатор, и на дисплее
отобразится текущее время суток.
Духовой шкаф включится и
выключится в соответствии с
заданными программами.
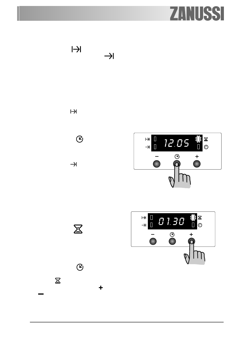
“Режим “Таймер”
По окончании заданного времени
таймер подаст звуковой сигнал, но
работающий духовой шкаф после этого
не выключится.
Установка таймера:
1.
Нажимая кнопку
,
выберите
режим “Таймер”. Соответствующий
индикатор
начнет мигать.
2.
Затем нажимайте кнопку “ ” или
же “
” (максимальные значения: 2
часа, 30 минут).












