Духовые шкафы Zanussi ZOB 482 XQ - инструкция пользователя по применению, эксплуатации и установке на русском языке. Мы надеемся, она поможет вам решить возникшие у вас вопросы при эксплуатации техники.
Если остались вопросы, задайте их в комментариях после инструкции.
"Загружаем инструкцию", означает, что нужно подождать пока файл загрузится и можно будет его читать онлайн. Некоторые инструкции очень большие и время их появления зависит от вашей скорости интернета.

electrolux
12
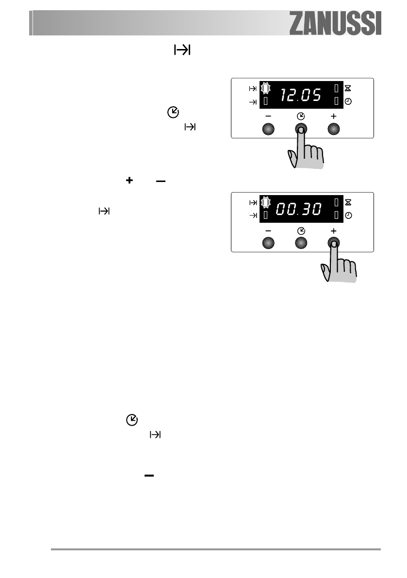
Funkcja “Czas pieczenia”
Funkcja ta umożliwia automatyczne
wyłącznie piekarnika po zakończeniu
zaprogramowanego czasu pieczenia.
Włożyć potrawę do piekarnika, wybrać
funkcję pieczenia i ustawić temperaturę
pieczenia. Naciskać przycisk
aż
pojawi się funkcja “Czas pieczenia”
.
Zacznie migać odpowiednia kontrolka.
Następnie, wykonać następujące
czynności:
Ustawianie czasu pieczenia:
1.
Naciskać przycisk “ “ lub “
“.
2.
Po ustawieniu godziny, należy
poczekać 5 sekund: kontrolka “Czas
pieczenia”
zapali się, a na
wyświetlaczu ponownie pojawi się
godzina.
3.
Po upływie czasu pieczenia, piekarnik
automatycznie wyłączy się, słyszalny
będzie alarm akustyczny, a kontrolka
zacznie migać. Ustawić pokrętło
wyboru funkcji piekarnika i pokrętło
termostatu w położenie zero.
Wyłączyć sygnał dźwiękowy
wciskając dowolny przycisk.
UWAGA:
wyłączenie alarmu
dźwiękowego powoduje przejście
piekarnika w tr yb ręczny. Brak
ustawienia pokręteł wyboru funkcji
piekarnika i termostatu w położeniu
zero spowoduje ponowne włączenie
się piekarnika.
Kasowanie ustawionego
czasu pieczenia:
1. Naciskać przycisk
aż pojawi się
funkcja “Czas pieczenia”
. Zacznie
migać odpowiednia kontrolka, a na
wyświetlaczu zostanie pokazany
pozostały czas pieczenia.
2.
Naciskać przycisk “
“ aż na
wyświetlaczu pojawi się “0:00”. Po 5
sekundach, kontrolka zgaśnie, a na
wyświetlaczu ponownie pojawi się
godzina.












