Духовые шкафы Zanussi ZOB 482 XQ - инструкция пользователя по применению, эксплуатации и установке на русском языке. Мы надеемся, она поможет вам решить возникшие у вас вопросы при эксплуатации техники.
Если остались вопросы, задайте их в комментариях после инструкции.
"Загружаем инструкцию", означает, что нужно подождать пока файл загрузится и можно будет его читать онлайн. Некоторые инструкции очень большие и время их появления зависит от вашей скорости интернета.

electrolux
45
отобразится время, остающееся до
окончания приготовления.
2.
Нажимайте кнопку “
” до тех пор,
пока на дисплее не появится
значение “0:00”. Через 5 секунд
индикатор погаснет, и дисплей
вернется в режим отображения
времени суток.
Режим “Окончание
приготовления”
С помощью этого режима вы можете
устанавливать автоматическое
выключение духового шкафа при
наступлении заданного времени
окончания приготовления. Поместите
продукты в духовой шкаф, выберите
нужный режим духового шкафа и
отрегулируйте температуру
приготовления продукта. Нажмите
кнопку
несколько раз подряд и
выберите режим “Окончание
приготовления”. Соответствующий
индикатор
начнет мигать. Затем
действуйте следующим образом:
Чтобы задать время окончания
приготовления продукта:
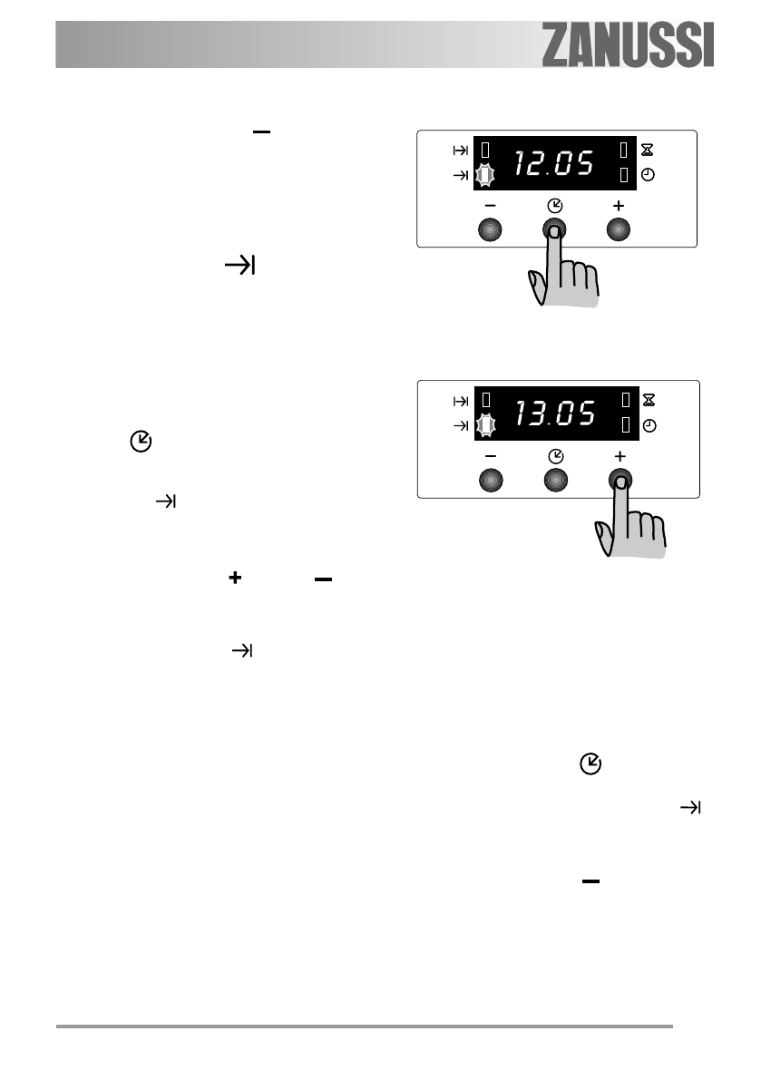
1.
Нажмите кнопку “ ” или же “
”.
2.
После установки параметров
подождите 5 секунд: загорится
индикатор “Окончание
приготовления”
и дисплей
вернется в режим отображения
времени суток.
3.
По истечении времени
приготовления продукта духовой
шкаф автоматически выключится,
сработает звуковой сигнал и начнет
мигать индикатор. Переведите
переключатель режимов духового
шкафа и регулятор термостата в
нулевое положение.
Для отключения звукового сигнала
нажмите любую кнопку.
ПРИМЕЧАНИЕ:
выключение
акустического сигнала возвращает
духовой шкаф к работе в ручном
режиме, и если функции духового
шкафа и ручки термостата не
установлены на ноль, то духовой
шкаф начнет нагреваться вновь.
Отмена заданного времени
окончания приготовления
продукта:
1.
Нажимая кнопку
, выберите
режим “Окончание приготовления”.
Соответствующий индикатор
начнет мигать, и на дисплее
отобразится заданное время
окончания приготовления.
2.
Нажимайте кнопку “
” до тех пор,
пока на дисплее не отобразится
текущее время суток. Программатор
выдаст звуковой сигнал и индикатор
погаснет.












