Духовые шкафы Zanussi ZCB 990 XQ - инструкция пользователя по применению, эксплуатации и установке на русском языке. Мы надеемся, она поможет вам решить возникшие у вас вопросы при эксплуатации техники.
Если остались вопросы, задайте их в комментариях после инструкции.
"Загружаем инструкцию", означает, что нужно подождать пока файл загрузится и можно будет его читать онлайн. Некоторые инструкции очень большие и время их появления зависит от вашей скорости интернета.

37
Чистка прокладки дверцы
По периметру проема камеры духового шкафа
установлена прокладка.
Состояние этой прокладки
рекомендуется проверять на
регулярные интервалы времени. Если
необходимо, чистите вышеуказанную
прокладку, избегая использования
абразивных предметов или чистящих
средств. При обнаружении
повреждении на прокладке
немедленно обратитесь в ближайший
центр сервисного обслуживания для
ее замены. Не пользуйтесь духовым
шкафом до тех пор, пока прокладка не
была заменена.
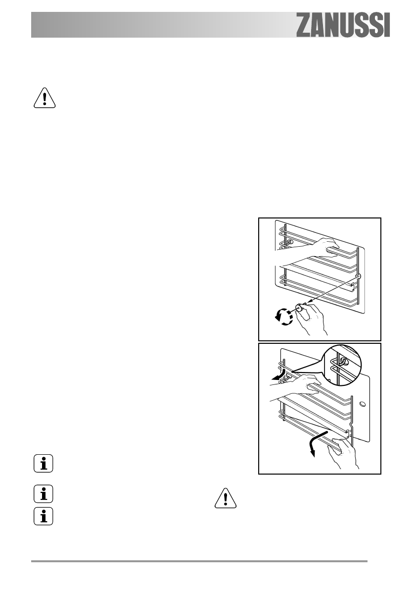
Решетки и держатели решеток
Для чистки решеток духового шкафа обильно
промойте их теплой водой с мылом; устраните
трудноудалимые загрязнения с помощью хорошо
смоченной в мыльном растворе губки.
Хорошо сполосните их и вытрите мягкой тряпкой.
Держатели решеток можно снять для большего
удобства чистки.
Затем действуйте в соответствии с
нижеприведенными указаниями:
1. снимите передний винт, придерживая
держатель на месте другой рукой;
2. отцепите задний крюк и снимите держатель;
3. после окончания чистки ус тановите
держатели на место, выполнив
вышеописанную процедуру в обратном
порядке.
После установки держателей на место проверьте,
чтобы все гайки были плотно затянуты.
Внимание: ролики не следует смазывать.
Можно снимать только телескопические
направляющие, разблокировав детали, как
показано на рисунке 27.
Телескопические направляющие нельзя мыть
в посудомоечной машине.
Не пытайтесь вытаскиват ь
телескопические направляющие до тех
пор, пока духовка не остынет
полностью.
Не вытаскивайте телескопические
направляющие до самого конца,
чтобы не удалить и х с б о ко в ы х
скользящих салазок.
Вы можете пораниться из-за острых
краев.












