Духовые шкафы Zanussi ZCB 990 XQ - инструкция пользователя по применению, эксплуатации и установке на русском языке. Мы надеемся, она поможет вам решить возникшие у вас вопросы при эксплуатации техники.
Если остались вопросы, задайте их в комментариях после инструкции.
"Загружаем инструкцию", означает, что нужно подождать пока файл загрузится и можно будет его читать онлайн. Некоторые инструкции очень большие и время их появления зависит от вашей скорости интернета.

14
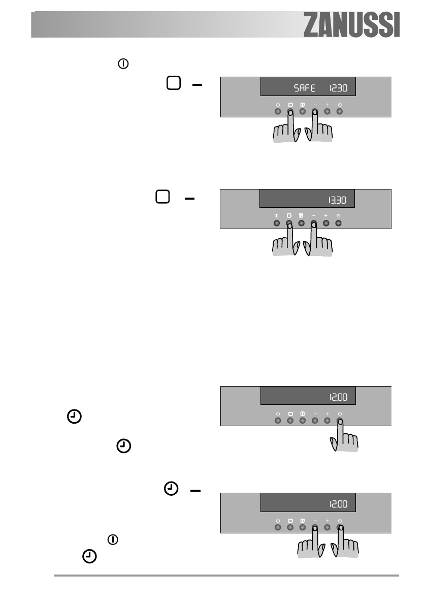
— Если духовой шкаф включен, выключите
его, нажав кнопку
.
— Одновременно нажмите кнопки
и “ ”
и удержите их в течение не менее 3 секунд.
При этом будет слышен кратковременный
звуковой сигнал, а на дисплее появится
слово ‘SAFE’ (Рис. 16).
— Теперь духовка защищена от
несанкционированного использования.
Выбирать функции приготовления не
представляется возможным.
Разблокировка духового шкафа:
одновременнонажмите кнопки
и “ ” и
удержите их в течение 3 секунд. При этом будет
слышен кратковременный звуковой сигнал, а с
дисплея исчезнет слово ‘SAFE’, после чего
духовой шкаф можно снова использовать
(Рис. 17).
Функция ‘Демо’
Данная функция используется для показания
функций и принципа работы духового шкафа в
магазинах или шоурумах без расхода энергии, за
исключением внутреннего освещения и
вентилятора.
Для того, чтобы использовать эту функцию,
прибор должен находиться в режиме “первое
включение”, т.е. в состоянии, в котором он
находиться при первом подключении к сети
электропитания или в случае восстановления
нормального питания после перерыва в
электроснабжении.
Перед активацией функции “демо” подождите
до появления на дисплее цифр “12.00” и мигания
символа
.
Далее действуйте следующим образом:
1.
Нажмите кнопку
в течение около 2
секунд (Рис.18). При этом будет подан
кратковременный звуковой сигнал.
2.
Одновременно нажмите кнопки
и “ ”.
Системой подается кратковременный
звуковой сигнал, а на дисплее появляются
цифры “12.00” (Рис.19).
3.
Нажав кнопку
, на дисплее появится
символ
, указывающий на то, что
Рис. 16
Рис.
17
Рис. 19
Рис. 18












