Духовые шкафы Whirlpool AKZ 237 IX (NB) (WH) - инструкция пользователя по применению, эксплуатации и установке на русском языке. Мы надеемся, она поможет вам решить возникшие у вас вопросы при эксплуатации техники.
Если остались вопросы, задайте их в комментариях после инструкции.
"Загружаем инструкцию", означает, что нужно подождать пока файл загрузится и можно будет его читать онлайн. Некоторые инструкции очень большие и время их появления зависит от вашей скорости интернета.

RU24
СПИСОК ФУНКЦИЙ/РЕЖИМОВ
При повороте ручки выбора режимов происходит включение духовки: на дисплей выводятся названия функций/
режимов или соответствующие им подменю.
Для того чтобы подменю оказались доступными для выбора, следует установить ручку в положение, соответствущее
одной из функций/режимов: ГРИЛЬ, CПEЦ. ФYНКЦИИ, НАСТРОЙКИ, ПИЦЦА/ХЛЕБ.
ПРИМ. Список и описание конкретных режимов приведены в таблице наpage 28.
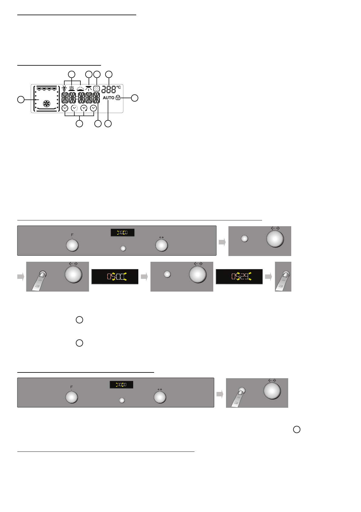
ЭЛЕМЕНТЫ ДИСПЛЕЯ
A.
Отображение нагревательных элементов, включенных в том или ином режиме
B.
Символы, относящиеся к параметрам, определяющим время: таймер, продолжительность приготовления, время
завршения приготовления, текущее время суток
C.
Информация по предварительно выбранным режимам/функциям
D.
Выбран автоматический режим “ПИЦЦА/ХЛЕБ”
E.
Индикатор блокировки дверцы в закрытом состоянии во время выполнения цикла автоматической очистки
(отсуттвует на данной модели)
F.
Температура внутри духовки
G.
Функция пиролиза (отсутствует на данной модели)
H.
Подрумянивание
I.
Специальные режимы (функции): размораживание, сохранение тепла, подъем теста
ВКЛЮЧЕНИЕ ДУХОВКИ - ЗАДАНИЕ ТЕКУЩЕГО ВРЕМЕНИ СУТОК
После подключения духовки к электрической сети необходимо задать текущее время суток. На дисплее мигают де
цифры, соответствующие значению часов.
1.
Поверните ручку просмотра/регулировки так, чтобы на дисплее отобразилось правильное значение часов.
2.
Нажмите кнопку
для подтверждения выбора; на дисплее начинают мигать две цифры, соответствующие
значению минут.
3.
Поверните ручку просмотра/регулировки так, чтобы на дисплее отобразилось правильное значение минут.
4.
Нажмите кнопку
для подтверждения выбора.
Если необходимо изменить текущее значение времени суток, например, в связи со сбоем подачи электроэнергии, см.
описание действий, данное в следующем разделе (НАСТРОЙКИ).
ВЫБОР РЕЖИМА ПРИГОТОВЛЕНИЯ
1.
Поверните ручку выбора режимов в положение, соответствующее нужному режиму: на дисплее будут отображены
праметры данного режима.
2.
Если предварительно заданные значения соответствуют тем, которые вам нужны, нажмите кнопку
. Для
изменения существующих значений выполните действия, описанные ниже.
ЗАДАНИЕ ТЕМПЕРАТУРЫ/МОЩНОСТИ ГРИЛЯ
Чтобы изменить значение температуры или мощности гриля, выполните действия, описанные ниже.
A
B
C
D
E
I
H
G
F
3
3
3
Содержание
- 2 УСТАНОВКА
- 3 Удаление изделия в отходы; Экономия электроэнергии; ЗАЯВЛЕНИЕ О СООТВЕТСТВИИ
- 4 СНЯТИЕ ДВЕРЦЫ; УБОРКА ПРИБОРА; ТЕХОБСЛУЖИВАНИЕ; ПРЕДУПРЕЖДЕНИЕ
- 6 ПРИНАДЛЕЖНОСТИ, ПОСТАВЛЯЕМЫЕ В КОМПЛЕКТЕ С ДУХОВКОЙ; ПРИНАДЛЕЖНОСТИ, НЕ ПОСТАВЛЯЕМЫЕ В КОМПЛЕКТЕ С ДУХОВКОЙ; РУКОВОДСТВО ПО ЭКСПЛУАТАЦИИ ДУХОВКИ
- 9 БЫСТРЫЙ ПРЕДВАРИТЕЛЬНЫЙ НАГРЕВ; ЗАДАНИЕ ПРОДОЛЖИТЕЛЬНОСТИ ПРИГОТОВЛЕНИЯ
- 12 ТАБЛИЦА ОПИСАНИЯ ФУНКЦИЙ/РЕЖИМОВ; РУЧКА ВЫБОРА РЕЖИМОВ
- 13 РУЧКА ВЫБОРА РЕЖИМОВ (продолжение следует)
- 14 ПРИГОТОВЛЕНИЕ РАЗЛИЧНЫХ БЛЮД
- 18 Как пользоваться таблицей приготовления блюд; Одновременное приготовление различных блюд; ПОЛЕЗНЫЕ СОВЕТЫ И РЕКОМЕНДАЦИИ
Характеристики
Остались вопросы?Не нашли свой ответ в руководстве или возникли другие проблемы? Задайте свой вопрос в форме ниже с подробным описанием вашей ситуации, чтобы другие люди и специалисты смогли дать на него ответ. Если вы знаете как решить проблему другого человека, пожалуйста, подскажите ему :)








