Духовые шкафы Graude BMDP 60.1 S - инструкция пользователя по применению, эксплуатации и установке на русском языке. Мы надеемся, она поможет вам решить возникшие у вас вопросы при эксплуатации техники.
Если остались вопросы, задайте их в комментариях после инструкции.
"Загружаем инструкцию", означает, что нужно подождать пока файл загрузится и можно будет его читать онлайн. Некоторые инструкции очень большие и время их появления зависит от вашей скорости интернета.

5
Запрещается подключать контакт заземления к газовым, водяным трубам, молниеотводам,
телефонным линиям, так как это может привести к поражению электрическим током
вследствие того, что эти объекты не предназначены для таких целей. Розетка не должна
находиться в местах, где она может подвергаться воздействию влаги или жидкости, а также
возле источников тепла.
4.
Не включайте прибор до того, как будет завершен процесс монтажа.
ОСТОРОЖНО!
Прибор оснащен шнуром питания длиной 1,2 м. Прибор должен быть подключен к розетке 16 А,
подсоединенной к системе защиты от замыкания. Если шнур питания повредился, в целях
безопасности работы по его замене должны быть выполнены квалифицированным сервисным
специалистом.
Процесс монтажа
1.
Откройте дверцу и с помощью саморезов прикрутите прибор к кухонному шкафу. Отверстия
для саморезов находятся с обеих сторон передней панели прибора. Проверьте надежность
крепления, чтобы прибор не выдвинулся вперед и не повредился во время использования.
2.
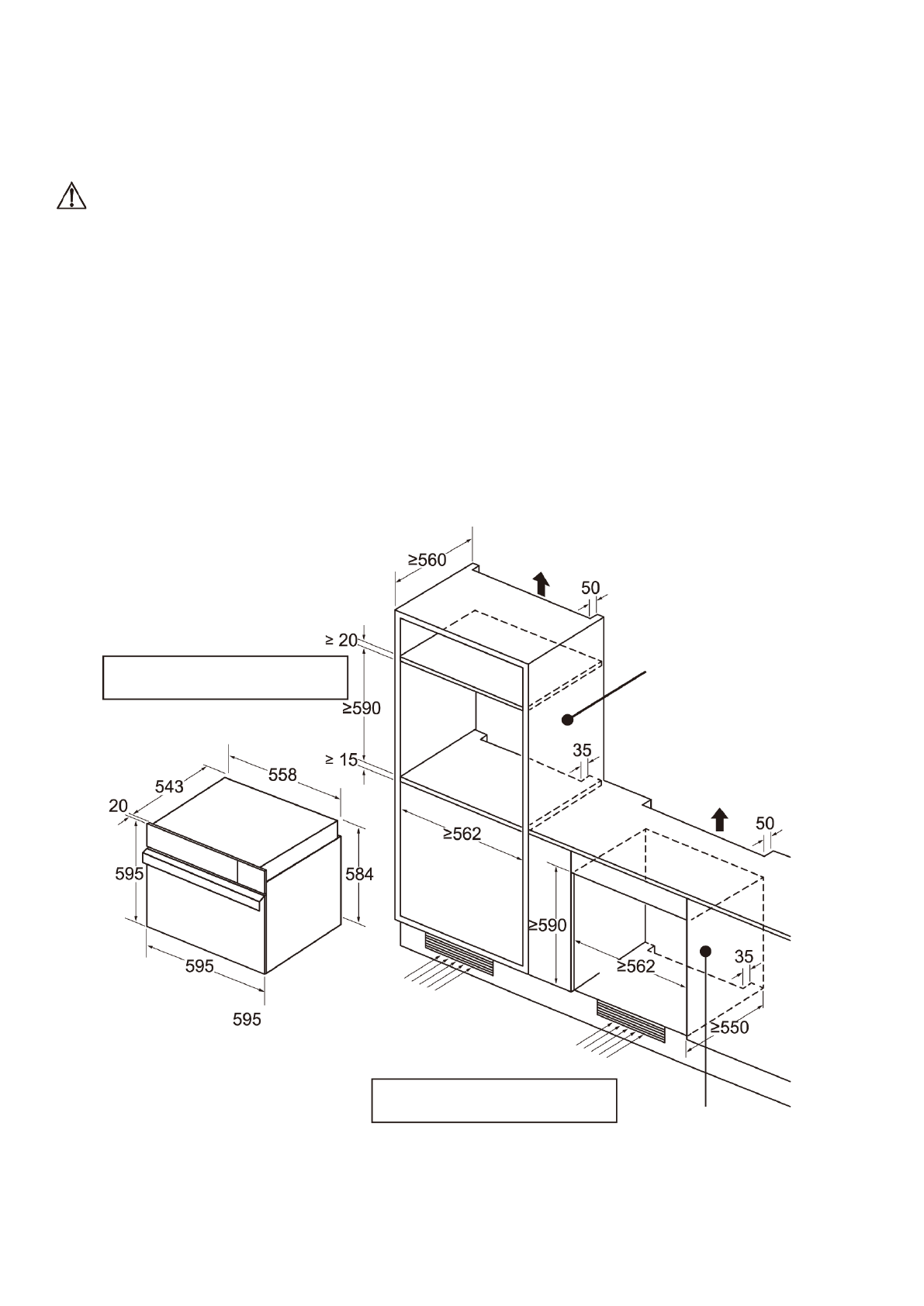
Схема монтажа представлена на рисунке ниже. Рекомендуется снять заднюю стенку шкафа,
чтобы освободить дополнительное пространство для монтажа и вентиляции прибора.
Размеры прибора
Монтаж в колонну
Отверстие для
отвода воздуха
Отверстие для
отвода воздуха
Для улучшения вентиляции
снимите заднюю стенку шкафа
Отверстие для
забора воздуха
Монтаж в нижний шкаф
Для улучшения вентиляции
снимите заднюю стенку шкафа
Размеры выреза (мм)
Отверстие для
забора воздуха













