Духовые шкафы Electrolux EOG 23400 X - инструкция пользователя по применению, эксплуатации и установке на русском языке. Мы надеемся, она поможет вам решить возникшие у вас вопросы при эксплуатации техники.
Если остались вопросы, задайте их в комментариях после инструкции.
"Загружаем инструкцию", означает, что нужно подождать пока файл загрузится и можно будет его читать онлайн. Некоторые инструкции очень большие и время их появления зависит от вашей скорости интернета.

16
electrolux
Загорится соответствующий индикатор,
и на дисплее отобразится текущее время
суток. Духовой шкаф включится и
выключится в соответствии с заданными
программами.
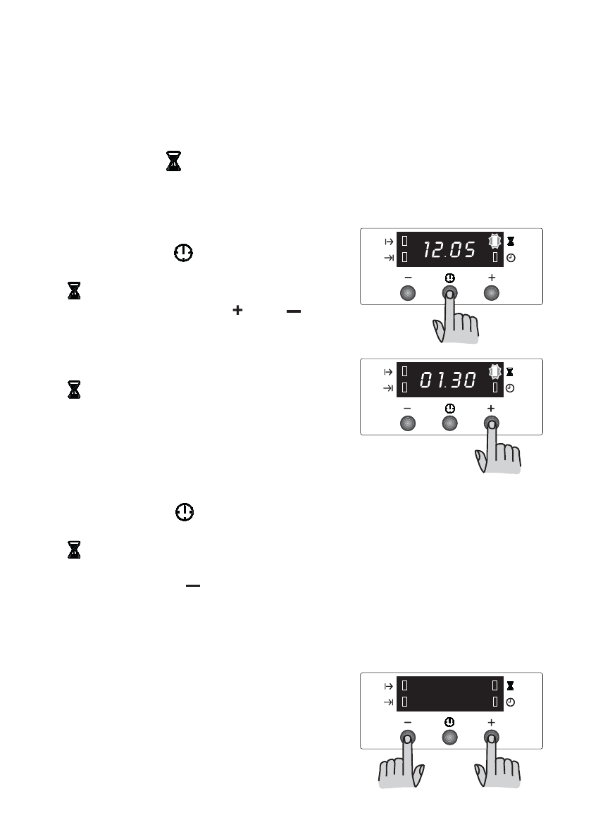
Режим “Таймер”
По окончании заданного времени таймер
подаст ЗВУКОВОЙ СИГНАЛ, НО работающий
духовой шкаф после этого не выключится..
Установка таймера:
1 .
Нажимая кнопку
, выберите режим
“Таймер”. Соответствующий индикатор
начнет мигать.
2 .
Затем нажимайте кнопку “ ” или “
”
(максимальные значения: 2 часа, 30
минут).
3 .
После установки параметров подождите
5 секунд: Загорится индикатор “Таймер”
.
4 .
П о и с т е ч е н и и з а д а н н о г о п е р и о д а
времени индикатор начнет мигать и
с р а б о т а е т з в у к о в о й с и г н а л . Д л я
отключения звукового сигнала нажмите
любую кнопку.
Отмена установки таймера:
1. Нажимая кнопку
, выберите режим
“Таймер”. Соответствующий индикатор
н а ч н е т м и г а т ь и н а д и с п л е е
отобразится оставшееся время.
2 .
Нажимайте кнопку “
” до тех пор, пока
на дисплее не появится значение “0:00”.
Через 5 секунд индикатор погаснет, и
дисплей вернется в режим отображения
времени суток.
Как отключить дисплей
1. Нажмите одновременно две кнопки
программатора и держите их нажатыми
примерно 5 секунд. Дисплей отключится.
2. Для включения дисплея нажмите любую
кнопку.
Дисплей можно выключить только в том
случае, если не заданы никакие другие
режимы.