Духовые шкафы Electrolux EOB 96001 X - инструкция пользователя по применению, эксплуатации и установке на русском языке. Мы надеемся, она поможет вам решить возникшие у вас вопросы при эксплуатации техники.
Если остались вопросы, задайте их в комментариях после инструкции.
"Загружаем инструкцию", означает, что нужно подождать пока файл загрузится и можно будет его читать онлайн. Некоторые инструкции очень большие и время их появления зависит от вашей скорости интернета.

rul (C) direct în partea goal
ă
a c
ă
rnii. Nu
bloca
ţ
i orificiile.
Pune
ţ
i vasul de copt pe primul sau pe al
doilea nivel al cuptorului, num
ă
rat de jos.
Asigura
ţ
i-v
ă
c
ă
furtunul din cauciuc nu este
zdrobit sau în contact cu un element de
înc
ă
lzire. Seta
ţ
i cuptorul pe func
ţ
ia de g
ă
tire
cu abur.
Pentru informa
ţ
ii suplimentare privind modul
de g
ă
tire combinat
ă
cu abur, consulta
ţ
i ta-
belele de g
ă
tit cu abur.
Important
Furtunul din cauciuc este
proiectat special pentru procesul de g
ă
tire
ş
i nu con
ţ
ine substan
ţ
e periculoase.
Important
Proceda
ţ
i cu aten
ţ
ie la
manipularea injectoarelor în timpul utiliz
ă
rii.
Când manipula
ţ
i injectoarele iar cuptorul
este fierbinte, purta
ţ
i întotdeauna m
ă
nu
ş
i de
buc
ă
t
ă
rie. În orice caz, scoate
ţ
i injectoarele
din cuptor dac
ă
nu utiliza
ţ
i func
ţ
ia de g
ă
tire
cu abur.
Func
ţ
ii suplimentare
Oprirea automat
ă
Aparatul se dezactiveaz
ă
dup
ă
o anumit
ă
perioad
ă
de timp:
• dac
ă
nu-l dezactiva
ţ
i personal;
• dac
ă
nu modifica
ţ
i temperatura cuptoru-
lui.
Temperatura cup-
torului
Perioad
ă
de decu-
plare
30°C - 115°C
12,5 ore
120°C - 195°C
8,5 ore
200°C - 245°C
5,5 ore
250°C
3,0 ore
Pentru a utiliza aparatul dup
ă
dezactivarea
automat
ă
trebuie mai întâi s
ă
-l dezactiva
ţ
i
total.
Dispozitiv siguran
ţă
copii
Când este activat dispozitivul de sigu-
ran
ţă
pentru copii, aparatul nu func
ţ
io-
neaz
ă
.
Activarea siguran
ţ
ei pentru copii
1. Ap
ă
sa
ţ
i
pentru a dezactiva aparatul.
2. Ap
ă
sa
ţ
i
ş
i
în acela
ş
i timp pân
ă
când afi
ş
ajul indic
ă
“SAFE”. Func
ţ
ia si-
guran
ţă
pentru copii este activat
ă
.
Dezactivarea siguran
ţ
ie pentru copii
Pentru a dezactiva dispozitivul de siguran
ţă
pentru copii, repeta
ţ
i aceea
ş
i pa
ş
i.
Func
ţ
ia C
ă
ldura rezidual
ă
Cu func
ţ
ia Durat
ă
, cuptorul se opre
ş
te au-
tomat cu câteva minute înainte de încheie-
rea perioadei setate. Cuptorul utilizeaz
ă
c
ă
ldura rezidual
ă
pentru a finaliza g
ă
tirea
alimentelor f
ă
r
ă
consum de energie.
Important
Func
ţ
ia C
ă
ldur
ă
rezidual
ă
este
aplicabil
ă
numai dac
ă
durata este mai mare
de 15 minute.
Func
ţ
ia de înc
ă
lzire rapid
ă
Cu func
ţ
ia de înc
ă
lzire rapid
ă
, mic
ş
ora
ţ
i du-
rata de pre-înc
ă
lzire. O pute
ţ
i utiliza cu fie-
care func
ţ
ie de g
ă
tit.
Important
Nu introduce
ţ
i alimentele în
cuptor înainte de finalizarea func
ţ
iei de
înc
ă
lzire rapid
ă
.
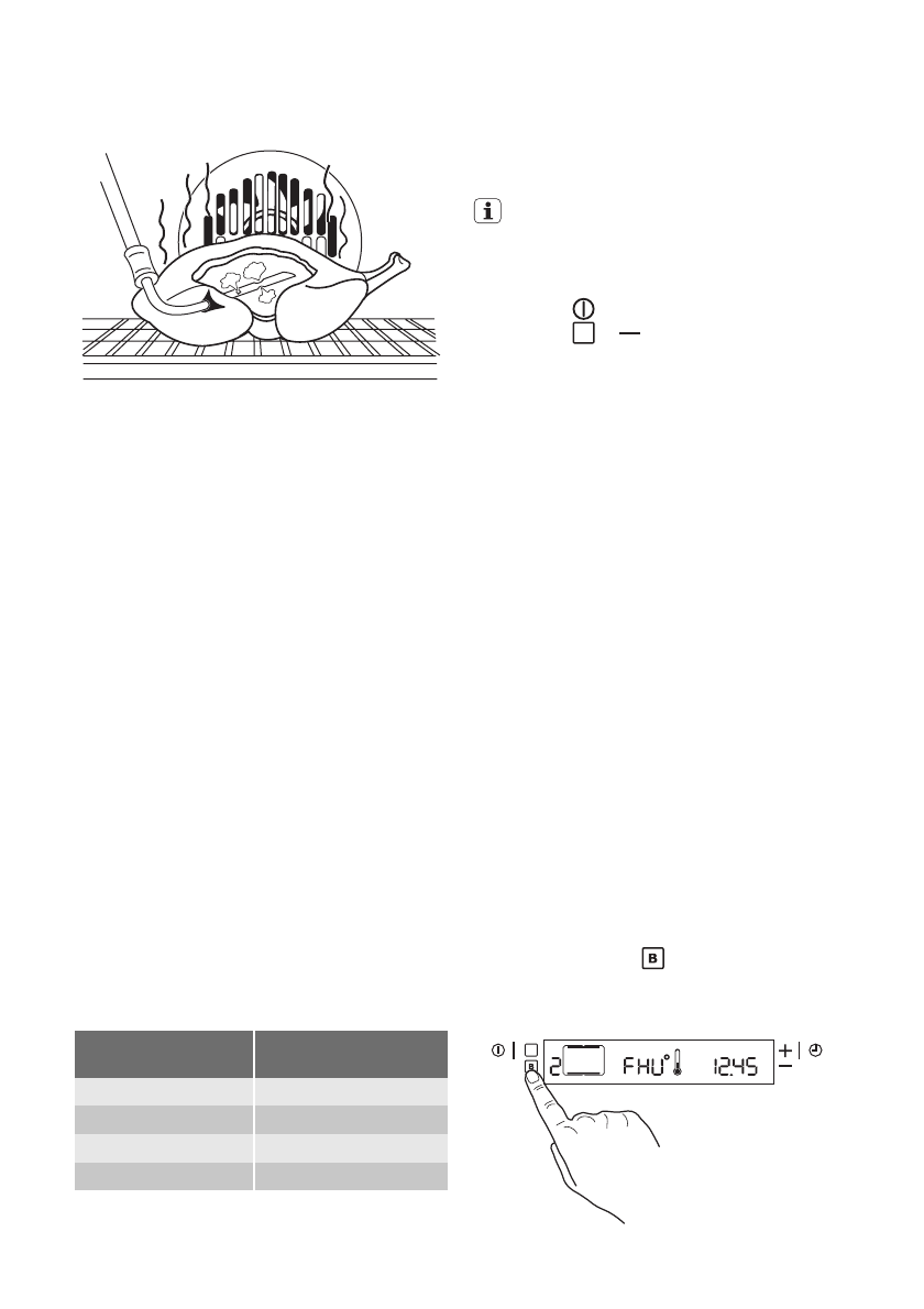
1. Seta
ţ
i o func
ţ
ie a cuptorului.
La nevoie, modifica
ţ
i temperatura reco-
mandat
ă
.
2. Ap
ă
sa
ţ
i butonul
. Pe afi
ş
aj apare
"FHU"
ş
i func
ţ
ia de înc
ă
lzire rapid
ă
ac-
ţ
ioneaz
ă
.
electrolux
37












