Духовые шкафы Electrolux EOB 6697 U - инструкция пользователя по применению, эксплуатации и установке на русском языке. Мы надеемся, она поможет вам решить возникшие у вас вопросы при эксплуатации техники.
Если остались вопросы, задайте их в комментариях после инструкции.
"Загружаем инструкцию", означает, что нужно подождать пока файл загрузится и можно будет его читать онлайн. Некоторые инструкции очень большие и время их появления зависит от вашей скорости интернета.

11
Ïåðåä ïåðâûì èñïîëüçîâàíèåì
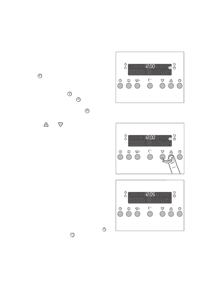
Óñòàíîâêà è èçìåíåíèå âðåìåíè ñóòîê
3
Äóõîâîé øêàô ðàáîòàåò òîëüêî ïðè óñòàíîâëåííîì ïàðàìåòðå âðåìåíè.
Ïîñëå ïîäêëþ÷åíèÿ ê ñåòè èëè
ïðåêðàùåíèÿ ïîäà÷è ýëåêòðîýíåðãèè
àâòîìàòè÷åñêè íà÷èíàåò ìèãàòü ñòðåëêà,
óêàçûâàþùàÿ íà èíäèêàöèþ Âðåìÿ
ñóòîê .
1.
×òîáû èçìåíèòü ðàíåå óñòàíîâëåííîå
âðåìÿ ñóòîê, ñíà÷àëà íàæìèòå
êíîïêó Âêë./Âûêë. . Çàòåì íàæèìàéòå
êíîïêó Ôóíêöèè ÷àñîâ äî òåõ ïîð,
ïîêà íå çàìèãàåò ñòðåëêà, óêàçûâàþùàÿ
íà èíäèêàòîð Âðåìÿ ñóòîê .
Êíîïêîé
èëè óñòàíîâèòå òåêóùåå
âðåìÿ ñóòîê.
Ïðèìåðíî ÷åðåç 5 ñåêóíä ìèãàíèå
ïðåêðàòèòñÿ è ÷àñû ïîêàæóò
óñòàíîâëåííîå âðåìÿ ñóòîê.
Ïðèáîð ãîòîâ ê ðàáîòå.
3
Âðåìÿ ñóòîê ìîæíî ìåíÿòü òîëüêî òîãäà,
êîãäà âûêëþ÷åíî óñòðîéñòâî
îáåñïå÷åíèÿ áåçîïàñíîñòè äåòåé, íå
çàäàíû ôóíêöèè Ïðîäîëæèòåëüíîñòü
èëè îêîí÷àíèÿ Êîíåö
, à òàêæå íå
çàäàíû äðóãèå ôóíêöèè äóõîâîãî øêàôà.