Духовые шкафы Electrolux EOB 4750 X - инструкция пользователя по применению, эксплуатации и установке на русском языке. Мы надеемся, она поможет вам решить возникшие у вас вопросы при эксплуатации техники.
Если остались вопросы, задайте их в комментариях после инструкции.
"Загружаем инструкцию", означает, что нужно подождать пока файл загрузится и можно будет его читать онлайн. Некоторые инструкции очень большие и время их появления зависит от вашей скорости интернета.

69
œpo„paÏÏËpo‚aÌËe
a‚ÚooÚÍÎ
˛
˜eÌË
ˇ
‰yxo‚ÍË
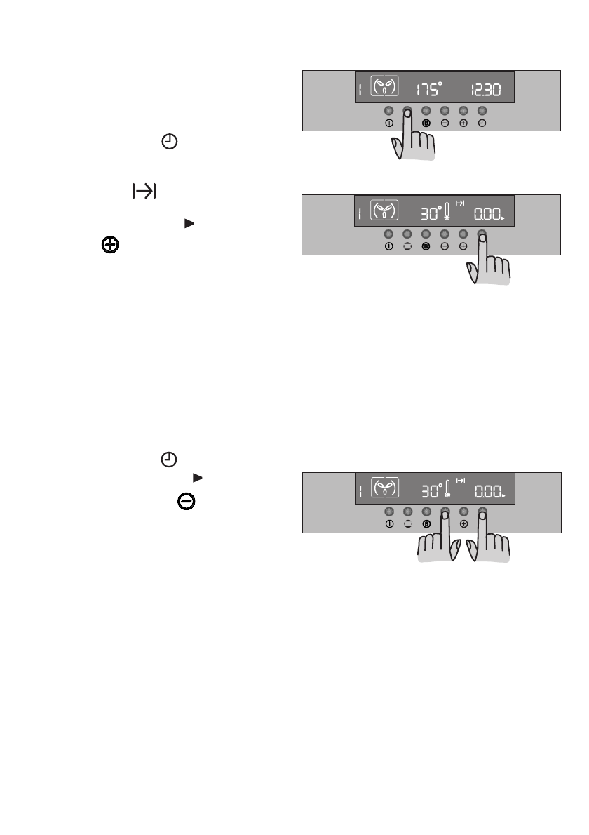
1
) œ o c Ú a ‚ ¸ Ú e · Î
˛
‰ o ‚ ‰ y x o ‚ Í y , ‚ Í Î
˛
˜ Ë Ú e
‰yxo‚Íy, ‚
˚
·epËÚe peÊËÏ ÔpË„oÚo‚ÎeÌË
ˇ
Ë Ô p Ë Ì e o · x o ‰ Ë Ï o c Ú Ë o Ú p e „ y Î Ë p y È Ú e
ÚeÏÔepaÚypy (PËc.
11
).
2 ) H a Ê Ï Ë Ú e Í Î a ‚ Ë ¯ y
, ˜ Ú o ·
˚
‚
˚
· p a Ú ¸
Ù y Ì Í ˆ Ë
˛
´ ‚ p e Ï
ˇ
Ô p Ë „ o Ú o ‚ Î e Ì Ë
ˇ
ª ( P Ë c .
1
2 ) . H a ˜ Ì e Ú Ï Ë „ a Ú ¸ c Ë Ï ‚ o Î ´ ‚ p e Ï e Ì Ë
ÔpË„oÚo‚ÎeÌË
ˇ
ª
, a Ìa ‰ËcÔÎee ÔaÌeÎË
yÔpa‚ÎeÌË
ˇ
Ôo
ˇ
‚ËÚc
ˇ
‚e΢ËÌa ì0.00î.
3 ) œ o Í a Ï Ë „ a e Ú c Ë Ï ‚ o Î , c Ô o Ï o
˘
¸
˛
ÍÎa‚Ë¯Ë ì
î ycÚaÌo‚ËÚe ÌyÊÌoe ‚peÏ
ˇ
.
MaÍcËÏaθÌoe ‚peÏ
ˇ
cocÚa‚Î
ˇ
eÚ 23 ˜aca
59 ÏËÌyÚ.
◊
epeÁ 3 ceÍỷ
˚
Ôpo„paÏÏaÚop
Ìa˜ÌeÚ pa·oÚy.
4 ) œ o Ë c Ú e ˜ e Ì Ë Ë ‚ p e Ï e Ì Ë Ô p Ë „ o Ú o ‚ Î e Ì Ë
ˇ
‰ y x o ‚ Í a a ‚ Ú o Ï a Ú Ë ˜ e c Í Ë ‚
˚
Í Î
˛
˜ Ë Ú c
ˇ
Ë
paÁ‰acÚc
ˇ
Á‚yÍo‚oÈ cË„ÌaÎ; ÔpË
˝
ÚoÏ Ìa
Ô a Ì e Î Ë y Ô p a ‚ Î e Ì Ë
ˇ
Ô o
ˇ
‚ Ë Ú c
ˇ
‚ e Î Ë ˜ Ë Ì a
ì 0 . 0 0 î .
6 ) ƒ Î
ˇ
o Ú Í Î
˛
˜ e Ì Ë
ˇ
Á ‚ y Í o ‚ o „ o c Ë „ Ì a Î a ,
ÌaÊÏËÚe Î
˛
·y
˛
ÍÎa‚˯y.
OÚÏeÌa ‚peÏeÌË
Ô p Ë „ o Ú o ‚ Î e Ì Ë
ˇ
:
ó ÌaÊËÏaÈÚe ÍÎa‚˯y
‰o Úex Ôop, ÔoÍa
Ìe Ìa˜ÌeÚ ÏË„aÚ¸ cËÏ‚oÎ .
ó C Ô o Ï o
˘
¸
˛
Í Î a ‚ Ë ¯ Ë ì
î y Ï e Ì ¸ ¯ a È Ú e
‚ p e Ï
ˇ
‰ o Ú e x Ô o p , Ô o Í a Ì a ‰ Ë c Ô Î e e Ì e
Ôo
ˇ
‚ËÚc
ˇ
‚e΢ËÌa ì0.00î (PËc.
1
3).
P Ë c .
1 1
P Ë c .
1
2
P Ë c .
1
3