Духовые шкафы AEG BS5836680M - инструкция пользователя по применению, эксплуатации и установке на русском языке. Мы надеемся, она поможет вам решить возникшие у вас вопросы при эксплуатации техники.
Если остались вопросы, задайте их в комментариях после инструкции.
"Загружаем инструкцию", означает, что нужно подождать пока файл загрузится и можно будет его читать онлайн. Некоторые инструкции очень большие и время их появления зависит от вашей скорости интернета.
/html/pdf_to_image075.png)
Продолжительность
работы данного этапа
составляет около 35
минут.
После окончания процедуры
извлеките глубокий противень.
В случае, если функция
Удал. накипи была
выполнена ненадлежащим
образом, на дисплее
отобразится сообщение о
необходимости повторного
запуска функции.
В случае влажности и воды в приборе
протрите его сухой тряпкой. Для
окончательной просушки оставьте
дверцу прибора открытой.
12.8 Напоминание о
необходимости удаления
накипи
Имеется два вида напоминаний о
необходимости включения функции
удаления накипи: Удал. накипи. Эти
напоминания появляются каждом
включении прибора.
Ненавязчивое напоминание
напоминает и рекомендует произвести
цикл удаления накипи.
Настоятельное напоминание
обязывает произвести удаление
накипи.
Если не произвести
удаление накипи при
появлении настоятельного
напоминания, функции
приготовления на пару
будут недоступны.
Возможность отключить
напоминание о
необходимости удаления
накипи отсутствует.
12.9 Система
приготовления на пару –
Ополаск.
Извлеките все дополнительные
принадлежности.
Выберите в меню функцию Очистка.
Интерфейс пользователя поможет
пройти все этапы процедуры.
Продолжительность работы функции
составляет около 30 минут.
При использовании данной функции
освещение выключено.
1. Установите глубокий противень на
первый уровень.
2. Налейте в выдвижной резервуар
для воды свежую воду.
3. Включите данную функцию.
После окончания процедуры
извлеките глубокий противень.
12.10 Снятие и установка
дверцы
Как дверца, так и внутренние
стеклянные панели снимаются для
чистки. Количество стеклянных
панелей зависит от конкретной
модели.
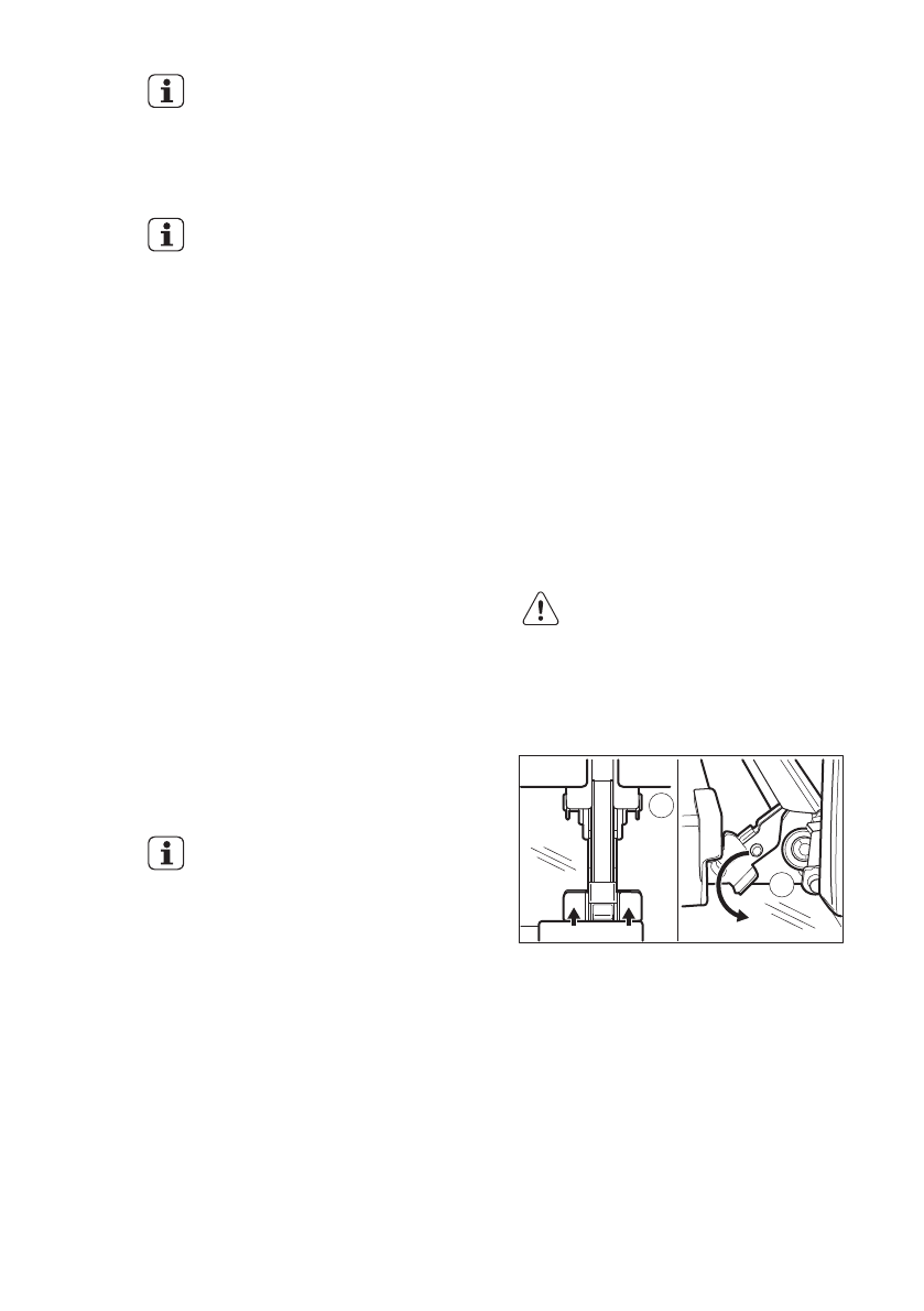
ВНИМАНИЕ!
Будьте осторожны при
снятии дверцы с прибора.
Дверь имеет большой вес.
1. Полностью откройте дверцу.
2. Нажмите до упора стопорные
рычаги (A) на двух петлях дверцы.
A
A
3. Прикройте дверцу до первого
фиксируемого положения
(приблизительно на угол 70°).
4. Возьмитесь за дверцу с обеих
сторон и потяните ее от прибора
под углом вверх.
5. Положите дверцу наружной
стороной вниз на мягкую ткань,
расстеленную на ровной
поверхности. Это предотвратит
появление царапин.
6. Возьмитесь за дверную планку (B)
на верхней кромке дверцы с двух
РУССКИЙ
75
Характеристики
Остались вопросы?Не нашли свой ответ в руководстве или возникли другие проблемы? Задайте свой вопрос в форме ниже с подробным описанием вашей ситуации, чтобы другие люди и специалисты смогли дать на него ответ. Если вы знаете как решить проблему другого человека, пожалуйста, подскажите ему :)