Духовые шкафы AEG BE5300252M - инструкция пользователя по применению, эксплуатации и установке на русском языке. Мы надеемся, она поможет вам решить возникшие у вас вопросы при эксплуатации техники.
Если остались вопросы, задайте их в комментариях после инструкции.
"Загружаем инструкцию", означает, что нужно подождать пока файл загрузится и можно будет его читать онлайн. Некоторые инструкции очень большие и время их появления зависит от вашей скорости интернета.

Кнопка
Описание
Цикла
Пар плюс
Включение функции «Горячий воздух
ПЛЮС»
6. ФУНКЦИИ ЧАСОВ
6.1 Установка таймера
Используйте данную функцию, чтобы
задать время обратного отсчета.
Максимально допустимый диапазон
времени составляет 2 часа 30 минут.
Эта функция не влияет на работу
духового шкафа.
Для установки необходимого времени
используйте « » или « ».
Таймер начнет работу автоматически
через пять секунд.
По истечении заданного времени
отсчета раздастся звуковой сигнал.
Для отключения звукового сигнала
нажмите на любую кнопку.
7. ИСПОЛЬЗОВАНИЕ ДОПОЛНИТЕЛЬНЫХ
ПРИНАДЛЕЖНОСТЕЙ
ВНИМАНИЕ!
См. Главы, содержащие
Сведения по технике
безопасности.
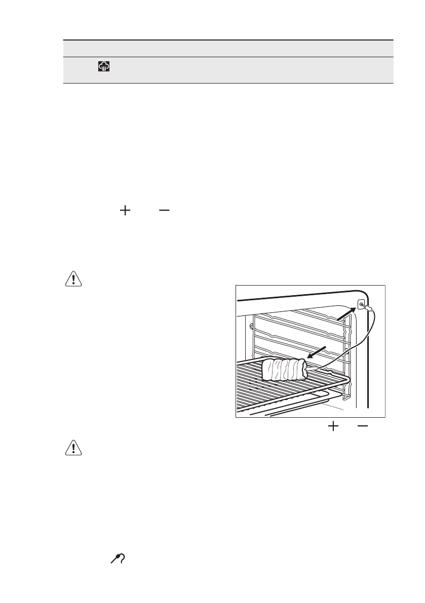
7.1 Использование
термощупа
Термощуп предназначен для
измерения температуры внутри мяса.
Необходимо задать два значения
температуры:
• Температуру духового шкафа. См.
таблицу «Жарка».
• Температуру внутри продукта. См.
Таблицу «Термощуп».
ОСТОРОЖНО!
Используйте только
термощуп, поставляемый
вместе с прибором, или
заказывайте его только
там, где продаются
оригинальные запасные
части.
1. Вставьте штекер термощупа в
гнездо спереди прибора.
На дисплее замигает значок датчика
термощупа
.
2. Вставьте кончик термощупа в
центр куска мяса.
3. С помощью кнопок или
задайте нужную температуру
внутри продукта. Температуру
можно задавать в диапазоне от
30°C до 99°C.
4. Выберите режим и задайте
температуру духового шкафа.
При достижении заданной
температуры внутри продукта в
течение двух минут будет выдаваться
звуковой сигнал. Для отключения
www.aeg.com
12












