Страница 2 - Плоский монитор DellTM U2913WM Руководство пользователя.; Примечания, уведомления и предупреждения; здоровью людей или летальном исходе.
Плоский монитор Dell™ U2913WM Руководство пользователя. О мониторе Настройка монитора Эксплуатация монитора Руководство пользователя Dell Display Manager Поиск и устранение неполадок Приложение Примечания, уведомления и предупреждения ПРИМЕЧАНИЕ. ПРИМЕЧАНИЕ указывает на важную информацию , которая о...
Страница 3 - Настройка монитора; Плоский монитор DellTM U2913WM; Настройка разрешения дисплея 2560 x 1080 пикселов (максимум); Персонализация
Вернуться к оглавлению Настройка монитора Плоский монитор Dell™ U2913WM Настройка разрешения дисплея 2560 x 1080 пикселов (максимум) Для оптимальной работы дисплея с операционными системами Microsoft ® Windows ® установите разрешение экрана 2560 x 1080 точек, выполнив приведенные ниже шаги : В Windo...
Страница 4 - О мониторе; Комплект поставки
Вернуться к оглавлению О мониторе Плоский монитор Dell™ U2913WM Руководство пользователя. Комплект поставкиХарактеристики продуктаДетали монитора и элементы управленияТехнические параметры монитораПоддержка технологии "Plug and Play"Интерфейс универсальной последовательной шины (USB)Разъясне...
Страница 6 - Характеристики продукта
Восходящий USB 3.0-кабель (активирует порты USB на мониторе) Соединительный кабель Velcro Драйверы и документация Краткое руководство по установке Информация по технике безопасности Информация о заводской калибровке Характеристики продукта Дисплей с плоским экраном U2913WM имеет ЖКД (жидкокристаллич...
Страница 7 - Детали монитора и элементы управления
■ Гнездо для замка безопасности. ■ Поддержка управления ресурсами ■ Возможность переключения из режима широкого экрана в стандартный режим просмотра с сохранением высокого качества изображения. ■ Серебро рейтинг EPEAT ■ C пониженным содержанием BFR/PVC ■ Стекло панели, не содержащее арсенидов и ртут...
Страница 11 - Технические характеристики монитора; Технические характеристики панели
* К разъему линейного аудиовыхода не допускается подключение наушников. Технические характеристики монитора Технические характеристики панели Тип экрана ЖК-экран с активной матрицей , технология TFT Типпанели Планарное переключение AH Размеры экрана 27 дюймов (видимый размер изображения 27 дюймов) П...
Страница 12 - Электрические характеристики
Поддерживаемые видеорежимы Воспроизводимые стандарты видео 480p, 576p, 720p, 1080p, 480i, 576i, 1080i Предустановленные режимы отображения Режим отображения Частота строк (кГц) Частота кадров (Гц) Частота синхронизации пикселов (МГц) Полярность синхронизации (горизонталь/ вертикаль)rtical) VESA, 720...
Страница 13 - Физические характеристики
240 В : 60 A (макс .) Физические характеристики Тип разъема 15 -контактный сверхминиатюрный разъем типа D, синий разъем ; DVI-D, белый разъем ; DP(in)/ DP(out)/ mDP, черный разъем Тип сигнального кабеля Цифровой: разъемный , DVI-D, прочные контакты, поставляется неподключенным к монитору Аналоговый ...
Страница 15 - Коммутация контактов; Разъем VGA
От компьютера не поступает сигнал . Нажмите любую клавишу на клавиатуре или мыши для пробуждения компьютера . Для смены источника входного сигнала еще раз нажмите кнопку монитора. Для вызова экранного меню включите компьютер и монито ПРИМЕЧАНИЕ. Данный монитор соответствует стандарту пониженного эне...
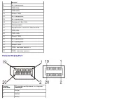
Страница 16 - Разъем DVI
3 Видео - синий 4 Общий 5 Самопроверка 6 Общий - красный 7 Общий - зеленый 8 Общий - синий 9 Компьютер 5 В /3,3 В 10 Общий - синхронизация 11 Общий 12 Данные цифрового преобразователя данных 13 Строчная синхронизация 14 Кадровая синхронизация 15 Тактовая частота цифрового преобразователя данных Разъ...
Страница 17 - Разъем DisplayPort
данных 8 Не подсоединен 9 TMDS RX1 - 10 TMDS RX1+ 11 Общий TMDS 12 Не подсоединен 13 Не подсоединен 14 Питание +5 В /+3,3 В 15 Самопроверка 16 Определение "горячего" подключения 17 TMDS RX0 - 18 TMDS RX0+ 19 Общий TMDS 20 Не подсоединен 21 Не подсоединен 22 Общий TMDS 23 TMDS, тактовая часто...
Страница 18 - 9-контактный разъем HDMI
4 ML1(p) 5 ЗЕМЛЯ 6 ML1(n) 7 ML2(p) 8 ЗЕМЛЯ 9 ML2(n) 10 ML3(p) 11 ЗЕМЛЯ 12 ML3(n) 13 ЗЕМЛЯ 14 ЗЕМЛЯ 15 AUX(p) 16 ЗЕМЛЯ 17 AUX(n) 18 HPD 19 DP_PWR Возврат 20 +3.3V DP_PWR 19-контактный разъем HDMI Номер контакта 19 -контактный разъем со стороны монитора 1 TMDS ДАННЫЕ 2+ 2 TMDS ДАННЫЕ 2, ЭКРАН
Страница 19 - Интерфейс универсальной последовательной шины (USB)
3 TMDS ДАННЫЕ 2- 4 TMDS ДАННЫЕ 1+ 5 TMDS ДАННЫЕ 1, ЭКРАН 6 TMDS ДАННЫЕ 1- 7 TMDS ДАННЫЕ 0+ 8 TMDS ДАННЫЕ 0, ЭКРАН 9 TMDS ДАННЫЕ 0- 10 TMDS ТАКТОВЫЙ СИГНАЛ 11 TMDS ТАКТОВЫЙ СИГНАЛ , ЭКРАН 12 TMDS ТАКТОВЫЙ СИГНАЛ - 13 Плавающая запятая 14 Плавающая запятая 15 DDC ТАКТОВЫЙ СИГНАЛ (SDA) 16 DDC ДАННЫЕ (S...
Страница 20 - Восходящий разъем USB; Нисходящий разъем USB
Полная 12 Мбит /с 2,5 Вт (макс ., каждый порт) Низкая 1,5 Мбит /с 2,5 Вт (макс ., каждый порт) Восходящий разъем USB Номер контакта Наименование сигнала 1 VBUS 2 D- 3 D+ 4 GND 5 StdB_SSTX - 6 StdB_SSTX+ 7 GND_DRAIN 8 StdB_SSRX - 9 StdB_SSRX+ Оплетка Экран Нисходящий разъем USB
Страница 21 - Разъемы USB; Инструкция по техническому обслуживанию; Чистка монитора
Номер контакта Наименование сигнала 1 VBUS 2 D- 3 D+ 4 GND 5 StdA_SSRX - 6 StdA_SSRX+ 7 GND_DRAIN 8 StdA_SSTX - 9 StdA_SSTX+ Оплетка Экран Разъемы USB 1 восходящий - с обратной стороны монитора 4 нисходящих - 2 с обратной стороны монитора; 2 с левой стороны ПРИМЕЧАНИЕ. Для функционирования интерфейс...
Страница 23 - Установка стойки
Вернуться к оглавлению Настройка монитора Плоский монитор Dell™ U2913WM Руководство пользователя. Установка стойки Подключение монитора Укладка кабелей Подключение звуковой панели AX510 / AX510PA (опция) Снятие стойки Настенное крепление (не входит в комплект поставки) Установка стойки ПРИМЕЧАНИЕ. Д...
Страница 24 - Подключение монитора
2. Вставьте в пазы на задней стороне монитора лапки , находящиеся на верхней части стойки . 3. Нажмите на подставку до щелчка. Подключение монитора ОСТОРОЖНО! Следуйте Инструкциям по технике безопасности при выполнении любых процедур, приведенных в этом разделе . Для подключения монитора к ПК выполн...
Страница 30 - Подключение кабеля USB; Укладка кабелей
Подключение кабеля USB После подключения кабеля (или кабелей ) DVI или (и) VGA/HDMI, выполните нижеприведенные процедуры для подключения кабеля USB и завершения настройки монитора: 1. Подключите т.н. "восходящий" разъем кабеля USB (прилагается ) к "восходящему " порту монитора, затем...
Страница 32 - Снятие стойки
Снятие стойки ПРИМЕЧАНИЕ. Чтобы не поцарапать экран ЖКД во время снятия стойки , поместите монитор на чистую поверхность. ПРИМЕЧАНИЕ. Для установки с любого другого стенда, пожалуйста, обратитесь к соответствующей руководство по установке стенда для инструкции по установке. Чтобы снять стойку, выпол...
Страница 33 - Настенное крепление (не входит в комплект поставки)
Настенное крепление (не входит в комплект поставки) (Размер винтов: M4 x 10 мм). См. инструкции, входящие в поставку с комплектом для настенного крепления, соответствующим стандарту VESA. 1. Поместите панель монитора на мягкую ткань или подушку на устойчивом ровном столе . 2. Снимите подставку. 3. С...
Страница 34 - Эксплуатация монитора; Использование элементов управления на передней панели; Значок на передней панели
Вернуться к оглавлению Эксплуатация монитора Плоский монитор Dell™ U2913WM Руководство пользователя. Использование элементов управления на передней панели Использование экранного меню Настройка оптимального разрешения Использование только звуковой панели Dell AX510/AX510PA (опция) Устанавливая нужны...
Страница 35 - Меню; Выход; Использование экранного меню; Доступ к системному меню
2 Кнопка быстро вызова, Яркость, контрастность Нажимайте эту кнопку для вызова непосредственно меню «Brightness/Contrast» (Яркость, контрастность ), а также для увеличения значения выбранного пункта меню . 3 Меню Нажимайте кнопку «MENU» (Меню) для вызова экранного меню и выбора соответствующего подм...
Страница 40 - Формат цвета на входе
Формат цвета на входе Выберите пункт «RGB», если монитор подключен к компьютеру или DVD-плееру посредством кабеля VGA или DVI. Выберите пункт «YPbPr», если монитор подключен к DVD-плееру посредством кабеля YPbPr – VGA, а также если для параметра цветности выходного сигнала DVD-плеера установлено зна...
Страница 50 - Contrast; Другие настройки
PBP Mode (Режим PBP) Выключение или отключение режима Picture by Picture (PBP, картинка рядом с картинкой ). Выберите входной сигнал для режима PBP (картинка рядом с картинкой ): VGA, DVI, DisplayPort, Mini DisplayPort, HDMI. Contrast (Контрастность) Настройка контрастности изображения в режиме PBP....
Страница 56 - Предупреждающие сообщения экранного меню
Предупреждающие сообщения экранного меню При включении функции «Dynamic Contrast» (Динамическая контрастность ) (в режимах «Game» (Игра) и «Movie» (Кино), будет отключена функция ручной регулировки яркости . Если некоторые режимы разрешения не поддерживаются, на экране появляются следующее сообщение...
Страница 59 - Настройка оптимального разрешения; « Рабочий стол»
или или Дополнительная информация приведена в разделе Устранение неполадок . Настройка оптимального разрешения Для установки оптимального разрешения выполните приведенные ниже действия. В Windows Vista ® , Windows ® 7 и Windows ® 8: 1. Только в Windows® 8: выберите плитку « Рабочий стол» для отображ...
Страница 60 - OK; Использование только звуковой панели Dell AX510/AX510PA (опция)
4. Нажмите кнопку « OK » Если значение разрешения 2560 x 1080 не отображается в окне параметров, необходимо обновить драйвер видеокарты. В зависимости от конфигурации компьютера выполните одну из следующих процедур. Если у вас ПК или портативный компьютер Dell: На веб-сайте support.dell.com введите ...
Страница 61 - Устанавливая нужный наклон, поворот и положение по вертикали
4. Гнезда для подключения наушников Устанавливая нужный наклон, поворот и положение по вертикали ПРИМЕЧАНИЕ. Для установки с любого другого стенда, пожалуйста, обратитесь к соответствующей руководство по установке стенда для инструкции по установке. Наклон, поворот Встроенная подставка позволяет нак...
Страница 63 - Поиск и устранение неполадок; Самопроверка
Вернуться к оглавлению Поиск и устранение неполадок Плоский монитор Dell™ U2913WM Руководство пользователя. Самопроверка Встроенная диагностика Типичные неполадки Неполадки, характерные для этого изделия Неполадки, связанные с интерфейсом универсальной последовательной шины (USB) Неполадки с акустич...
Страница 65 - Встроенная диагностика; Кнопка 1; Кнопка 4
4. Это диалоговое окно появляется в режиме нормальной работы системы при отключении или повреждении видеокабелей. 5. Выключите монитор и снова подключите видеокабель. После этого включите компьютер и монитор. Если экран монитора остается пустым после выполнения вышеуказанной процедуры, проверьте вид...
Страница 66 - Типичные неполадки; Признаки
Типичные неполадки В таблице ниже содержится общая информация о типичных проблемах с монитором, которые могут возникнуть у пользователя, и возможные решения. Признаки Проблема Решения Видео не отображается /индикатор питания выключен Отсутствует изображение Убедитесь, что видеокабель подключен к мон...
Страница 68 - Неполадки, характерные для данного изделия
В экранном меню Advance Setting (Дополнительные параметры ) измените значение параметра Input Color Format (Формат цветопередачи) на PC RGB или YPbPr. Запустите процедуру встроенной диагностики. Сохранение неподвижного изображения на экране в течение продолжительного времени На экране появляется сла...
Страница 69 - Неполадки с акустической системой DellTM Soundbar
Неполадки, связанные с интерфейсом универсальной последовательной шины (USB) Признаки Проблема Решения Интерфейс USB не работает Периферийные устройства USB не работают Убедитесь, что монитор включен. Повторно подключите "восходящий" кабель к компьютеру. Повторно подключите периферийные устр...
Страница 71 - Приложение; ОСТОРОЖНО! Инструкции по технике безопасности; Уведомление ФКС (только для США) и другая нормативная информация
Вернуться к оглавлению Приложение Плоский монитор Dell™ U2913WM Руководство пользователя. Инструкции по технике безопасности Уведомление ФКС (только для США) и другая нормативная информация Связь с компанией Dell ОСТОРОЖНО! Инструкции по технике безопасности ОСТОРОЖНО! Использование средств управлен...