Страница 2 - Описание
2 Уважаемый Заказчик! Сердечно поздравляем Вас с приобретением нового очистителя высокого давления и благодарим за покупку!Чтобы облегчить пользование аппаратом, разрешите на следующих страницах разъяснить Вам его работу.Очиститель поможет Вам в проведении всех Ваших работ по чистке Описание Допусти...
Страница 3 - Принцип подключения; Функциональные элементы
3 Принцип подключения Очистители высокого давления KRÄNZLE HD7/122 + HD10/122 - являются переносными аппаратами. Конструкция оказана на схеме. Функциональные элементы 1 Патрубок подключения водяного шланга с фильтром 2 Заборный шланг с фильтровальной корзиной (специальная принад- лежность), № для за...
Страница 5 - Защитный автомат электродвигателя
5 Описание При эксплуатации с горячей водой, имеющей температуру 60°, возникает повышенная температура. Не прикасаться к агрегату без защитных рукавиц! ВНИМАНИЕ ! ВНИМАНИЕ ! Никогда не засасывайте жидкости, содержащие растворители, как растворители лаков, бензин, масло или подобные жидкости . Соблюд...
Страница 6 - Подключение к электросети
6 Подключение к электросети Аппарат поставляется с соединительным кабелем (5м) и сетевым штекером. Штекер необходимо вставлять в установленную по инструкции розетку с защитным проводом и автоматом токовой защиты 30 мА . Розетку необходимо со стороны сети защитить инерционно на 16 А.KRÄNZLE HD 7/122 ...
Страница 7 - Недостаток воды ведет к повышенному износу
7 Описание Проверьте, пожалуйста, имееется ли в распоряжении очистителя высокого давления объем воды (литров в минуту), указанный на странице 2 (технические данные). Подключение воды: Проверка: Сливать воду из шланга в ведро в течение одной минуты. Объем воды должен быть не меньше указанного на стра...
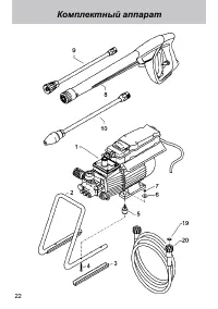
Страница 8 - Краткое руководство по эксплуатации:; Шланг высокого давления и распылительное устройство
8 Краткое руководство по эксплуатации: Аппарат эксплуатировать только в горизонтальном положении!1. Прикрутить шланг высокого давления к распылительному пистолету и аппарату. 2. Подсоединить водопровод на стороне всасывания. 3. Удалить из аппарата воздух (многократно открывать и перекрывать распылит...
Страница 9 - Указанияпо технике безопасности
9 Указанияпо технике безопасности Предохранительный затвор на пистолете перекидывать после каждого пользования, чтобы предотвратить непроизвольное распыление! Копье для чистки днища обязательно опустить на землю! Используя копье для чистки днища, необходимо обращать внимание на то, что при изогнутых...
Страница 11 - Пуск в эксплуатацию
11 Пуск в эксплуатацию 2. Соединить копье высокого давления с ручными пистолетом. Соединение между шлангом высокого давления и копьем 1. Проверить уровень масла Масло должно быть видно в смотровом стекле 3. Шланг высокого давления размотать, не допуская образования петель, и соединить с ручным писто...
Страница 12 - Вода
4. Аппарат можно выборочно подключать к напорному водопроводу с холодной или горячей водой с температурой до 60°C (см. стр. 2). При внешней подаче воды следить за тем, чтобы вода была чистой. Поперечное сечение шланга должно быть не менее 1/2“ = 12,7 мм (свободный проход). Сетка №1 должно быть всегд...
Страница 13 - Регулирование давления:
13 Пуск в эксплуатацию 1. Отключить аппарат. 2. Перекрыть подвод воды. 3. Кратковременно раскрыть пистолет, пока не создастся давление. 4. Заблокировать пистолет. 5. Открутить водяной шланг и пистолет. 6. Опорожнить пистолет: двигатель включить примерно на 20 секунд. 7. Отсоединить сетевой штекер. 8...
Страница 18 - Клапаны загрязнены или залипли!
Небольшой ремонт - 18 Манометр не показывает полное давление Вода выходит толчками Клапаны могут залипнуть, если аппаратом долго не пользовались. Клапаны загрязнены или залипли! Шланг высокого давления вибрирует Разогните канцелярскую скрепку... Если клапан засорен, манометр показывает малое или воо...
Страница 20 - Устранение утечки шланга или пистолета
20 Небольшой ремонт - сделай сам ! Устранение утечки шланга или пистолета После закрытия пистолета манометр показывает полное давление! Регулятор давления постоянно включается и выключается! Если манометр показывает полное дав- ление, Нажать пистолет для снятия давления!!! вначале снимите шланг! Зат...
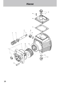
Страница 28 - Корпус клапана
28 Корпус клапана 19 18 7 16 17 14 15 3 26 2 7 4 35 52 11.1 9 8 25 24 23 22 21 20 34 10 7 4 7 45 46 48 49 5O 44 37 36 42 43 6 29 30 31 29 33 27 60 6x 61 3x 28.1 28 7 70 1 73 5 8 9 10 11 12 7 13
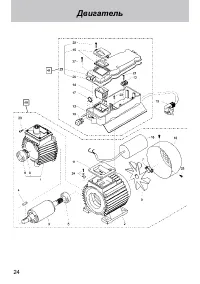
Страница 31 - Электросхема / Гарантия
31 Клеммная колодка Weber-Unimat WT 22 - 551 8,5A расцепитель максимального тока (HD 7/122) 12A расцепитель максимального тока (HD 10/122) Статор двигателя Электросхема аппарата фирмы KRÄNZLE HD 7/122 / HD 10/122 Электросхема / Гарантия C : 40 µF schw = черн. w s = бел. rt = красн. bn = коричн. bl =...
Страница 32 - Общие инструкции
32 Испытания Аппараты при необходимости, однако не реже, чем каждые 12 месяцев, должны подвергаться испытаниям компетентным лицом на предмет обеспечения безопасной эксплуатации, в соответствии с “Инструкциями для работы с аппаратами, распыляющими жидкости”. Результаты испытаний необходимо записать. ...
Страница 33 - Свидетельство о соответствии EC
I. Kränzle GmbH Elpke 97 33605 Bielefeld Очистители высокого давления Hochdruckreiniger High-pressure-cleaners R 33 (директор) Настоящим мы заявляем, что конструктивное исполнение очистителей высокого давления: Номинальный расход тех. документация прилагается: обеспечивает соблюдение следующих дирек...