Honda EP2500CX - инструкции и руководства
Генератор Honda EP2500CX - инструкции пользователя по применению, эксплуатации и установке на русском языке читайте онлайн в формате pdf
Инструкции:
Инструкция по эксплуатации Honda EP2500CX
1
2
3
4
5
6
7
8
9
10
11
12
13
14
15
16
17
18
19
20
21
22
23
24
25
26
27
28
29
30
31
32
33
34
35
36
37
38
39
40
41
42
43
44
45
46
47
48
49
50
51
52
53
54
55
56
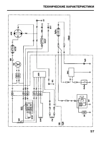
57
58
59
60
61
62
Honda Генераторы Инструкции
-
Honda ECT7000K1RG
Инструкция по эксплуатации
-
Honda EG 5500 CXS EG5500CXSRGH
Инструкция по эксплуатации
-
Honda EM10000K1RGH
Инструкция по эксплуатации
-
Honda EP 2500 CX1 EP2500CX1RGH
Инструкция по эксплуатации
-
Honda ET12000K1RGH
Инструкция по эксплуатации
-
Honda EU 22i
Инструкция по эксплуатации
-
Honda EU10iT1RG
Инструкция по эксплуатации
-
Honda EU30iS1RGA6
Инструкция по эксплуатации
-
Honda EU70iSRGT
Инструкция по эксплуатации
-
Honda EZ45
Инструкция по эксплуатации
-
Honda EZ2200
Инструкция по эксплуатации
-
Honda EXT12D
Инструкция по эксплуатации
-
Honda EX7
Инструкция по эксплуатации
-
Honda EX5500
Инструкция по эксплуатации
-
Honda EX12D
Инструкция по эксплуатации
-
Honda EX10D
Инструкция по эксплуатации
-
Honda EU30IS
Инструкция по эксплуатации
-
Honda EU20I
Инструкция по эксплуатации
-
Honda EU10I
Инструкция по эксплуатации
-
Honda ET12000
Инструкция по эксплуатации