HAJDU AQ IND FC 300 - инструкции и руководства

model-name

Водонагреватель HAJDU AQ IND FC 300 - инструкции пользователя по применению, эксплуатации и установке на русском языке читайте онлайн в формате pdf

1 Page 1
2 Page 2
3 Page 3
4 Page 4
5 Page 5
6 Page 6
7 Page 7

Краткое содержание

Страница 4 - Тип

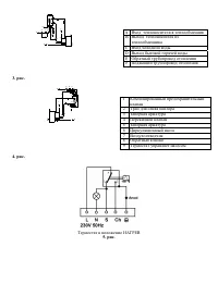
ТЕРМОСТАТ Термостат — это настроенное и испытанное устройство водонагревателя . Его задача поддерживать температуру воды в заданных значениях . Термостат водонагревателя опломбирован . Ни при каких обстоятельствах нельзя перенастраивать или ремонтировать термостат . Не соблюдение этого предписания ,...

Страница 5 - H A B C

243 A O 496 300/350/360 B CH 230 110 510 1 3 2 5 4 СЛИВ В СЛУЧАЕ ОПАСНОСТИ ЗАМЕРЗАНИЯ Водонагреватель необходимо сливать , если он не работает и находится в таком месте , где имеется опасность замерзания . С целью этого : 1. Обесточивайте водонагреватель . 2. Закрывайте впускной кран холодной воды ....

Страница 7 - AQ

ГАРАНТИЙНЫЙ ТАЛОН на приобретённое Вами оборудование _______________________, с заводским № _______________________, произведённым венгерской фирмой ЗАО ХАЙДУ . Настоящая гарантия выдается изготовителем в дополнение к конституционным и иным правам потребителей и ни в коей мере не ограничивает их . Г...

HAJDU Водонагреватели Инструкции