COMPRAG DACS-3 11130300 - инструкции и руководства
Компрессор COMPRAG DACS-3 11130300 - инструкции пользователя по применению, эксплуатации и установке на русском языке читайте онлайн в формате pdf
Инструкции:
Инструкция по эксплуатации COMPRAG DACS-3 11130300
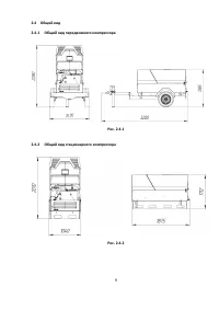
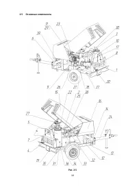
1
2
3
4
5
6
7
8
9
10
11
12
13
14
15
16
17
18
19
20
21
22
23
24
25
26
27
28
29
30
31
32
33
34
35
36
37
38
39
40
COMPRAG Компрессоры Инструкции
-
COMPRAG AR-0708-270 11100015
Инструкция по эксплуатации
-
COMPRAG AR-0710-500 11100019
Инструкция по эксплуатации
-
COMPRAG AR-1110-270 11100026
Инструкция по эксплуатации
-
COMPRAG AR-1508-270 11100035
Инструкция по эксплуатации
-
COMPRAG AR-1510-270 11100036
Инструкция по эксплуатации
-
COMPRAG ARD-1108-270 11110015
Инструкция по эксплуатации
-
COMPRAG F-0708 11410201
Инструкция по эксплуатации
-
COMPRAG F-0710 11410202
Инструкция по эксплуатации
-
COMPRAG FR-0710-500 11410207
Инструкция по эксплуатации
-
COMPRAG FRD-0508 500л, 11410110
Инструкция по эксплуатации
-
COMPRAG FRD-0710-500 11410211
Инструкция по эксплуатации
-
COMPRAG DACS-4 11130400
Инструкция по эксплуатации
-
COMPRAG DACS-5 11130500
Инструкция по эксплуатации