Блоки питания be quiet! TFX Power 3 - инструкция пользователя по применению, эксплуатации и установке на русском языке. Мы надеемся, она поможет вам решить возникшие у вас вопросы при эксплуатации техники.
Если остались вопросы, задайте их в комментариях после инструкции.
"Загружаем инструкцию", означает, что нужно подождать пока файл загрузится и можно будет его читать онлайн. Некоторые инструкции очень большие и время их появления зависит от вашей скорости интернета.

SFX3-450W
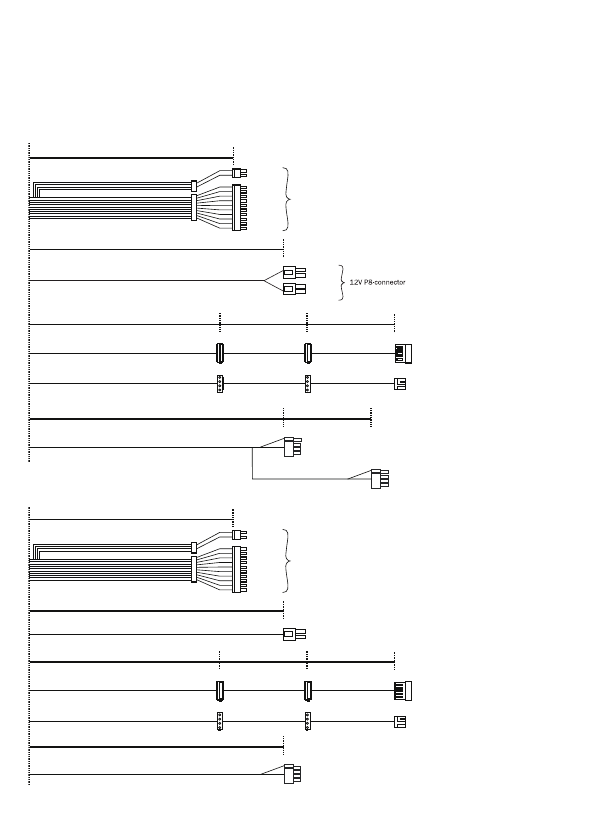
7. CONNECTIVITY AND CABLE LENGTHS
20-pin
4-pin
24-pin
FDD
SATA
HDD
SATA
12V P4
350mm
PCIe 1 (6+2-pin)
300mm
150mm
150mm
SATA
HDD
400mm
400mm
12V P4
150mm
PCIe 1 (6+2-pin)
49
SFX3-300W
20-pin
4-pin
24-pin
PCIe 1 (6+2-pin)
FDD
SATA
HDD
SATA
12V P4
350mm
300mm
150mm
150mm
SATA
HDD
400mm
400mm
6. DIMENSIONS
SFX Power 3: L x H x W (mm): 100 x 63.5 x 125
TFX Power 3: L x H x W (mm): 175 x 65 x 85
Характеристики
Остались вопросы?Не нашли свой ответ в руководстве или возникли другие проблемы? Задайте свой вопрос в форме ниже с подробным описанием вашей ситуации, чтобы другие люди и специалисты смогли дать на него ответ. Если вы знаете как решить проблему другого человека, пожалуйста, подскажите ему :)