Страница 2 - СОДЕРЖАНИЕ
СОДЕРЖАНИЕ 1 ОБЩИЕ УКАЗАНИЯ 3 2 НАЗНАЧЕНИЕ 4 3 ТЕХНИЧЕСКИЕ ХАРАКТЕРИСТИКИ 6 4 КОМПЛЕКТ ПОСТАВКИ 7 5 УКАЗАНИЯ МЕР БЕЗОПАСНОСТИ 8 6 КОНСТРУКЦИЯ И РАБОТА КОТЛА 9 7 ПОРЯДОК УСТАНОВКИ 10 8 ПОДГОТОВКА К РАБОТЕ 11 9 ТЕХНИЧЕСКОЕ ОБСЛУЖИВАНИЕ 12 10 ПРАВИЛА ТРАНСПОРТИРОВАНИЯ И ХРАНЕНИЯ 12 11 ВОЗМОЖНЫЕ НЕИСПРА...
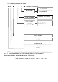
Страница 3 - ОБЩИЕ УКАЗАНИЯ
1 ОБЩИЕ УКАЗАНИЯ В связи с постоянной работой по совершенствованию изделия, что повышает его надежность и улучшает условия эксплуатации, в конструкцию могут быть внесены незначительные изменения, не отраженные в данном руководстве. 1.1 ВНИМАНИЕ. При покупке котла для отопления и горячего водоснабжен...
Страница 6 - ТЕХНИЧЕСКИЕ ХАРАКТЕРИСТИКИ
3 ТЕХНИЧЕСКИЕ ХАРАКТЕРИСТИКИ 3.1 Основные параметры, размеры котла приведены в таблице 1. Таблица 1 Наименование параметра или размера, единица измерения Норма для модификации А О ГВ -16Е М А О ГВ -16Е В М А О ГВ -20Е М А О ГВ -20Е В М А О ГВ -25Е М А О ГВ -25Е В М А О ГВ -30 ЕМ А О ГВ -30 ЕВ М 1 То...
Страница 7 - КОМПЛЕКТ ПОСТАВКИ
Продолжение таблицы 1 Наименование параметра или размера, единица измерения Норма для модификации А О ГВ -16Е М А О ГВ -16Е В М А О ГВ -20Е М А О ГВ -20Е В М А О ГВ -25Е М А О ГВ -25Е В М А О ГВ -30 ЕМ А О ГВ -30 ЕВ М 11 Площадь сечения патрубка отвода продуктов сгорания, см 2 , не менее 125 12** Га...
Страница 8 - УКАЗАНИЯ МЕР БЕЗОПАСНОСТИ
5 УКАЗАНИЯ МЕР БЕЗОПАСНОСТИ 5.1 Помещение, где работает котел должно быть оборудовано приточной и вытяжной вентиляцией. 5.2 Во избежание пожара запрещено ложить на котел или вешать около него вещи, которые могут загореться. 5.3 Ответственность за безопасную эксплуатацию котла и содержание его в надл...
Страница 9 - КОНСТРУКЦИЯ И РАБОТА КОТЛА
6 КОНСТРУКЦИЯ И РАБОТА КОТЛА 6.1 Конструкция котла показана на рисунках 1 и 1а. На рис.1 указана схема котла с подключением к системе отопления с тыльной стороны, на рис. 1а – с универсальным подключением к системе отопления. 6.2 Работа котла 6.2.1 Работа котла заключается в нагревании воды для отоп...
Страница 10 - ПОРЯДОК УСТАНОВКИ
7 ПОРЯДОК УСТАНОВКИ Работы по установке котла должны проводиться работниками специализированных учреждений. Установочные размеры котла показаны на рисунке 4. 7.1 Требования к помещению 7.1.1 Помещение, в котором устанавливается котел, должен отвечать требованиям Правил безопасности в газовом хозяйст...
Страница 11 - ПОДГОТОВКА К РАБОТЕ
строения или дерева, дымоходная труба должна быть выше границы “зоны ветрового подпора“. Зоной ветрового подпора является пространство, которое находится ниже условной линии, проведенной под углом 45° к горизонту от наиболее высокой части дома, строения или дерева. 7.4 Подключение котла к системе от...
Страница 13 - 1 ВОЗМОЖНЫЕ НЕИСПРАВНОСТИ И МЕТОДЫ ИХ УСТРАНЕНИЯ
11 ВОЗМОЖНЫЕ НЕИСПРАВНОСТИ И МЕТОДЫ ИХ УСТРАНЕНИЯ 11.1 Конструкция котла надежна и при правильной эксплуатации обеспечивается длительная работа изделия. Однако в процессе эксплуатации котла могут возникнуть неисправности, вероятные причины и методы, устранения которых отмеченные в таблице 2. 11.2 Не...
Страница 18 - СВИДЕТЕЛЬСТВО О ПРИЕМКЕ; Дата изготовления
16 СВИДЕТЕЛЬСТВО О ПРИЕМКЕ Котел модификации АОГВ-М __________________ Заводской номер______________ Соответствует требованием нормативных документов по ГОСТ Р 51733 -2001 и ГОСТ Р 51847 – 2001, и пригоден для эксплуатации. Газовый клапан (соответствующее отметить) □ "630 EUROSIT" фирмы "...
Страница 25 - Приложение А
Приложение А АКТ ВВОДА ОБОРУДОВАНИЯ В ЭКСПЛУАТАЦИЮ № ___________ С момента полного заполнения этого документа соответствующей информации, инженер сервисного центра, который выполнил первый пуск, отвечает за передачу его на адрес отдела сервиса и гарантий указанного в ПРИЛОЖЕНИИ Г. Информация по этом...
Страница 26 - Приложение Б; при первом пуске котла.
Приложение Б ТЕХНИЧЕСКИЕ ДАННЫЕ ПОМЕЩЕНИЯ (дома,квартиры), где установлен КОТЕЛ Площадь отопления м. кв. Высота до потолка м. Тип дома: Слабо утепленный 2 кВт на 10 м.кв. Слабо утепленный - кирпичный или бетонный дом с обычными окнами. Средне утепленный 1 кВт на10м.кв. Средне утепленный - кирпичный ...
Страница 28 - при первом пуске котла
Приложение Б ТЕХНИЧЕСКИЕ ДАННЫЕ ПОМЕЩЕНИЯ (дома,квартиры), где установлен КОТЕЛ Площадь отопления м. кв. Высота до потолка м. Тип дома: Слабо утепленный 2 кВт на 10 м.кв. Слабо утепленный - кирпичный или бетонный дом с обычными окнами. Средне утепленный 1 кВт на10м.кв. Средне утепленный - кирпичный ...
Страница 30 - Республика Беларусь
Приложение Г АДРЕСА И НОМЕРА ТЕЛЕФОНОВ ДЛЯ ОБРАЩЕНИЙ В случае выявления заводских дефектов изделия, или отклонений от нормальных режимов работы оборудования, Владельцу следует обращаться в отдел сервиса и гарантии за телефоном Официальных представителей, или к Уполномоченным Сервисным Центрам в реги...