Вытяжки Zigmund & Shtain K 145.4 W - инструкция пользователя по применению, эксплуатации и установке на русском языке. Мы надеемся, она поможет вам решить возникшие у вас вопросы при эксплуатации техники.
Если остались вопросы, задайте их в комментариях после инструкции.
"Загружаем инструкцию", означает, что нужно подождать пока файл загрузится и можно будет его читать онлайн. Некоторые инструкции очень большие и время их появления зависит от вашей скорости интернета.

Советы по установке вытяжной трубы
Для получения оптимальной работы вытяжки рекомендуем строго соблюдать
следующие правила:
•
Вытяжной канал
должен быть
коротким и прямым
.
• Не уменьшайте размер и не ограничивайте вытяжной воздуховод
.
• При использовании гибкого воздуховода всегда устанавливайте
его
натянутым
,
чтобы минимизировать потерю давления
.
• Несоблюдение этих основных инструкций приведет к снижению
производительности и повышению уровня шума
от
вытяжки.
• Любые монтажные работы должны выполняться квалифицированным
электриком или компетентным лицом.
• Не подключайте систему воздуховодов вытяжки к какой
-
либо существующей
системе вентиляции, которая используется для любого другого прибора, такой
как более нагретая
труба, газовая труба, труба горячего воздуха.
• Угол изгиба вентиляционного
канала
должен быть не менее 120º; Вы должны
направить его
горизонтально, или в качестве альтернативы канал
должен
идти
вверх от начальной точки и быть направлен к внешней стене.
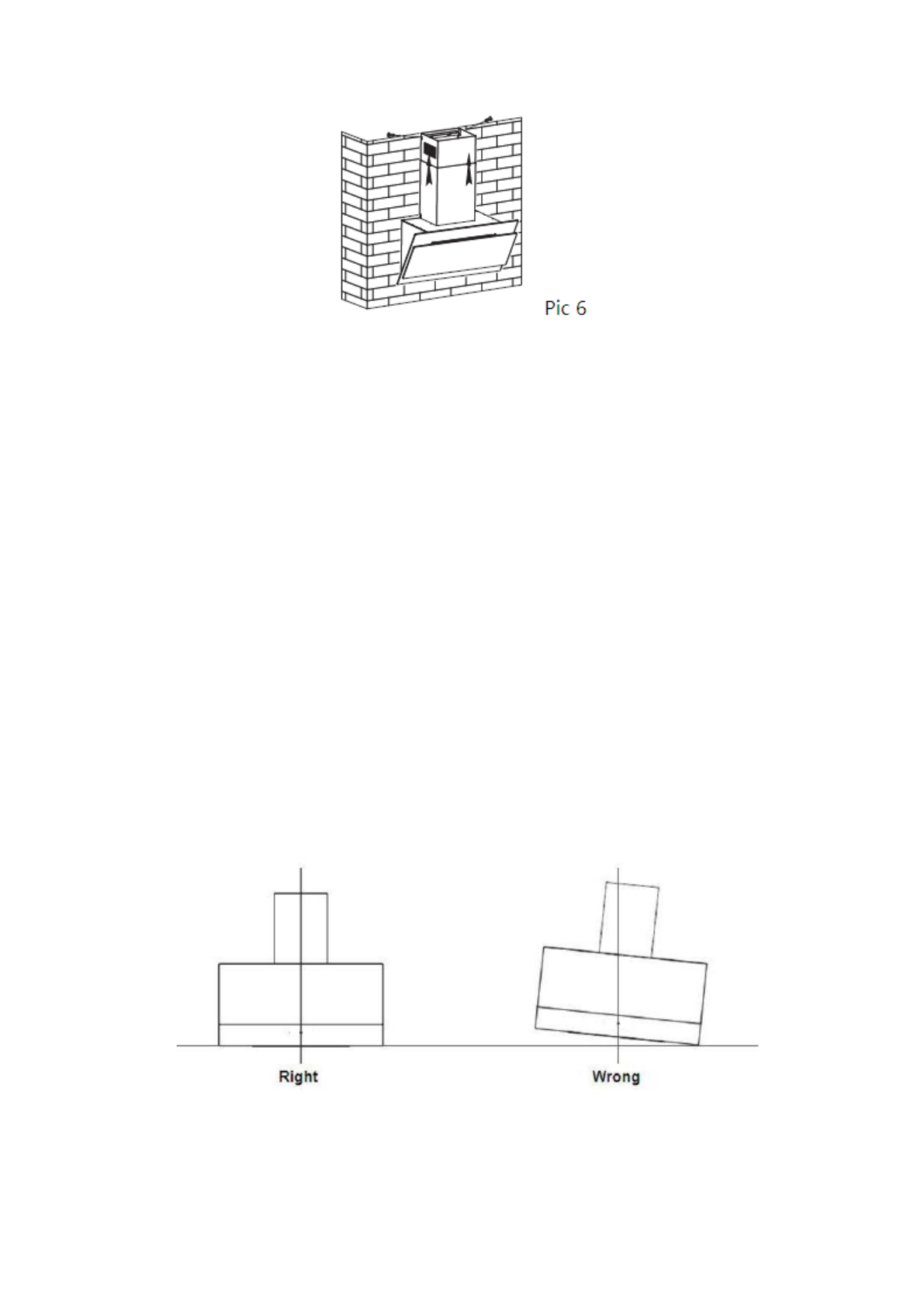
• После установки убедитесь, что вытяжка выровнена, чтобы избежать
накопления жира.
Убедитесь, что выбранный для установки вытяжной воздуховод соответствует
действующим стандартам и является огнестойким
.
7
Характеристики
Остались вопросы?Не нашли свой ответ в руководстве или возникли другие проблемы? Задайте свой вопрос в форме ниже с подробным описанием вашей ситуации, чтобы другие люди и специалисты смогли дать на него ответ. Если вы знаете как решить проблему другого человека, пожалуйста, подскажите ему :)