Вытяжки Miele DA1260 - инструкция пользователя по применению, эксплуатации и установке на русском языке. Мы надеемся, она поможет вам решить возникшие у вас вопросы при эксплуатации техники.
Если остались вопросы, задайте их в комментариях после инструкции.
"Загружаем инструкцию", означает, что нужно подождать пока файл загрузится и можно будет его читать онлайн. Некоторые инструкции очень большие и время их появления зависит от вашей скорости интернета.

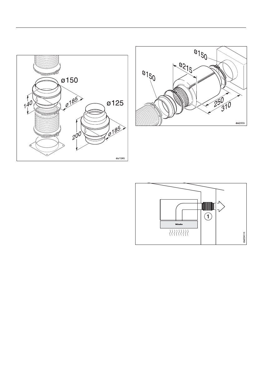
Воздуховод
40
Заслонка для предотвраще-
ния образования конденсата
Кроме оснащения воздуховода соот-
ветствующей изоляцией, рекоменду-
ется также монтаж данной заслонки,
которая улавливает и испаряет обра-
зующийся конденсат.
Заслонка предлагается как дополни-
тельно приобретаемая принадлеж-
ность для воздуховода диаметром
125 мм или 150 мм.
Заслонка должна монтироваться
вертикально, над выпускным шту-
цером вытяжки, как можно ближе к
нему.
Стрелка на корпусе указывает на-
правление выхода воздуха.
Шумоподавитель
В воздуховод может быть установлен
шумоподавитель (дополнительно при-
обретаемая принадлежность). Он
предназначен для дополнительного
снижения шума.
Работа в режиме отвода воздуха
Шумоподавитель уменьшает звук ра-
ботающего вентилятора, а также
внешние шумы, которые могут про-
никать на кухню через воздуховод
(например, шум улицы). Для этого шу-
моподавитель должен располагаться
перед выходным отверстием возду-
ховода
, как можно ближе к нему.
Характеристики
Остались вопросы?Не нашли свой ответ в руководстве или возникли другие проблемы? Задайте свой вопрос в форме ниже с подробным описанием вашей ситуации, чтобы другие люди и специалисты смогли дать на него ответ. Если вы знаете как решить проблему другого человека, пожалуйста, подскажите ему :)