Вытяжки Miele DA1260 - инструкция пользователя по применению, эксплуатации и установке на русском языке. Мы надеемся, она поможет вам решить возникшие у вас вопросы при эксплуатации техники.
Если остались вопросы, задайте их в комментариях после инструкции.
"Загружаем инструкцию", означает, что нужно подождать пока файл загрузится и можно будет его читать онлайн. Некоторые инструкции очень большие и время их появления зависит от вашей скорости интернета.

Монтаж
28
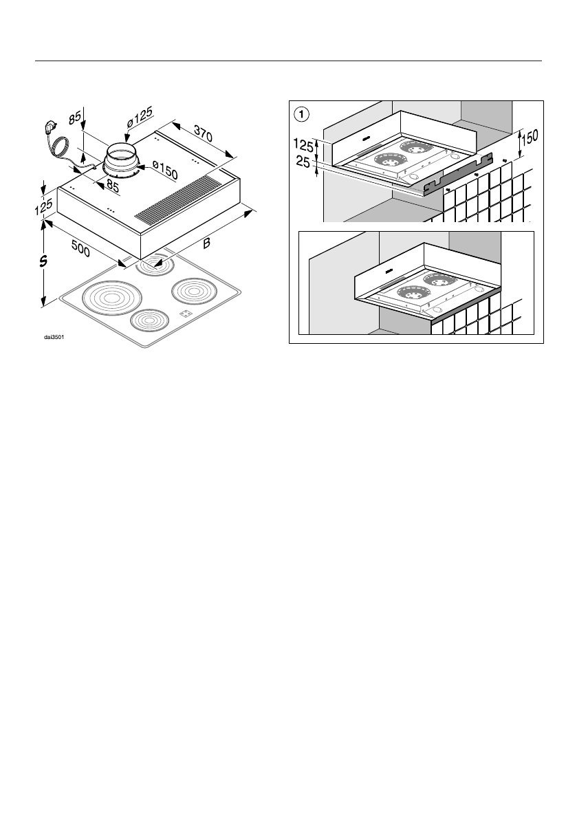
Размеры прибора
DA 1255: Ш = 548 мм
DA 1260: Ш = 598 мм
DA 1200: Ш = 998 мм
Воздуховод
150 мм, с переходным патрубком
125 мм.
a
Если вытяжка используется в качестве замены вытяжки, монтажная высо-
та которой составляет 150 мм, то для облицовки области встраивания мо-
жет использоваться декоративная планка.
Ее можно приобрести как дополнительную принадлежность в различных
вариантах ширины:
– Miele DAB 55 для DA 1255
– Miele DAB 60 для DA 1260
– Miele DAB 100 для DA 1200
Характеристики
Остались вопросы?Не нашли свой ответ в руководстве или возникли другие проблемы? Задайте свой вопрос в форме ниже с подробным описанием вашей ситуации, чтобы другие люди и специалисты смогли дать на него ответ. Если вы знаете как решить проблему другого человека, пожалуйста, подскажите ему :)