Водонагреватели Wolf SE-2-200 2444171 - инструкция пользователя по применению, эксплуатации и установке на русском языке. Мы надеемся, она поможет вам решить возникшие у вас вопросы при эксплуатации техники.
Если остались вопросы, задайте их в комментариях после инструкции.
"Загружаем инструкцию", означает, что нужно подождать пока файл загрузится и можно будет его читать онлайн. Некоторые инструкции очень большие и время их появления зависит от вашей скорости интернета.

SE-2
3043756_201512
85
Filtr na pitnou vodu
Protože cizí částice a nečistoty, které se dostaly do potrubí, ucpávají armatury a způsobují
korozi potrubí, doporučujeme do přívodního potrubí studené vody instalovat filtr pitné vody.
Pozor
Redukční ventil
Zásadně se doporučuje montáž redukčního ventilu. Přípustný provozní tlak stojatého
zásobníku činí na straně užitkové vody 10 bar. Je-li ve vodovodní síti vyšší tlak, musí
se namontovat redukční ventil. Ke snížení hluku při proudění potrubím uvnitř budovy
by měl být tlak v potrubí nastaven na cca 3,5 bar.
Prekrocení povoleného provozního tlaku 10 baru muže vést ke ztráte
netesnosti nebo k poškození zásobníku!
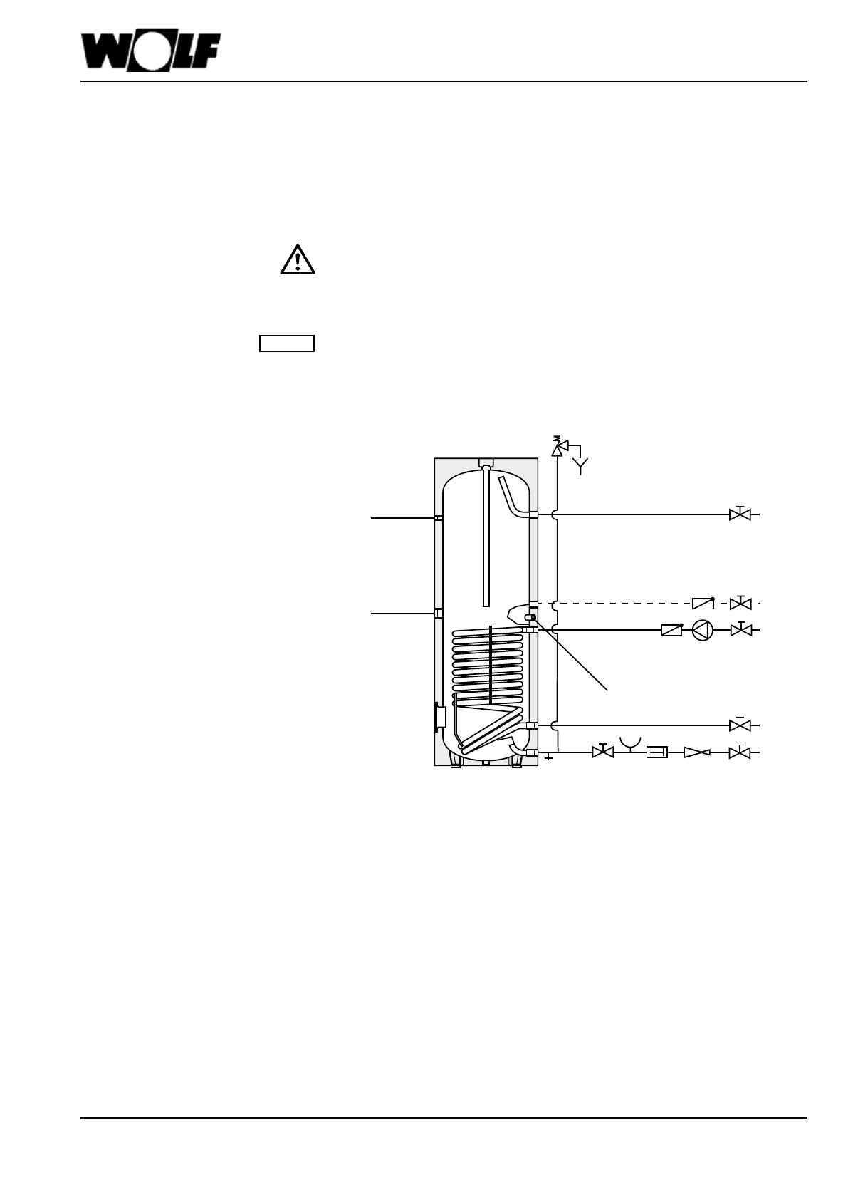
Stojatý zásobník TUV je třeba instalovat tak, aby mohl být vypuštěn bez demontáže.
Vypouštění
Potrubní propojení
Připojení ke kotli
Elektrického
dohřevu
Připojení TUV
Cirkulace
Přívod otopné vody
Vratná otopná voda
Připojení studené vody
dle ČSN 06 0830
Čidlo vytápění/
Regulátor SP1
Teploměr













