Водонагреватели Wolf SE-2-200 2444171 - инструкция пользователя по применению, эксплуатации и установке на русском языке. Мы надеемся, она поможет вам решить возникшие у вас вопросы при эксплуатации техники.
Если остались вопросы, задайте их в комментариях после инструкции.
"Загружаем инструкцию", означает, что нужно подождать пока файл загрузится и можно будет его читать онлайн. Некоторые инструкции очень большие и время их появления зависит от вашей скорости интернета.

SE-2
3043756_201512
15
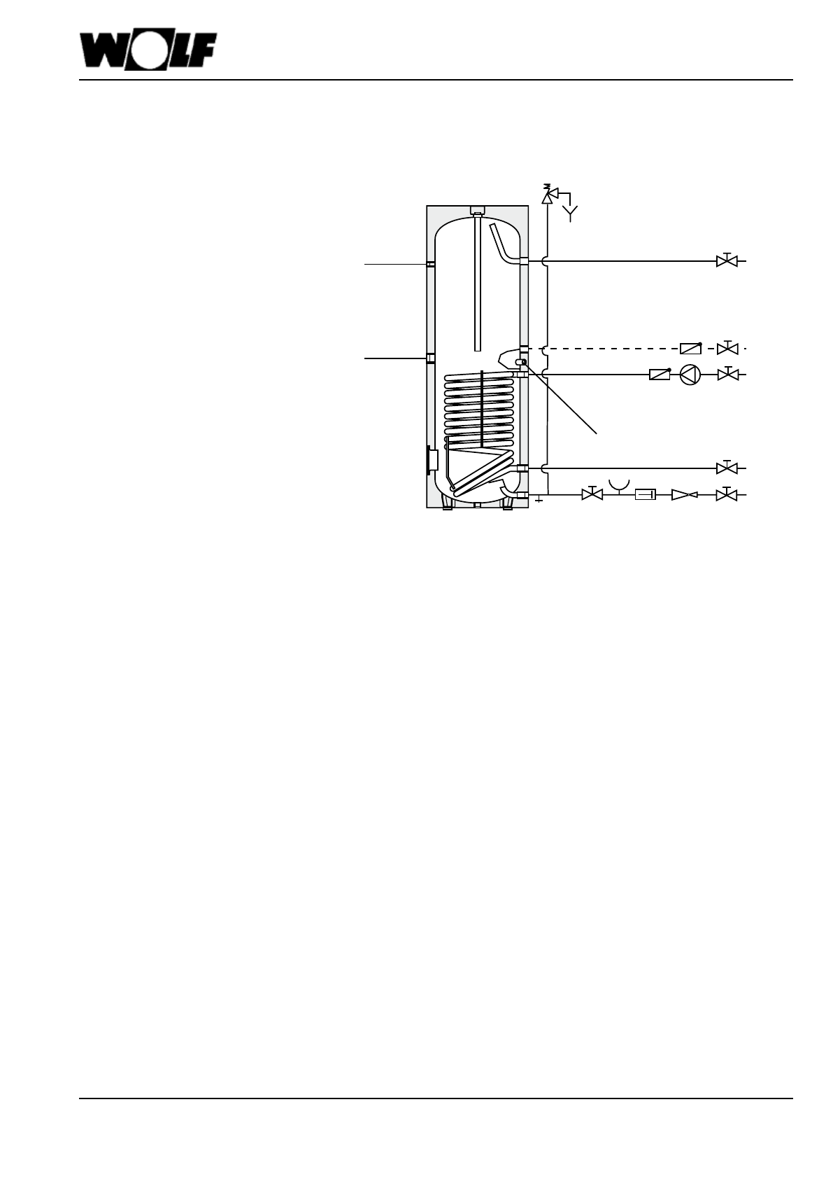
Pipework
Drinking water filter
Since washed-in foreign particles clog up fittings etc. and cause corrosion in the lines,
it is recommended to install a drinking water filter in the cold water inlet.
Connection to boiler
Thermometer
Electrical auxi-
liary
heating system
Hot water connection
Circulation
Heating water supply
Heating water return
Cold water connection
according to DIN 1988
Tanksensor of heating/
controller SP1













