Водонагреватели Polaris PS 50Vr - инструкция пользователя по применению, эксплуатации и установке на русском языке. Мы надеемся, она поможет вам решить возникшие у вас вопросы при эксплуатации техники.
Если остались вопросы, задайте их в комментариях после инструкции.
"Загружаем инструкцию", означает, что нужно подождать пока файл загрузится и можно будет его читать онлайн. Некоторые инструкции очень большие и время их появления зависит от вашей скорости интернета.

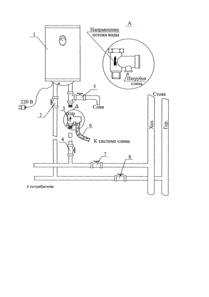
Рисунок 4 – Схема подключения к водопроводной сети
1
Водонагреватель
2
Вентиль горячей воды
3
Предохранительный клапан
4
Вентиль подвода холодной воды к водонагревателю
5
Сливной кран (рекомендуемый)
6
Дренажный клапан
7
Запорный вентиль холодной воды из магистрали
8
Запорный вентиль горячей воды из магистрали
Характеристики
Остались вопросы?Не нашли свой ответ в руководстве или возникли другие проблемы? Задайте свой вопрос в форме ниже с подробным описанием вашей ситуации, чтобы другие люди и специалисты смогли дать на него ответ. Если вы знаете как решить проблему другого человека, пожалуйста, подскажите ему :)












