Водонагреватели Neva 4511 24415 - инструкция пользователя по применению, эксплуатации и установке на русском языке. Мы надеемся, она поможет вам решить возникшие у вас вопросы при эксплуатации техники.
Если остались вопросы, задайте их в комментариях после инструкции.
"Загружаем инструкцию", означает, что нужно подождать пока файл загрузится и можно будет его читать онлайн. Некоторые инструкции очень большие и время их появления зависит от вашей скорости интернета.

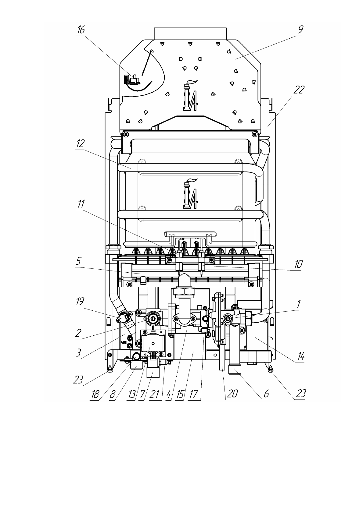
6
1 –
регулятор
расхода
воды
; 2 –
регулятор
расхода
газа
; 3 –
табличка
; 4 –
узел
водогазовый
; 5 –
горелка
;
6 –
штуцер
подвода
холодной
воды
; 7 –
штуцер
подвода
газа
; 8 –
штуцер
отвода
горячей
воды
;
9 –
газоотводящее
устройство
; 10 –
свеча
; 11 –
датчик
наличия
пламени
; 12 –
теплообменник
;
13 –
клапан
электромагнитный
; 14 –
отсек
батарейный
; 15 –
блок
управления
электронный
;
16 –
термореле
(
датчик
наличия
тяги
); 17 –
микровыключатель
(
датчик
протока
воды
);
18 –
датчик
температуры
воды
; 19 –
термореле
(
датчик
перегрева
воды
); 20 –
пробка
для
слива
воды
;
21 –
штуцер
замера
давления
газа
; 22 –
задняя
стенка
; 23 –
винты
крепления
облицовки
.
Рисунок
2.
Вид
аппарата
без
облицовки