Водонагреватели Neva 4511 24415 - инструкция пользователя по применению, эксплуатации и установке на русском языке. Мы надеемся, она поможет вам решить возникшие у вас вопросы при эксплуатации техники.
Если остались вопросы, задайте их в комментариях после инструкции.
"Загружаем инструкцию", означает, что нужно подождать пока файл загрузится и можно будет его читать онлайн. Некоторые инструкции очень большие и время их появления зависит от вашей скорости интернета.

9
3.
УСТАНОВКА
АППАРАТА
Перед
установкой
аппарата
необходимо
получить
разрешение
компетентной
организации
газовой
службы
.
Установка
аппарата
должна
производиться
специализированной
сервисной
организацией
.
После
установки
аппарата
,
проверки
его
работоспособности
и
инструктажа
владельца
аппарата
работником
организации
,
установившей
аппарат
,
должна
быть
сделана
отметка
об
установке
аппарата
в
разделе
10
данного
руководства
и
в
гарантийных
талонах
.
Установленный
аппарат
обязательно
должен
быть
зарегистрирован
службой
газового
хозяйства
.
ВНИМАНИЕ
!
Перед
установкой
аппарата
необходимо
проверить
соответствие
настройки
,
указанной
в
разделе
9
данного
руководства
и
в
табличке
на
аппарате
,
имеющемуся
в
месте
установки
типу
и
давлению
газа
.
В
случае
несоответствия
необходимо
произвести
переналадку
аппарата
на
используемый
тип
и
давление
газа
в
соответствии
с
п
. 3.10.
3.1.
Место
и
схема
установки
3.1.1.
Аппарат
необходимо
устанавливать
на
кухнях
или
других
нежилых
отапливаемых
помещениях
в
соответствии
с
проектом
газификации
и
СНиП
42-01-2002.
3.1.2.
Объем
помещения
,
где
устанавливается
водонагреватель
,
должен
быть
не
менее
8
м
3
.
3.1.3.
Помещение
,
где
устанавливается
водонагреватель
,
должно
иметь
хорошую
вентиляцию
и
постоянный
приток
свежего
воздуха
(
форточку
или
открывающуюся
фрамугу
),
так
как
при
работе
аппарата
происходит
сжигание
кислорода
.
Решетки
или
щель
в
нижней
части
двери
или
стены
не
должны
наглухо
закрываться
.
3.1.4.
Аппарат
должен
быть
подсоединен
к
дымоходу
с
хорошей
тягой
(
разрежение
1,96…29,4
Па
)
и
при
этом
должен
быть
установлен
как
можно
ближе
к
дымоходу
.
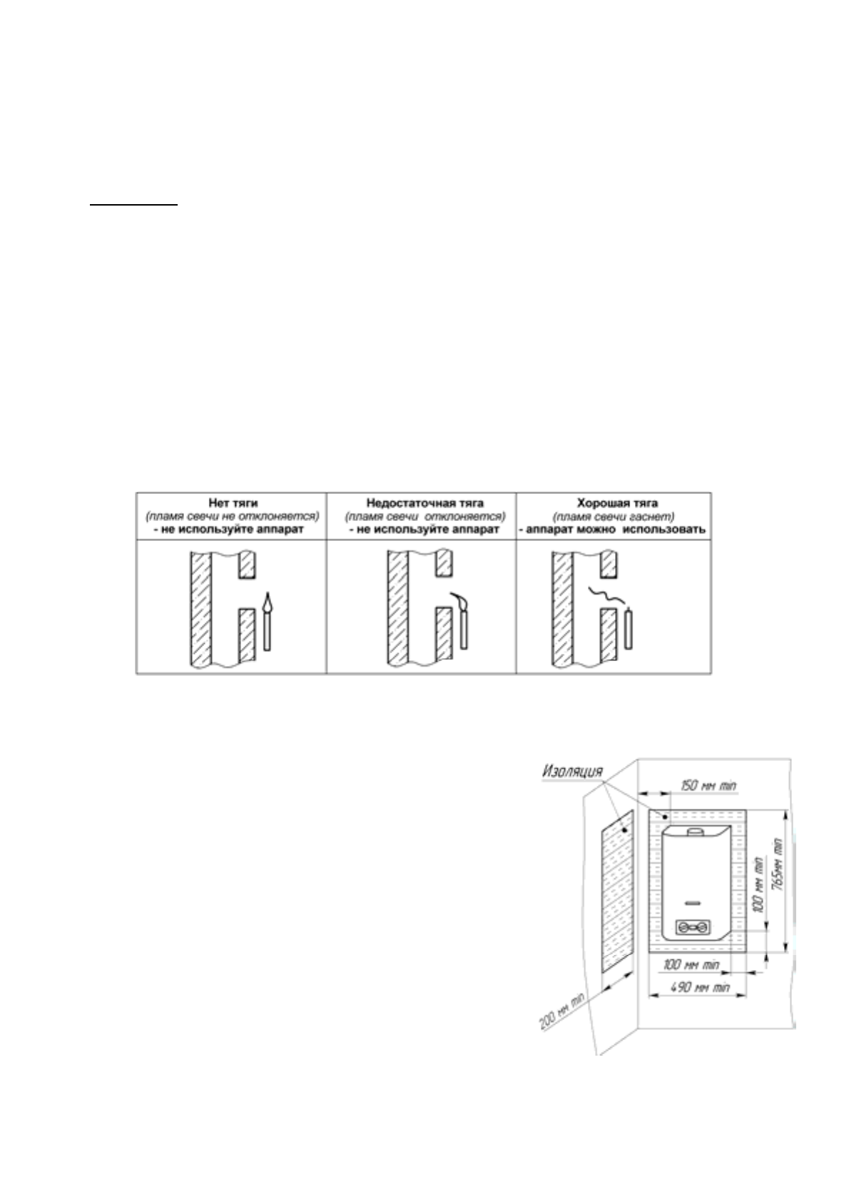
Один
из
доступных
способов
проверки
тяги
в
дымоходе
приведён
на
рисунке
4.
Рисунок
4.
Способ
проверки
тяги
в
дымоходе
3.1.5.
Устанавливать
аппарат
необходимо
на
несгораемых
стенах
-
кирпичных
,
бетонных
(
с
облицовкой
керамической
плиткой
или
без
неё
).
3.1.6.
Допускается
установка
аппарата
на
трудносгораемых
стенах
при
условии
изоляции
стены
оцинкованным
листом
толщиной
0,8…1
мм
по
листу
базальтового
теплоизоляционного
картона
БТК
толщиной
3…5
мм
.
Изоляция
стены
должна
выступать
за
габариты
корпуса
аппарата
не
менее
чем
на
100
мм
с
каждой
стороны
(
см
.
рис
. 5).
Расстояние
от
боковых
поверхностей
аппарата
до
трудносгораемых
стен
без
применения
изоляции
должно
быть
не
менее
250
мм
.
При
уменьшении
указанного
расстояния
до
150
мм
необходима
установка
теплоизоляции
(
обивка
стен
оцинкованным
листом
по
листу
теплоизоляционного
материала
).
При
установке
аппарата
на
несгораемых
стенах
устройство
изоляции
не
требуется
.
3.1.7.
Запрещается
установка
аппарата
на
деревянных
стенах
;
оштукатуренных
стенах
,
имеющих
деревянную
основу
;
на
стенах
,
покрытых
легко
возгораемыми
материалами
.
3.1.8.
Запрещается
устанавливать
аппарат
над
источником
тепла
или
открытого
пламени
.
Рисунок
5.
Установка
аппарата
на
трудносгораемых
стенах