Водонагреватели Hyundai Orinoco H-WSS100-N11D-V - инструкция пользователя по применению, эксплуатации и установке на русском языке. Мы надеемся, она поможет вам решить возникшие у вас вопросы при эксплуатации техники.
Если остались вопросы, задайте их в комментариях после инструкции.
"Загружаем инструкцию", означает, что нужно подождать пока файл загрузится и можно будет его читать онлайн. Некоторые инструкции очень большие и время их появления зависит от вашей скорости интернета.

IM2021
6
5.
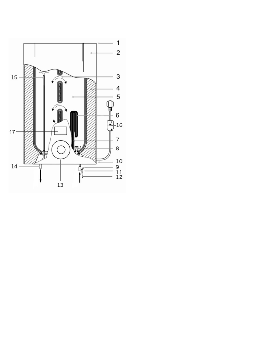
ОПИСАНИЕ ВОДОНАГРЕВАТЕЛЯ
Рисунок 1*
*
Изображение приведено в качестве справочной информации и может
отличаться от реального прибора
1. Верхняя комбинированная защитная крышка
2. Внешний декоративный корпус
3. Система переливов
4. Теплоизоляционный слой из пенополиуретана
5. Внутренний резервуар
6. Нагревательный элемент
7. Трубка датчика термостата
8. Защитный магниевый анод
9. Входной патрубок с рассекателем
10. Нижняя комбинированная защитная крышка
11. Комбинированный предохранительный клапан (требуется обязательная
установка на патрубок подачи холодной воды)
12. Аварийный слив избыточного давления воды (при работе водонагревателя
возможно подтекание воды из отверстия аварийного слива. Это нормально)
13. Панель управления
14. Выходной патрубок
15. Верхняя часть выходного патрубка
16.
Сетевой шнур с УЗО и вилкой
17.Дисплей
Содержание
- 4 НАЗНАЧЕНИЕ ПРИБОРА
- 5 РАБОЧИЕ ХАРАКТЕРИСТИКИ; Наименование
- 6 ОПИСАНИЕ ВОДОНАГРЕВАТЕЛЯ; Изображение приведено в качестве справочной информации и может
- 7 изменять содержимое комплекта поставки данного прибора
- 8 давление воды в водонагревателе, соответствует давлению воды в
- 9 сливной кран и тройник между патрубком входа холодной воды и
- 11 УПРАВЛЕНИЕ ВОДОНАГРЕВАТЕЛЕМ; Индикатор нагрева воды.; Включение; Вставьте вилку сетевого шнура водонагревателя в розетку.
- 15 УТИЛИЗАЦИЯ, СРОК СЛУЖБЫ, ГАРАНТИЙНЫЙ СРОК