Водонагреватели Hyundai Orinoco H-WSS100-N11D-V - инструкция пользователя по применению, эксплуатации и установке на русском языке. Мы надеемся, она поможет вам решить возникшие у вас вопросы при эксплуатации техники.
Если остались вопросы, задайте их в комментариях после инструкции.
"Загружаем инструкцию", означает, что нужно подождать пока файл загрузится и можно будет его читать онлайн. Некоторые инструкции очень большие и время их появления зависит от вашей скорости интернета.

IM2021
37
8.
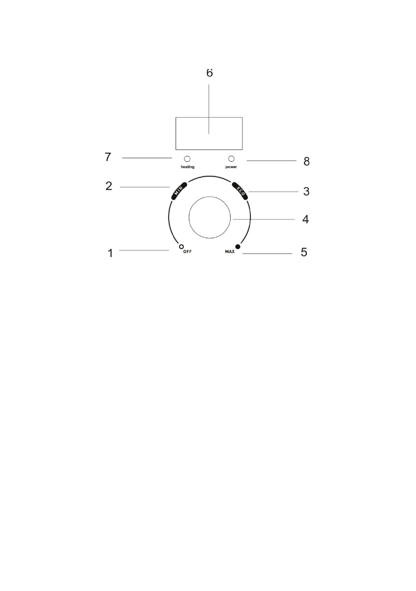
СУ ЖЫЛЫТҚЫШТЫ БАСҚАРУ
Басқару панелі
Сурет 4*
*
Сурет анықтамалық ақпарат ретінде келтірілген және нақты басқару
панелінен өзгеше болуы мүмкін
1. Аспапты қосу және өшіру.
2. Суды жылытудың басталуы.
3. ~ 58°C температураға сәйкес келетін "ЭКО" режимі
4. Термостат тұтқасы
5. Суды қыздырудың максималды температурасы.
6. Су жылытқыштағы судың температурасын көрсететін дисплей.
7. Суды жылыту индикаторы.
8.Құрылғының индикаторы.
Су жылытқышты пайдалану
1.
Қосу
1.1. Алдымен ыстық су шығатын крандардың бірін ашыңыз, содан кейін суық
су беру кранын ашыңыз. Электр су жылытқыш сумен толтырыла бастайды.
Ыстық су кранынан суды еркін ағатын кезде, бұл су жылытқыш толығымен
сумен толтырылып, ыстық су шығатын кранды жабуға болады.
ЕСКЕРТПЕ!
Кәдімгі жұмыс кезінде суық су беру краны «open» («ашық») күйіне
орнатылуы тиіс
Содержание
- 4 НАЗНАЧЕНИЕ ПРИБОРА
- 5 РАБОЧИЕ ХАРАКТЕРИСТИКИ; Наименование
- 6 ОПИСАНИЕ ВОДОНАГРЕВАТЕЛЯ; Изображение приведено в качестве справочной информации и может
- 7 изменять содержимое комплекта поставки данного прибора
- 8 давление воды в водонагревателе, соответствует давлению воды в
- 9 сливной кран и тройник между патрубком входа холодной воды и
- 11 УПРАВЛЕНИЕ ВОДОНАГРЕВАТЕЛЕМ; Индикатор нагрева воды.; Включение; Вставьте вилку сетевого шнура водонагревателя в розетку.
- 15 УТИЛИЗАЦИЯ, СРОК СЛУЖБЫ, ГАРАНТИЙНЫЙ СРОК