Водонагреватели Gorenje TGU200NGB6 - инструкция пользователя по применению, эксплуатации и установке на русском языке. Мы надеемся, она поможет вам решить возникшие у вас вопросы при эксплуатации техники.
Если остались вопросы, задайте их в комментариях после инструкции.
"Загружаем инструкцию", означает, что нужно подождать пока файл загрузится и можно будет его читать онлайн. Некоторые инструкции очень большие и время их появления зависит от вашей скорости интернета.

KK
7
НАЗАР АУДАРЫҢЫЗ: Жылытқышты бөлшектер алдында ол электр
желісінен ажыратылғанына көз жеткізіңіз!
ҚОЛДАНУ ЖӘНЕ КҮТІМ ЖАСАУ
Сужылытқышты су құбырына және электр желісіне қосқаннан кейін пайдалануға
болады
. Аппараттағы судың температурасын зауыттық тәсілімен реттелген
термостат ұстап тұрады. Сіз жылытқыштың ішіндегі термостаттың орнату
бұрандасын айналдыра отырып, орнатуын өзгерте аласыз. Сіз 10 °С-дан 65 °С-
ға дейінгі қалаған температураны орната аласыз. Сізге зауыттық белгілеуін
өзгертуді ұсынамыз, себебі ол сізге электрэнергияның неғұрлым үнемді
тұтынуын және әк дағының минимальді пайда болуын қамтамасыз етеді.
Электр жылытқышы жұмысының индикаторы болып бақылау лампышасы
табылады. Сужылытқышта биметалл термометрі бар, ол сужылытқыштың
ішінде ыстық су болған жағдайда сағат тілі бағытында оң жаққа ауытқиды. Егер
Сіз ұзақ уақыт сужылытқышты пайдаланбайтын болсаңыз, оны электр желісінен
ажыратыңыз, сондай-ақ қатып қалуын болдырмау үшін ішіндегі суын төгіп
тастаңыз. Су сужылытқыштан оның жіберу тетігі арқылы ағып кетеді. Сондықтан
жинақтау барысында сақтандыру клапаны мен сужылытқыштың өткізу тетігі
арасында ерекше үштік немесе өткізу клапанын орналастыру ұсынылады.
Сужылытқышты сондай-ақ тікелей сақтандыру клапаны арқылы тұтқасын
немесе клапанның айналатын қалпақшасын жұмысын бақылау барысындағы
қажет қалпына бұрап босатуға болады.
Босату алдында сужылытқышты электржелісінен ажырату қажет, содан кейін
қоспалауыш кранындағы ыстық судың тұтқасын ашу керек. Суды жіберу түтігі
арқылы өткізгеннен кейін сужылытқышта судың шамалы көлемі қалады, ол
жылыту фланцының тесігі арқылы жылыту фланцын кетіргеннен кейін ағып
кетеді.
Сужылытқыштың сыртқы бөлшектерін жуғыш құралының әлсіз ерітіндісімен
тазартыңыз. Еріткіштер мен белсенді тазартқыш құралдарын пайдаланбаңыз.
Сізге сужылытқыштың жүйелі тексеруін жүргізіп отыруды ұсынамыз, себебі Сіз
оның мінсіз жұмысын және қызмет етуінің ұзақ мерзімін қамтамасыз етесіз.
Бірінші тексеруін жұмыс істеп бастағаннан кейін шамамен екі жылдан кейін
жүргізу қажет. Оны коррозияға қарсы қорғау анодының жағдайын тексеретін
уәкілетті маман орындауы керек және, қажеттілігі бойынша, қолданылған судың
сапасына, көлеміне және температурасына қастысты сужылытқыштың ішкі
бетінде жиналатын әк дақтарын тазартады.
Сіздің сужылытқышыңыздың жағдайына сәйкес сервистік қызметі тексергеннен
кейін Сізге келесі тексеру уақыты туралы ұсынысын береді. Коррозияға қарсы
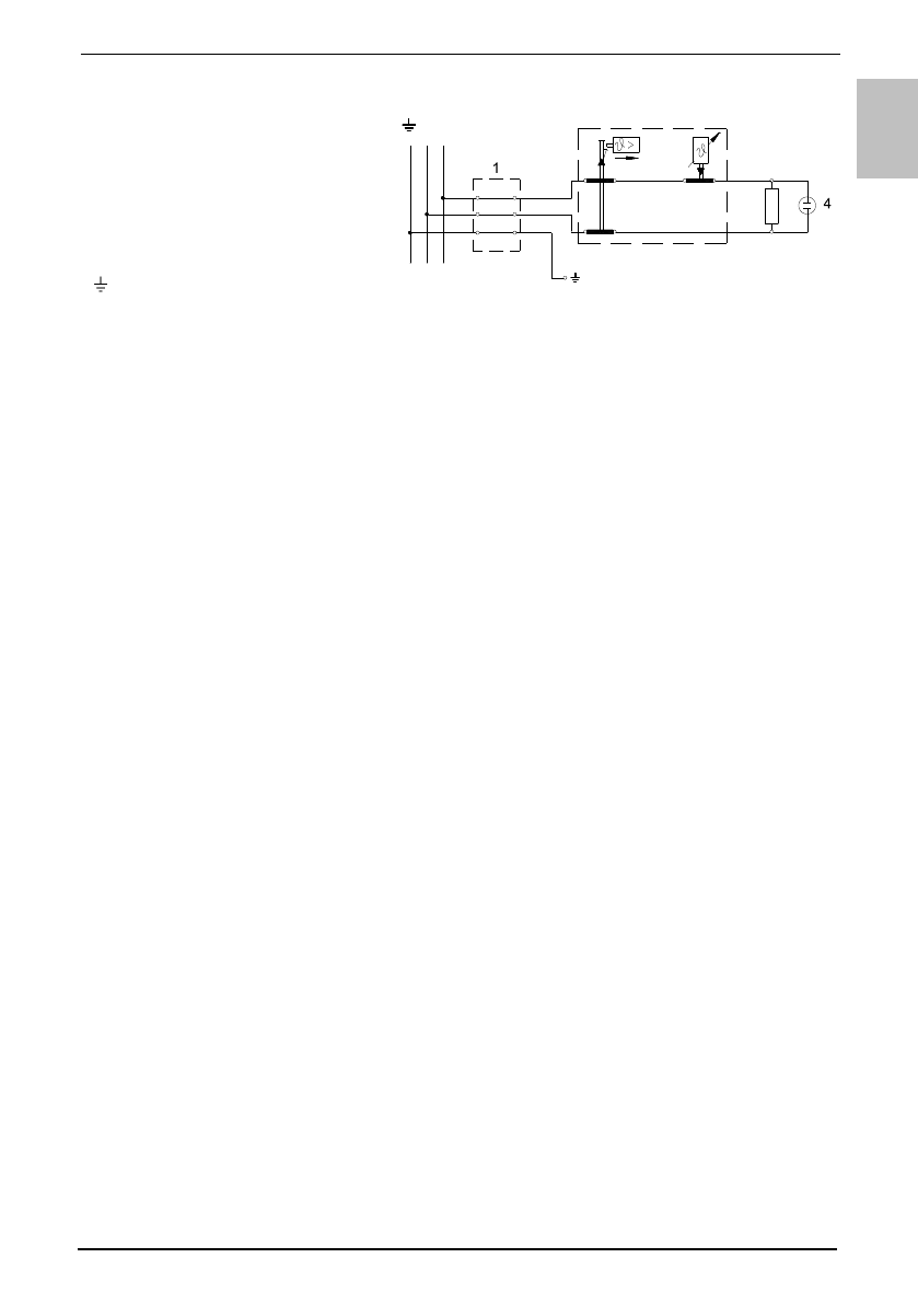
230 V~
L
N
3
2
Электрсхемасы
Аңыз:
1 - Жалғайтын қапсырмасы
2 - Термостат қосполюсты жылу
сақтандырғышы
3 - Жылытқыш
4 - Бақылау лампышасы
L - Фазалық өткізгіші
N - Бейтарап өткізгіші
- Қорғауыш өткізгіші













