Водонагреватели Gorenje TGU200NGB6 - инструкция пользователя по применению, эксплуатации и установке на русском языке. Мы надеемся, она поможет вам решить возникшие у вас вопросы при эксплуатации техники.
Если остались вопросы, задайте их в комментариях после инструкции.
"Загружаем инструкцию", означает, что нужно подождать пока файл загрузится и можно будет его читать онлайн. Некоторые инструкции очень большие и время их появления зависит от вашей скорости интернета.

S
R/M
NE
25
UPOZORENJE: Pre svake intervencije u unutrašnjosti bojlera obavezno
isključite bojler iz električne mreže!
UPOTREBA I ODRŽAVANJE
Posle priključivanja na vodovodnu i električnu mrežu bojler je spreman za upotrebu.
Temperaturu vode u bojleru automatski reguliše fabrički podešen termostat.
Temperatura se može podešavati okretanjem vijka na termostatu u unutrašnjosti
bojlera. Područje podešavanja se kreće od 10 do 65 °C. Ne preporučujemo vam da
menjate fabrički podešenu temperaturu jer je to temperatura na kojoj je potrošnja
električne energije ekonomična, a taloženje kamenca najmanje.
Za vreme rada električnog grejača se može čuti šum u bojleru. Rad električnog
grejača pokazuje kontrolna lampica. Bojler sa prednje strane ima bimetalni
termometar koji se naginje u smeru kretanja kazaljki na satu kada je u njemu topla
voda. Termometar okvirno prikazuje temperaturu vode i nije merni instrument. Ako
bojler ne nameravate da koristite duže vreme, isključite ga iz električne mreže. Ako
postoji opasnost da se voda u bojleru zamrzne, ispustite vodu iz bojlera. Voda iz
bojlera se ispušta kroz dovodnu cev bojlera. U tom cilju preporučljivo je prilikom
ugradnje između sigurnosnog ventila i dovodne cevi grejanja namestiti poseban
"fiting" (T-deo) ili ispusni ventil. Bojler takođe možete da ispraznite i neposredno kroz
sigurnosni ventil pomeranjem ručice, odnosno obrtne kapice ventila u položaj kao
prilikom proveravanja rada. Pre pražnjenja isključite bojler iz električne mreže i zatim
otvorite ručicu za toplu vodu na priključenoj bateriji za mešanje. Posle pražnjenja
vode kroz dovodnu cev, u bojleru ostaje manja količina vode koja ističe prilikom
odstranjivanja grejne prirubnice kroz otvor grejne prirubnice.
Kućište bojlera čistite blagim rastvorom praška za pranje. Ne upotrebljavajte
razređivače ni gruba sredstva za čišćenje.
Efikasno delovanje bez greški i dug životni vek bojlera omogućićete redovnim
servisnim pregledima. Za prerđali kotao garancija važi samo ako ste redovno vršili
propisane redovne preglede istrošenosti zaštitne anode. Period između pojedinačnih
redovnih pregleda ne sme da bude duži od 36 meseci. Preglede mora da obavi
ovlašćen serviser koji taj zahvat registruje na garantnom listu proizvoda. Kod
pregleda proverava istrošenost protikorozivne zaštitne anode i po potrebi očistiće
vodeni kamenac koji se, s obzirom na kvalitet, količinu i temperaturu potrošene vode,
skuplja u bojleru. Servisna služba će vam na osnovu utvrđenog stanja preporučiti
datum za narednu kontrolu.
Molimo da eventualne kvarove ne popravljate sami nego da o njima obavestite
230 V~
L
N
3
2
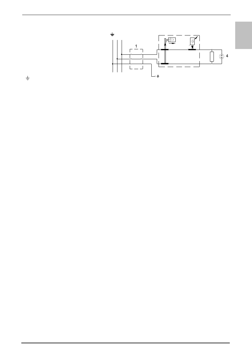
Šema povezivanja električnih provodnika
Legenda:
1 - Priključne kleme
2 - Termostat i dvopolni
toplotni osigurač
3 - Grejač
4 - Kontrolna svetiljka
L - Faza
N - Neutralni provodnik
- Uzemljenje













